rexresearch
rexresearch1


Henri COANDA
Coanda Effect


Henri Coanda


https://1lib.sk/book/5809396/788564/coanda-effect.html
Coanda Effect
Noor A Ahmed


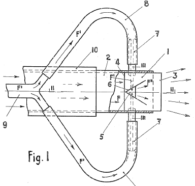
US2052869 -- Device for Deflecting a Stream of Elastic Fluid Projected into an Elastic Fluid
Henri Coanda
(Sept. 1, 1936)

It is an observed fact that when a stream or sheet of fluid issues through a suitable orifice, into another fluid, it will carry along with it a portion of the surrounding fluid, if its velocity is sufficient. In particular, if a sheet of gas at high velocity issues into an atmosphere of another gas of any kind, this will produce, at the point of discharge of the said sheet of gas, a suction effect, thus drawing forward the adjacent gas.

If, at the outlet of the fluid stream or sheet, there is set up an unbalancing effect on the flow of the surrounding fluid induced by said stream, the latter will move towards the side on which the flow of the surrounding fluid has been made more difficult.

It is thus evident that it will be possible, by a suitable checking of the surrounding fluid in one side of the orifice from which the fluid stream or sheet is discharged at high velocity, to act indirectly upon the direction of the issuing stream or sheet. In consequence, by the successive checking of the several layers of the fluid sheets on the proper side, if it is considered that the latter may be theoretically divided into layers to facilitate the demonstration, they may be made to follow any desired path.

Such is the object attained by the present invention, whose essential characteristic consists in the production of a determined unbalancing effect in the flow of the surrounding fluid induced by a sheet or stream of fluid which is discharged thereinto at high velocity.

For this purpose, the discharge orifices for the fluid each include, on the side toward which said sheet or stream is to be deflected, guiding means, for instance a flap which is suitably inclined according to the rate of flow and the velocity of the fluid, and said flap may be more or less extended and may be more or less inclined, according to the path which said stream is to be made to follow. On the other hand, by a proper knowledge of the physical constants of the surrounding fluid and of the fluid discharged into the same, it is possible to determine the optimum curve to be given to the means for guiding the stream, according to its rate of flow and velocity.

The invention further relates to the application of the said process for the deflection of fluid streams which penetrate with a high velocity into another fluid. In particular, it relates to its application to the change of direction of the direct reactions due to the abrupt discharges of one fluid into another, which reactions are even greatly increases by the fact that on the side which is not checked, the effect of suction is very greatly increased.

The accompanying diagrammatic drawing shows the direction of the streams of fluid which are discharged at high speed into another fluid through a nozzle, in the case of an equilibrium or lack of equilibrium of the facilities of withdrawal of the surrounding fluid at the sides of the stream.

Figure 1 shows the free discharge of a fluid stream 1, issuing from a nozzle, for instance, whose cross section has the form of a slot 2, also showing the induced flow of the surrounding fluid according to the arrows 3.

Figure 3 shows the checking of the surrounding fluid on one side of the stream by means of a flap 4 which prevents the flow of the surrounding air from space 5, and also the deflection, according to the arrows 3,of the issuing stream discharged from said nozzle.

Figure 3 represents the flap 4 which is extended according to a given outline, thus producing a strong suction, at 6, of a stream which is entirely turned about, according to the arrows 7. This will eliminate the impact upon the surrounding fluid, which occurs in front of a sheet of fluid discharged at high velocity into another fluid.


US2108652 -- Propelling Device 


US2131472 -- Motor  


US2157281 -- Propelling Device 


US2173549 -- Silencer for Engines  


US2173550 -- Exhaust of Gases from Engines  


US2187342 -- Exhaust of Gases from Engines


US2198655 -- Device for Facilitating the Discharge of a Gas Under Pressure  


US2699644 -- Hydropropeller  



US2770501 -- Means for the Atomization of Liquids   


US2796147 -- Cyclone Separator   


US2803591 -- Apparatus for Purification of Undrinkable Water   


US2907557 -- Apparatus for Imparting Rapid Speed to a Mass of Fluid   


US2920448 -- Apparatus for Imparting Rapid Speed to a Mass of Fluid  



US2939654 -- Device for Simultaneous Control of Lifting & Directional Elements  


US2964306 -- Thermo-Blower   



US2988139 -- Spraying Device   


US2988303 -- Jet-Sustained Aircraft  


US2990103 -- Jet Exhauster   


US3047208 -- Device for Imparting Movement to Gases   


US3261162 -- Lifting Apparatus   


US3284318 -- Apparatus for Recovering Heat Released by Condensation of a Vaporized Liquid   


US3321891 -- Apparatus for Transporting Atomizable Material  


US3337121 -- Fluid Propulsion System  


US3410758 -- Water-Purifying Apparatus 


US3685614 -- Method & Apparatus for Attenuating Noise...   




Scientific American (1980
"Applications of the Coanda Effect"

Imants Rebs



Patents

AU2020281012  -- Apparatuses Based on Jet-Effect and Thermoelectric Effect

CA3082768  -- WATER INTAKE STRUCTURE

CN111520762  -- Novel combustion chamber based on principle of vortex control diffuser
CN115635504  -- NEGATIVE PRESSURE GENERATING DEVICE AND SUCTION GRIPPER
CN218133802  -- Air knife and air blowing device
CN115465445  -- Control-surface-free airfoil lift device based on feedback-free oscillation jet flow
CN111810427  -- Super-long-range fan structure based on Coanda effect
CN210906938  -- Ultrasonic jet pipe 
CN111204455  -- Disc wing aircraft 
CN110871878  -- Novel water-spraying propelling device 
CN209840755  -- Fluid air cooler capable of being fully cooled based on Coanda effect principle 
CN120350518 -- Spray head and washing equipment
CN120332799 -- Annular fluid oscillator nozzle combustion chamber
CN120304632 -- Air blower capable of increasing air flow based on negative pressure flow increasing structure
CN120274472 -- Ice making device and ice maker
CN120140272 -- Industrial fan
CN222889959 -- Liquid film type cyclone separator based on coanda effect inlet
CN119885311 -- Design optimization method for deep sea mineral resource ore collection head based on coanda effect
CN222688116 -- Heat dissipation device based on air multiplication and stage lamp with same
CN222688285 -- Energy gathering ring and stove
CN222228796  -- Double-cavity series piezoelectric pump based on coanda effect jet element
CN119058597  -- Defrosting method and device and vehicle
CN222067178  -- Fan for changing air outlet direction by using coanda effect and air purification equipment
CN118992094  -- Efficient power lift augmentation type ground effect aircraft
CN118236879  -- Optimized fluid guiding device based on Archimedes spiral and Coanda effect
CN118238964  -- Grabbing and sucking integrated underwater mechanical gripper based on coanda effect
CN221169770  -- Thrust vectoring nozzle based on coanda effect
CN118004415  -- Rotor aircraft
CN220769455  -- Seabed mining device
CN117682117  -- Tilting transformation vertical take-off and landing aircraft based on coanda effect
CN117682116  -- Full-flexible body unmanned aerial vehicle based on coanda effect
CN220505449  --Novel undisturbed dredging jet pump
CN117262180  -- Underwater propelling and steering integrated propeller
CN212962030 -- Self-enhancement exhaust device 
CN112572773  -- Wing high-lift device and wing high-lift method 
CN212732863  -- Novel air knife suitable for rapid solidification of liquid film 
CN112282857  -- Air film cooling hole pattern structure 
CN112343600  -- Novel seabed ore collecting equipment based on Coanda effect and ore collecting method thereof 
CN112324517  -- Design method of air film cooling hole with Coanda bulge 
CN116816310  -- Underground flow channel type flow selection controller based on Tesla valve
CN116639239  -- Fluid propeller based on coanda effect
CN219291090  -- Optimized fluid guiding device based on Archimedes spiral and Coanda effect
CN115788953  -- Coanda jet blade, impeller and axial flow compressor 
CN116006351  -- Bladeless hollow aero-engine and rocket 
CN112937851  -- Vertical take-off and landing fixed-wing aircraft using coanda effect for lift augmentation 
CN216994813  -- Jet propeller 
CN114524072  -- Full-revolving propeller based on Coanda effect 
CN113894024  -- Novel air knife suitable for rapid solidification of liquid film 
CN113859517  -- Blowing and high-lift device for upper surface of wing of ducted fan of electric aircraft 

ES1311576  -- POWER GENERATING DEVICE

GB2597442  -- Vortex generators for jet fans 

JP2025038374   -- COANDA...
JP2023087318  -- VEHICULAR AIR CONDITIONER A BLADE TYPE WINDMILL
JP2022178344  -- WIND POWER GENERATION BOAT 
JP2022117796  -- PROPULSION UNIT AND HYDROFOIL CRAFT WITH THE SAME 

KR102627406  -- Wind power generator with venturi tube and coanda nozzle for ship
KR20240083377  -- Combustors using the Coanda Effect
KR20240094345  -- Fluid Supply Apparatus
KR20230057164  -- A VORTEX RING THRUSTER USING THE COANDA EFFECT
KR20230094685  -- PRE-SWIRL STATOR HAVING COANDA EFFECT
KR20230015766  -- AIR MOBILITY 
KR20220149046  -- WIND-FREE AIR VENT FOR VEHICLES 
KR20220103396  -- Ship propulsion system equipped with flow control module 
KR20220067052  -- Propellar system for vessel 
KR20220067666  -- Ship propulsion system 
KR20210060276  -- AIR VENTILATION APPARATUS FOR VEHICLE USING COANDA EFFECT 

RO137290  -- AERIAL VEHICLE WHICH MOVES BY USING THE AIR JET FLOWING ALONG AN AERODYNAMIC PROFILE 
RO137102  -- AIR VEHICLE USING GAS DYNAMIC EFFECT OF AIR JET FLOWING ALONG A PROFILED WALL FOR INCREASING LIFTING FORCE 
RO138303  -- HYBRID REACTIVE PROPELLER WITH COANDĂ EFFECT AND FLYING-TAXI AIRCRAFT USING IT
RO133846  -- PROPULSION UNIT AND VERTICAL TAKE-OFF AND LANDING AIRCRAFTS 

RU2731801  --  DISCHARGE DEVICE WITH STABILIZING DEVICE CREATING A COANDA EFFECT 

WO2024112314  -- METHOD FOR DEFLECTING A FLOW USING THE REVERSE COANDA EFFECT
WO2024060633   -- AIRCRAFT WING HAVING INTEGRATED DISTRIBUTED DUCTED FAN, AND ELECTRIC AIRCRAFT
WO2021208959  -- AIR AMPLIFIER VENTILATION (AAV) SYSTEM 
WO2020107093  -- AERODYNE WITH A PROPULSIVE SAUCER FOR COANDA EFFECT PROPULSION 
WO2025068808 -- AN APPARATUS FOR CREATING FORCED VORTEX

US4446695 -- Aircraft Propulsion Assembly
US4478378 -- Aircraft with Jet Propulsion
US4537371 -- Coanda Effect Bullet

US4568042 -- Internal Wing Aircraft

US4579300 -- Internal Wing Aircraft

US4442986 -- Leading Edge Augmentor...

US5067509 -- Gas Jet Actuator Using Coanda Effect

US5085039 -- Coanda Phenomena Combustor

US5097660 -- Coanda Effect Turbine Nozzle Vane Cooling

US5293946 -- Divergent Fluid Nozzle for Drilling Tool

US5545063 -- Chambered Anti-Coanda Jet Marine Propulsion Device...

US5601047 -- Dual-Cavitating Hydrofoil Structures

US5658141 -- Device for Spreading A Flame by the Coanda Effect

US4069977 -- Jet engine tail pipe flow deflector 

US4078498 -- Single power unit air propelled system

US4146197 -- Boundary layer scoop for the enhancement of Coanda effect...
 
US4266142 -- Fluid system and method
  
US4261516 -- Air Nozzle
  
US4341643 -- Settling tanks for waste disposal  

US4348168 -- Process and apparatus for atomizing and burning liquid fuels    

US4392621 -- Directional control of engine exhaust thrust vector in a STOL-type aircraft 
 
US4405296 -- Metallic particle generation device   

US5601047 -- Dual-Cavitating Hydrofoil Structures

US5658141 -- Device for Spreading A Flame by the Coanda Effect
  PDF ]
US5732478 --  Forced air vacuum drying 

US5749161 -- Motor vehicle dryer with Coanda effect drying 

US5884360 -- Nozzle arrangement and use thereof   
US5732478 --  Forced Air Vacuum Drying

US5749161 -- Motor Vehicle Dryer with Coanda Effect

US5884360 -- Nozzle Arrangement  

US5974802 -- Exhaust Gas Recirculation System...

US6000635 -- Exhaust Nozzle for a Turbojet Engine

US6039269 -- Coanda Effect Nozzle

US6234169 -- Inhaler

US6240911 -- Air Amplifier

US11786908  -- Autogenous impact mill that reduces size of friable material

US2025215903  -- ELECTROHYDRODYNAMIC GAS FLOWRATE AMPLIFIER FOR GENERATING A GAS FLOW
US2023330714  -- COANDA EFFECT INDUCED LAMELLAE CLEANING SYSTEM FOR WASTEWATER... 
US2021268532  -- NOZZLE DEVICE 
US2022173299   -- Apparatuses Based on Jet-Effect and Thermoelectric Effect 
US2022081111   -- Vertical Take-Off and Landing Unmanned Aerial Vehicle...
US2022074384  --  FLUID FLOW ENERGY EXTRACTION SYSTEM AND METHOD RELATED THERETO 
US2023093100  -- FLUID SUPPLY APPARATUS FOR INDUCING CAVITATION AND COANDA EFFECTS 
US2023033764  -- AEROSOL GENERATING DEVICE 
US2022386441  -- DEVICE FOR CONTAINING AND ACCELERATING PLASMA ... THE COANDA EFFECT
US2025020321 -- GAS-AIR MIXING STRUCTURE AND BURNER