rexresearch.com


Justin CHRISTOFLEAU
ElectroCulture

[ Thanks to Michael Sipos for retrieving & sharing this information ]

ElectroCulture

by Justin Christofleau
[ PDF -- 20 MB ]
























Patents


Electromagnetic Fertilisator
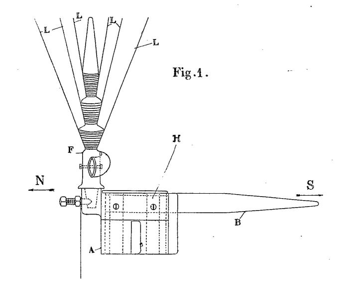
FR 829789



For soon 20 years when electroculture is extended from the laboratory to enter the practice, the results obtained each year since this epoch, have shown the triumphal running of this large progress.

The purpose of the apparatus represented here is a larger power of collecting of the electromagnetic forces of the nature, so that used with the fertilization of the ground, the results obtained in electroculture are further increased.

The shape of execution of the object of the invention was given as example in the annexed drawings which show: . 1, a view in end of the apparatus South side; . 2, a view in elevation; . 3, a plan view.

In these figures the same letters of references indicate the same portions always. The apparatus is consisted a cast iron A part, in the shape of elongated, supporting magnet on its walls a certain number of fins C. It is finished Sud side in the shape of tip B, this to facilitate the collecting of the terrestrial magnetism moving the South one with the North one always. The fins come from cast iron with the body of the apparatus. At the base of the apparatus, between the 2 poles of part A in form of magnet, pass a metal ranging D, maintained at an equal distance from the 2 poles of the magnet, by an insulating part E, held by small bars I coming of cast iron with the body of the apparatus. - This metal ranging follows the apparatus in all its length and is bent; to pass in an opening G, spared in the flange of the apparatus where it is bolted.

The operation of the apparatus is the following one: The apparatus is hidden in the earth with one depth such as it cannot be reached more by the passage of the ploughing implements. It is rigorously directed magnetic SudNord, the tip B with South, in order to collect the magnetic currents which move the South one to the North one. As soon covered with earth, the negative electricity whose sphere is loaded precipitates on the apparatus. The fins C are used then as antennas to attract the electricity of the earth to mass A and as the experiment showed that the larger the contact of the apparatus with the earth was, larger was its capacity of collecting, the fins are thus surfaces intended to increase the contact of the apparatus with the earth.

They play also another role. When a soft iron bar is placed in the direction of the needle of the compass, it is as soon traversed by a current. All the fins being on the apparatus are thus traversed by this current which comes to already join the body of the loaded apparatus of the negative electricity of the ground. Mass A thus becomes a formidable loaded magnet of negative electricity of the earth. When the apparatus is in place, the two poles into low, one of the fins is placed on the top of the apparatus aiming at the vertical currents of the atmosphere which are attracted by induction with the formed mass by the apparatus. The purpose of the fins which are in the East and the West of the apparatus are collecting of the earth currents. So that the circuit is not closed between the 2 poles of the apparatus, a metal ranging D, pass between these 2 poles, maintained by an insulating part E, collects of it the energy and brings it to the head of the apparatus Nord side, where it taken and is bolted in an opening G, in such way that all the negative of earth and positive energy of the atmosphere, being able to be collected by the apparatus, arrives at the end of the stem D from where it escapes from the apparatus by a driver H which will distribute it in the cultivated basement.
The forms, dimensions and materials employed for the construction of the apparatus susdécrit, can vary without changing into anything the object of the invention.



CH172269
Apparatus of electroculture




Present invention relates to an appa reil of electroculture entirely subterranean, the purpose of which is collecting the currents élec cudgels of the ground and a small amount of électri quoted static.

[Sorts the shape of execution of the object of in vention was represented, as example, in the annexed drawings which show: . 1 one transfers in elevation of the apparatus, . 2 naked view out of longitudinal cut, . 3 a view cry plane, . #l. a view cry crosses following X there of . 1, . U a view cry plane of the apparatus in operating position under the earth with fate network (the son distributors.

The body of the apparatus is formed by a mass of magnetic metal A in the iron shape with< B> U,< /B> finished south side by a tip B intended for the collecting of the currents diri giant of south for north magnetic.

In order to collect the earth currents moving in general East-West and sometimes West-east, a magnetic metal plate C supporting on each side of the frayed teeth, is attached on the top of the apparatus, such way that all the currents of the earth will be easily collected by the teeth of this plate. The plate is also finished south side by a very frayed tail, intended with, to increase the capacity of collecting of the similar ap of the currents moving the south one with north magnetic.

The apparatus door on the top a series of frayed D, attached tips in the mass. North side, the apparatus ends in a way of nose E supporting a small opening intended to receive a bolt F to fix at the apparatus the wire network distributors G of the forces electrical collected.

In order to give a perfect contact between conducting wire forming the network, of the clamping pieces H in two parts in me tal magnetic; are clamped highly using bolts by imprisoning wire in suitable grooves. The wire constituting the subterranean network are placed, as well as the apparatus, in the direction of the needle of the compass.



FR764497
New apparatus of electroculture



After exposed electricity of the nature, and especially since the biologists showed us that the ground was something of living, of many seekers thought of increasing the microbial life of the ground, while attracting, on the part where one wished to increase the vegetation, the electricity of the nature, source of life of all that lives on the earth, knowing that where the electricity would be attracted and concentrated, there would be more life, consequently an increase of the vegetation and also an increase of the biological qualities of this vegetation.

To arrive at this purpose. one built amount of slight apparatuses which had, to collect the electricity, to be placed on a mast raised with a certain height above the ground. But the presence of these masts in the cultivated earths, obstructed the ploughings considerably; in the pastures, they were inverted by cattle; and near the dwellings they harmed aesthetic of the properties. Moreover, the apparatuses raised in space, while bringing to the ground a large static quantity of electricity, increased it is true in considerable proportions the quality of the products and also the amount of the crops, but daN, S certain cases, for example for cereals the static electricity increasing the development of vegetal especially, it arrived that those, because of their size were subjects with pours.

The purpose of the present invention, concerning an apparatus entirely subterranean, is curing especially this disadvantage by removing the expensive and disgracieux masts initially, and into decreasing the collecting of the static electricity of the air, to take a larger amount of the currents of the earth concurrent to the increase of the crops in amount and quality, but not in the gigantic face; consequently removing by there the causes of pours. In a word, the purpose of the apparatus is increasing the crops as well in amount as in quality, but by a method which approaches more the nature, that when one will only seek the electricity with a certain height above the ground.

The shape of execution of the object of the invention was represented, as example, in the annexed drawings which show: . 1, a view in elevation of the apparatus; . 2, a view out of longitudinal cut; . 3, a plan view; . 4, a view out of cut following X there; . 5, a plan view of the apparatus in function under the earth with its wire distributors network.

In these figures the same letters of references indicate the same portions always.

The body of the apparatus is formed by a mass of magnetic metal A in the iron shape with U, finished with dimensions south by a tip B intended for the magnetic collecting of the currents moving south-north. The shape out of U is intended to reinforce these currents crossing the apparatus.

In order to collect the earth currents moving in general East-West and sometimes west-east, a magnetic metal plate C supporting on each side of the frayed teeth, is attached on the top of the apparatus, such way that all the currents of the earth attracted with the apparatus by its mass, will be easily collected by the teeth of this plate. The plate is also finished, south side, by a very frayed tail intended to increase the capacity of collecting of apparatus of the currents moving south-north magnetic.

The apparatus door on the top a series of frayed tips D attached in the mass, intended to collect by induction through the layer of earth which covers them, a small amount of positive electricity of the atmosphere.
North side, the apparatus ends in a way of nose E supporting a small opening intended to receive a bolt F to fix at the apparatus the wire network distributors G of the electrical forces collected.

In order to give a perfect contact between conducting wire forming the network, a double small part H in magnetic metal is clamped highly, using a bolt, one against the other, imprisoning the end of wire in a suitable groove.

The wire constituting the subterranean network being placed as well as the apparatus, in the direction of the needle of the compass, are traversed by the terrestrial magnetism, under the terms of the quite known phenomenon, that if one place a bar of soft iron in the direction of the needle of the compass, this bar is immediately traversed by the magnetic current moving south-north and àcquiert immediately two poles.
This network thus made up would be already capable to retain with the passage a large amount of the negative earth currents moving East-West and sometimes ouestest, very favourable with the vegetation, but as it will receive the small amount of positive electricity collected by induction by the apparatus and thrust in the network by the terrestrial magnetism, the positive electricity which will be thus distributed in the network will attract there more and will retain there a large part of the earth currents; what will have as consequence that the earth part where this network will function, will have accumulated the arable layer on a formed magnetic field by the negative electricity of the ground and the positive electricity of the atmosphere, there by the apparatus and the network.

In addition, in the vegetal ones which will be on this terrane and which is used already usually as drivers between the positive electricity of the atmosphere and that negative of the earth, to and from of these two electricities will be increased in considerable proportions and vitality will be increased in the proportions where this exchange of the two electricities already making will be increased live all that lives on the earth. In a word, the subterranean apparatus and its network, support and increase the play of the electrical forces of the nature chairing already the life of vegetal not subjected to the action of the apparatuses.

Moreover, as the electricity of the nature is the source of life of all that lives on the earth; the concentration of the natural electricity in the cultivated basement will develop to with it the microbial life absolutely necessary with the life of vegetal and their good health.

The forms, dimensions, details and materials employed for the construction of the apparatus know-described, can vary without changing into anything the object of the invention.



FR684117
Protective electromagnet for young plants




The present invention has as an object an apparatus intended to protect the young plants against the slugs and snails which devour them. Moreover, this apparatus forming frame, makes it possible if it is wished, to sow earth seeds full and to obtain a larger speed of germination than in the ordinary frames and to avoid being obliged to replant the plant which, thus, shoot where it raised. This apparatus allows moreover a faster growth of the plant.

The shape of execution of the object of the invention was represented as example in the annexed drawings which show: . 1 a view out of cut of following apparatus AB. . a plan view of the apparatus. In these figures the same letters of references indicate the same portions always.

This apparatus is composed of a small circular reservoir C intended to receive water, with an hole at the center D reserved for the site of the plant, either that it there or transplanted into outgoing of the frame, or that one sows called seed there to give this plant. In this last case the seeds are put in the earth at the center of the opening D which is covered by a small tile with glass pane E the purpose of which is forming frame and to accelerate the germination of seeds and the growth of the young plant. When the plant arrives at the tile of glass pane, this one is removed and of water is put continuously in the throat of the reservoir C which will be sufficiently large so that slugs or snails cannot pass to reach the plant and often to devour it like that product by wet times.

Moreover as the apparatus is in magnetic metal and than it rests on the earth, it takes care rapidly of negative electricity of the earth, at the same time as it attracts with him the electromagnetic waves and other positive currents of the atmosphere. The plant is surrounded at its base of a formed magnetic field by the currents which circulate in the metal forming the basin which surrounds it and active its power of vegetation, its richness in nutrient qualities and also its maturity.

It is clearly understood that forms, dimensions, details, and materials employed for the construction of the apparatus, can vary without changing the object of the invention.



CH118648
Apparatus to collect atmospheric electricity



The drawing represents, as example, the shape of execution of the apparatus, by the EM - ploi of which inventor A. obtained D sultats of electroculture interesting.

1 of it is a view in elevation, 2 a plan view.

The apparatus represented comprise a canister intended for, being attached with top of a post, with height wanted in the atmos phère. This box door a tail B in me tal magnetic, directed towards the South one. It present moreover a housing in which is placed base of a stem I' in metal of which the axis vertical and around the end périeure is known of which are laid out a beam of metallic antennas flexible L of which which ques-ones only are represented.

On two lateral faces .de la box are laid out of the steel plates magnetized. antennas collect the electricity of the ambient air and those coming from the induction of the clouds, under the terms of the capacity of the tips.

These same the purpose of antennas L are moreover producing electricity (of rubs lies) in vibrating under the effect of a slow wind vio.

The top of box A is consisted one zinc basin in the hollow .de laquelle one is attached a copper plate



FR552892
Conducting Shoe


The purpose of the present invention is a considerable improvement in the current design and the construction industry of the shoe.

Since a large number of years, many scientists, belonging a little in all the countries of-world, showed that the man and the plant were subjected to the same laws of the nature, that one and the other had requirement to develop in a normal way, to be in contact with the forces of the nature and especially with the earth.

The plant living out of pot and apartment, insulated of the earth, needs to develop in an addition of food to cure the deprivation of the telluric electricity and of that the flowing ambient air through its branches when it is in full earth.

It is the same for the human beings, of the men deprived of garments and going naked feet, setting on the earth, constantly in contact with the forces of the nature, develop normally and acquire a large force with an insignificant food; whereas the people covering garments and locking up their feet in shoes which isolate them from the ground, need, to maintain their vitality, of a food much more abundant and much richer to compensate for the forces of the nature from which they are insulated by their garments and especially by their shoes. As the potted plant they are private telluric electricity, of that of the ambient air, which cannot circulate through their body.

To prevent that the shoe in which the foot is locked up, isolates the human body from the earth, it is necessary to make cross the shoe by one or more small metal ranging, good conducting of the electricity, resting of an end on the earth and other end in contact with the foot locked up in the shoe.

The shape of execution of the object of. the invention is given here, as example only, in the annexed drawing which watch: . 1, a view out of cut of a bead of shoe provided with one with these stems; . 2, a plan view of this bead.

A bead of shoe A is crossed in all its height by a metallic screw B with wide head of resting foot on this screw will be put by it in contact with the earth, thus allowing the passage, the exchange and the combination, through the human body, of the telluric and atmospheric electricities. ! It residue of course that the number of these stems; is not limited, that they can be placed at one, unspecified place of the sour chaus- which enables them to touch of an end to the earth and other end the foot, and that the forms, dimensions, details and metals employed, can vary without changing the object of the invention.



FR628803
Electromagnetic bell



Until present, to increase the growth rate of the plants and their maturity, one covered them with a bell out of glass or a glazed frame, having for purpose letting penetrate in the Inner one of the bell or the frame, the light and the rays of the sun, and, by withdrawing them from the abrupt variations of the outer temperature, preserve around them the atmosphere of determined heat by the radiation of the earth under the green surfaces neck, and the rays of the sun passing through the glass and heating the ambient air under the bells or frame.

It is obvious that the culture of the plants under glass can increase the growth rate and the maturity, for the explained reasons higher, but with the detriment of the quality of the vegetal products, because these principles are in obvious contradiction with the laws of the nature. All the vegetal ones whatever they are, have sheets eL branches, all provided of serrations around the sheets, or small barbs, which are as many small sensors intended to receive on these antennas of which A provided nature, the forces of electrical origin to the latent state in the atmosphere. Gold the plants cultivated under glass, are completely insulated these various electrical forces to which from the laws of the nature quote are called to ask life, like-all what lives on the earth, thus that show it multiple small the year tend natural they are provided. In locking up the plants under bells or frames glass panes, these plants are, by the glass, insulated of the electrical forces of the nature, it who night enormously with the speed rise nelle of the sap in the vegetal ones and with their richness in nutrient qualities.

The purpose of the present invention is bringing inside the bells, frame and mssme greenhouses, electricity of the ambient air and it my terrestrial gnetism.

The shape of execution of the object of the invention was represented, as exeraple, in the annexed drawings which show:

1, a view out of cut of the apparatus has, a view one crosses of a simplified apparatus.

This apparatus is composed of a bell in pierced glass A of two holes B to his part known prioress, intend to let pass two wire metallic of different nature, for example an iron wire galvanized D and a copper C wire.

The iron wire galvanized D is, bent with its upper part, in such way that it pre a tip feels towards the south one, in order to collect the terrestrial magnetism moving the south one with the north one. The copper C wire is finished in tip and is directed towards the sky, in order to collect by this tip, the static electricity of the ambient air.

These two wire are had together with a certain distance of their upper end, by some towers of rolling up and a spot weld F, cross the bell by the holes B, and come to be inserted in the earth E under the bell, each one has an opposite base; the iron wire galvanized D at the south base of the bell, the copper G wire at the magnetic north base.

As these wire are different metals, depressed in the earth they form a stack whose circuit is closed by the moisture of the earth, and as the two pals are depressed in the earth at the Intérieure base of the bell, one with south, 1 ' other with north, the circuit closing themselves by the moisture of the earth, bathes its ellluves constantly the roots of the called plants G has to grow at the center of the bell. To the product of this small formed stack by the two different metals, still comes to join the terrestrial magnetism collected by the tensioned tip D towards the south one, the static electricity of the ambient air collected by the tip eflilée of the copper C fìl tensioned towards the sky.

Gold it is shown today that the élec- static tricity of the atmosphere gives to the plants a faster growth, a végé- more abundant tation, and the terrestrial magnetism brings an addition of richness to them which appears by an increase of the frue- - tification and an increase out of alcohol and sugar and other nutrient qualities revealed each time one makes the analysis of it.

One can to still bring under the bell the electrical forces of the atmosphere, to be useful itself of only one wire H finished by two branches; one I turned towards the south one to collect the terrestrial magnetism, and the other J towards the sky to collect the static electricity of the ambient air, and enfoneant other end in the earth E under the bell, fiv. 9.

This Mrs. apparatus appli (read also à= any covered surface out of glass, or transparent material being able tre bushing by the lutnière or the rays of the sun, such as frame, greenhouses, etc

One can still use the apparatus GD, and the apparatus H, single, for the earth plants full.

The forms, dimensions, details and materials employed for the construction of the know-described apparatuses, can vary without changing into anything the object of the invention, of Mrs. that the number of the drivers employed which were given here only as example.

SUMMARY.

The possibility bring to the plants pushing under bells or frame, electrical forces of the atmosphere of which they are insulated by the glass or another transparent material of which one is used for oneself usually to cover them,

Maybe by employing two formed stems of two different metals, one finished in tip directed towards the sky to collect the static électri- quoted of the ambient air, the other finished in tensioned tip towards the south one to collect the terrestrial magnetism moving the south one with the north one. These two stems joined together then together close to their upper end, cross the bell by two spared holes to this etfet and. are depressed in the earth under the bell, in such way that the circuit is closed by the earth and forms stack, and that the roots of the plants are taken in this circuit;

Or by means of a metal ranging supporting two branches, one directed towards the sky, different I' towards the south one, and crossing the glazed surface, bells, frame, greenhouses, etc to be inserted then in the earth and to bring to the plants the electrical forces of the atmo- sphere of which they are insulated by the glass or another transparent material of which one himself-is useful usually to cover them.



FR630219
Electromagnetic incubator

Since a large number of years the phy- sicians of all the countries recognized that it was enough to place a soft iron bank in the direction of the needle of the compass, so that immediately this bar is bushing by the magnetic currents moving the south one with the north one always. II has be also proven by scientists belonging with all country of world, that Félectricité natural, not only played a considerable role in the vegetation, but still that this élee- tricity has the latent state in the atmosphere, and especially the terrestrial magnetism, were the source of life of all that saw on the earth, that it is for the plants, the human ones or the animals. It is absolutely die shown today, in a precise way, that a magnetic field created by a series of soft iron bars placed in the direction of the needle of the compass, put around any tre living, increases its vitality in considerable proportions.

The purpose of the present invention is thus showing the application of this principle with the pondoirs and incubators.

The shape of execution of the object of the inven- tion was represented as example in the annexed drawings which show:

Fig.i, one. view out of cut of an incubator;

. 2, a view in elevation of the closed incubator;

. 3, a view in elevation of the open incubator.

The incubator is composed of a bolte A, provided on all its inner surface, of small soft iron bars B. In this boot are put eggs A to brood, and when the chicken or any other poultry, is coated on its eggs, one flap the cover C which is him also provided with small soft iron bars B, so that the chicken is entirely surrounded by soft iron bars, of which one their ends, finished in tip, is turned side of the south one, and the other on the side of north magnetic. Being given the orientation of the bars with which is provided the box to brood on all its inner surface, the chicken which broods thus finds entirely surrounded by these bars which, because of their orientation create around it a magnetic field which wraps it entirely, read a vitality gives which enables him to achieve until the end and almost without tiredness its task. The eggs which are also bathed by this magnetic field, make it possible future chicks to acquire Mrs. before their rise, a vitality much larger than that which they can obtain in any case where the chickens brood in an unspecified nest.

The cover C east constitutes by a series of soft iron bars B go up on a frame. While the chicken broods and especially pendent the night, the cover C is undercrust on box A, and the movable wall D is raised, so that the boot is quite closed (. 2), so that the destructive rats and other animals cannot go to importune chicken, and same with the requirement destroying the eggs which it broods.

When the chicken owes tre released pendent the day so that it can leave for Ali menter, the cover C is raised and the lowered wall D (. 3). It is of Mrs. when the small chicks are hatched. The wall D is lowered so that they can leave limps and to walk. The chicken and the chicks having returned again, the wall D is closed again, as well as the cover C.

The explanation above watch the utility of this box for the incubators, but being given the advantages which one has has to make live the animals in the middle of a magnetic field, a series of boots A can tre placed the ones beside the others, and by removing the cover C, they will constitute a series of pondoirs of which the number is limited only by the requirements of the hen house.

These principles can tre appli- also qués with the artificial incubators.

The forms, dimensions, details and materials employed for the construction of the apparatus susdécrit, can vary without changing into anything the object of the invention.



FR812689
Thermo-electro-magnetic stack




Since exposed electricity of the nature, the man ingénié himself to domesticate it with his profit. The experiments made by the scientists of all the countries of the world showed, as the years were passed, that this invisible force whose they could measure the effectiveness, was the source of life of all that lives on the earth. Also many were the tests of collecting of this fluid mysterious to increase it around the living organisms, in order to increase their vitality by it, with variable successes according to the scientific value of the used apparatuses. The purpose of the present invention is to join together in the same apparatus a thermoelectric stack, using for its operation the changes of temperature, and a sensor amplifier of the electromagnetic forces of the nature in order to increase the vitality of any living organism which one can place at the center of the apparatus.
The shape of execution of the object of the invention was given as example in the annexed drawings which show.

. I, a general view of this apparatus. . 2, a view of the apparatus in the shape of nonclosed, ready circle to receive at the center, the living organisms which one wishes to increase vitality.

In these figures the same letters of references indicate the same portions always.

This apparatus is composed of a tube A, formed by a steel wire rolled up in spiral.

Inside the formed tube by these turns, is past a copper B wire, insulated over all its length, only stripped with the two ends in order to be in contact with each of the two ends of steel tube A where it is attached, thus forming a closed circuit. In this steel tube A is also locked up a wire of soft iron C, also insulated over all its length, except at the two ends.

The operation of the apparatus is the following one:

The electricity of the atmosphere is attracted by the whole of the apparatus which forms magnetic mass and its power is increased by its passage in the steel A wire rolled up in spiral, which becomes for this cause a sensor and an amplifier of the electromagnetic forces, atmospheric electricity.

As it spiral in steel A wire is connected at the two ends with the copper B fil', thus forming a closed circuit composed of two different metals, each time for an unspecified cause a change of temperature reaches the apparatus, this closed circuit, heated unequally, will become a small thermoelectric stack; In addition, the passage of these different electricity in the turns of the steel wire, magnetizes it and its two ends being very brought closer to the two ends of the soft iron wire C being inside the apparatus, it forms by induction a second closed circuit traversed constantly by the electromagnetic forces of the atmosphere. The apparatus being flexible, if one forms of it a nonclosed circle around the body of a man or an animal, the heat of this living organism makes increase the temperature in the apparatus. But as the nature of the metals forming this circuit is of different composition, the temperature increases more quickly in one of the metals than in the other and the apparatus becomes a thermoelectric stack. If this circle surrounds the foot of a shaft or a plant in full air, this stack will function each time the temperature of the ambient air changes. The apparatus is thus a double power source being able to be used to increase the vitality of the living organisms that one place in his magnetic field. One of these forces formed by the collecting of the waves electromagnetic and amplified by their passage through the turns of the apparatus, the other produced by the acting change of temperature on a formed closed circuit by two metals of different composition.

The forms, dimensions, details and metals employed in the composition of the apparatus, can vary without changing into anything the object of the invention.



FR804141
Electromagnetic lighting apparatus

Since long years of many scientists noticed the role .bienfaisant of the electricity of the nature on the life of the plants and same on all as there is the living one on the earth.

The workings .de these many scientists, studied, condensed, bringing .des irrefutable proofs of the increase of the life everywhere where the electricity of the nature was increased, have given rise with electroculture, i.e. with the culture of the plants by means of the natural electricity collected by apparatuses special and drained in the .cultivé basement where one wants to obtain an addition of vegetation.

There is today in all the countries of the making world of the experimenters, of improved results according to the quality of the apparatuses of which they make use for collecting of the natural electricity and its mode of distribution in the cultivated basement.

But whatever the mode of collecting that the experimenters employ, it is a point on which they all arrive at the same purpose, i.e. if a living organism is placed in a magnetic field created by the single electrical forces of the nature, collected, drained, increased on the point where one wants to increase the life, the life increases on this point in the same proportions where the natural quantity of electricity there was amplified.

All these workings which last since exposed electricity and which had thousands of experimenters, at the head of which the largest names of science are placed, show by the results obtained on all the living organisms, that the electricity of the nature is the source .de life of all that lives on the earth.

The human ones are thus also tributary of these forces. But as they cannot remain day and night outside in contact with the electromagnetic forces of the nature and than they are private partly when they are locked up in their residence, one can cure this disadvantage by bringing an addition of natural electricity in their dwelling.

The purpose of the present invention is thus:

a pickup apparatus of the natural electricity and the diffusing one in the human dwelling.

The shape of execution of the object of the invention was represented as example in the annexed drawings which show: .

1, a view of face of the apparatus;

2, a view out of cut.

In these figures the same letters of references indicate the same ones by ties always.

The apparatus is composed of a metallic circle nonclosed A, magnetized by means of the negative electricity of the earth. On this circle a reflector B is attached, with the bottom of which a light hearth 0 is laid out. The whole is attached using bolts or of rivets D, on a tray E, pierced, of an opening F, allowing in the light of being spread in the part. This tray E is maintained upright by a foot G. The operation of the apparatus is the following one: metallic circle A being as a preliminary loaded of negative electricity of the earth, constantly attracts with him a larger positive quantity of electricity of the atmosphere. The space contained in the inner one of the circle thus becomes a magnetic field created by the natural electricity which the light rays must cross before being spread outside the apparatus. These light rays while crossing the magnetic field take care themselves of natural electricity which they transfer onto all. the space reached by their radiation. As the electricity of the nature is the source of life of all that lives on the earth, any living arganism reached by these light rays which bring an addition of electricity to him, sees increasing its vitality in considerable proportions. This apparatus can also extend to. stables, hen houses, rabbit burrow, etc, and in the greenhouses to increase the vitality of the plants and their maturity.

Forms, dimensions, details and materials employed for: construction of the apparatus susdécrit which can adapt to all the modes of illumination, can vary without changing into anything the object of the invention.



Champ magnétique oscillant
FR845448

Appareil pour capter de l'électricité atmosphérique.
CH118648

Appareil
FR25541

Appareil électro-magnétique terro-céleste
FR529202

Réseau thermo-magnétique moto-solaire pour l'intensification de la production de la terre et la force motrice
FR528468