rexresearch.com


Guido EBNER
Primeval Code



http://www.worldmysteriesforum.ch/index.php?id=130&L=

"Primeval Code" reactivated: Living archetypes of plants and animals created at the laboratory.

Biography:

In laboratory experiments the researchers the Dr. Guido Ebner and Heinz Schürch exposed cereal seeds and fish eggs to an "electrostatic field" – in other words, to a high voltage field, in which no current flows. Unexpectedly primeval organisms grew out of these seeds and eggs: a fern that no botanist was able to identify; primeval corn with up to twelve ears per stalk; wheat that was ready to be harvested in just four to six weeks. And giant trout, extinct in Europe for 130 years, with so-called salmon hooks. It was as if these organisms accessed their own genetic memories on command in the electric field,

The Swiss pharmaceutical group patented the process – and then stopped the research in 1992. Why? The discovery was soon forgotten, without the global scientific community taking any notice. But this changed: In collaboration with the researchers involved – or rather their sons - author Luc Bürgin has for the first time now disclosed in detail how the principle of this revolutionary bio-experiment works.

Nevertheless many scientists who think along conventional lines may remain sceptical about this inexplicable biological effect. But now for the first time, renowned German expert botanists such as Professor Edgar Wagner of the University of Freiburg and Professor Gunter Rothe from the University of Mainz make positive statements about it in the book. Rothe even had replicated the Ciba experiments in detail at his university in 2001 – and was successful. And also for the first time, even a Nobel laureate – the world-famous Swiss microbiologist Werner Arber – is taking up the cudgels for this controversial discovery. Back then, Arber had given an expert opinion on the Ciba experiments in person in the laboratory. The professor said to the author: "I was impressed!"

After Guido Ebner and Heinz Schürch both passed away unexpectedly in 2001, their experiments were continued by Guido Ebner's son, Daniel – himself a biologist – on a private basis. Daniel M. Ebner (studies of biology, chemistry and biostatics at the Universities of Basel and Montreal) works as Management Consultant at the Swiss Arcondis company ("Art of Consulting and Development for Information System", CH-Reinach) in the fields of pharmaceutical validation processes  and information technology. At the WMF 2008 he will present facts, reasonings and perspectives of the discovery of his father. Ebner’s involvement belongs especially in the practical usage of the discovery for food production of countries in the Third World.

Examples of re-created plants and animals will be presented live for the public at the WMF 2008!


http://www.youtube.com/watch?v=i69p0lldbGY&feature=related

 The Ebner Effect



http://www.urzeitcode.com/index.php?id=19

The "Primeval Code"
The ecological alternative to the controversial genetically engineered seeds of the international agro-multinationals

Title of the lecture of Daniel M. Ebner, Switzerland, at the "World Mysteries Forum" 2008 in Basel:

"Primeval Code"  - reactivated!

Can the global food problem at last be solved without using genetic engineering? This new book by Swiss journalist Luc Bürgin unveils the secret of a sensational biological discovery at the pharmaceutical giant Ciba (now Novartis), which unfortunately has been ignored by the experts up to the present day. In laboratory experiments the researchers there Dr. Guido Ebner and Heinz Schürch exposed cereal seeds and fish eggs to an "electrostatic field" in other words, to a high voltage field, in which no current flows.

Unexpectedly primeval organisms grew out of these seeds and eggs: a fern that no botanist was able to identify; primeval corn with up to twelve ears per stalk; wheat that was ready to be harvested in just four to six weeks. And giant trout, extinct in Europe for 130 years, with so-called salmon hooks. It was as if these organisms accessed their own genetic memories on command in the electric field, a phenomenon, which the English biochemist, Rupert Sheldrake, for instance believes is possible.

The Swiss pharmaceutical group patented the process and then stopped the research in 1992. Why? Because "primeval cereals" generated by an electric field, in contrast to modern strains of seeds, require hardly any fertilisers or pesticides i.e. crop protection agents, sold as priority products by Ciba at that time. The discovery was soon forgotten, without the global scientific community taking any notice.

In collaboration with the researchers involved or rather their sons, in this book, the author has for the first time now disclosed in detail how the principle of this revolutionary bio-experiment works. Previously unpublished research reports, 64 exclusive photos, English-language patent specifications and interviews document the "Primeval Code" in all its aspects.

Nevertheless many scientists who think along conventional lines may remain sceptical about this inexplicable biological effect. But now for the first time, renowned German expert botanists such as Professor Edgar Wagner of the University of Freiburg and Professor Gunter Rothe from the University of Mainz make positive statements about it in the book. Rothe even had replicated the Ciba experiments in detail at his university in 2001 and was successful. And also for the first time, even a Nobel laureate the world-famous Swiss microbiologist Werner Arber is taking up the cudgels for this controversial discovery. Back then, Arber had given an expert opinion on the Ciba experiments in person in the laboratory. The professor said to the author: "I was impressed!"

Indeed, Guido Ebner and Heinz Schürch appear to have discovered a biological method of effectively creating antecedents from progeny without using genetic engineering. Or as both researchers put it: "Our experiments do not involve a mutation of the organism in question, which in the case of genetic engineering involves channelling an additional gene into the organism. No entirely new organism is created. In the electrostatic field, only the gene expression is altered the retrieval of the existing gene. That is something different."

In addition to corn and trout experiments, the results of experiments with wheat were also amazing: thus the cereal exposed to the electrostatic field developed new proteins, which people looked for in the original wheat to no avail. Furthermore, it surprisingly produced much larger roots than the control group. This had the advantage of allowing the crops to grow far more rapidly. And occasionally in these experiments, a variant emerged which resembled the genetic antecedents of the wheat. Thus, a meadow grass-like arrangement of ear shoots and small narrow leaves was observed, for example.

"In the case of our 'manipulated' wheat, growth was so rapid that it was ripe in four weeks instead of the usual seven months", Heinz Schürch recalled. "However one has to say that although the ears and stalks were somewhat smaller, there were more ears per plant. The actual benefit is that we could cultivate this wheat in regions where spring and summer are short where conventional wheat cannot be grown at all." In this case, one can also cheerfully refrain from using pesticides and herbicides: "The pests that have adapted to the growth process of normal wheat have not yet developed when we harvest our wheat as early as four to eight weeks after planting."

The Third World in particular could benefit from this method of cultivation that is both environmentally friendly and inexpensive. For "primeval cereals" from an electric field yield more than modern genetically engineered varieties and do not require fertilisers. Furthermore, it is completely natural and thus healthier. It can be grown by anybody at minimal cost.

After Guido Ebner and Heinz Schürch both passed away unexpectedly in 2001, their experiments were continued by Guido Ebner's son, Daniel himself a biologist – on a private basis. He now wants to export this electric field technology to Africa as soon as possible, as part of an aid project, with the assistance of the former assistant to the UN Food Representative, Professor Jean Ziegler, in order to make it available to local farmers free of charge, as an ecological alternative to the controversial genetically engineered seeds of the international agro-multinationals.



http://www.rafoeg.de/index.php/seite/10,Forschungsprojekte/80,Biologische_Experimente_mit_elektrostatischen_Feldern/10,Die_Experimente_von_Ciba_Geigy/Die_Experimente_von_Ciba_Geigy.html
August 17, 2007

RaFöG Space Energy Development Company
 
The Experiments by Ciba Geigy - An Untold Story



A factual report of Carl R. and Steffen Jachulke
after a television report of H. Heisterkamp on the topic "Biological experiments with the electric field"

Prologue

It seems a fantastic world in which we were introduced to our children through stories, pictures and story books. It seems no less fantastic, as we see today is foreign to us drawings or engravings of plants or animals of prehistoric times. Living creatures on our planet thousands of years ago, or even millions of years existed. Oversized trees and animals that are long gone. I would not have believed it possible that animals from a bygone era in our reality is to get today. It can be done! This report shows how and where this has happened and what peculiarities connected with it.

A scientific sensation

With an entertainment program of the Swiss television (super hit on 17/12/1988) it was made public. Million spectators have witnessed, as Showmaster Kurt Felix introduced two researchers.

Figure -- The two guests in the show, Kurt Felix Law;  the two researchers in the close-up.

 

Guido Ebner and Heinz Schürch, two scientists in the research and development at one of the 10 largest chemical companies in the world - Ciba-Geigy. The Swiss company sells chemical products and services in three markets. Health, agriculture and industry.

Research results were presented which were to remain under wraps at the moment. Plants can be changed by an electrostatic field in such a way that they grow as millions of years ago. So a step backwards in their evolutionary history experienced. From a traditional male fern with its feathery leaves had turned around a Hirschzungenfarn tapering, tongue-like leaves. Some scientists call this Ciba-Geigy also Urfarn fern.

Figure -- Left is the common male fern. Right: the experimental result of the electric field of the treated spores Wurmfarns. In addition, a petrified image.



Plants from prehistoric times, perhaps, could do from the time of the dinosaurs, perhaps even from the time before ... The scientists conjecture. Anyway, it's a time warp back in evolutionary history with the help of our common fern spores, reproductive cells, ie from the time now treated in an electric field. Performed in the research laboratories of the chemical company in Basel.

Figure -- Section of a still living Artvertreters of Hirschzungen ferns



What the public has been presented is just one part of the experiments. They also experimented with other crops (mainly wheat), even with fish. For example, experiments with corn.

In Petri dishes artificial soil and water was tested together with maize kernels, which were then placed in an electrostatic field. Static electric fields, stress fields in which no current flows. There exists a DC voltage up to several thousand volts, depending on the experimental arrangement. What alchemists dreamed before several hundreds of years, actually, the general doctrine is to spite. A Nobel Prize-breaking discovery.

Figure -- Assistants help prepare the dishes. On the right is an experimental dish on a high-voltage electrodes.

  

For three days the corn grains are drawn into the air and water-sealed Petri dishes in an electric field, then continue to grow the seeds, like any other plant in a pot or in the greenhouse. The result after normal growing season is a corn with a particularly high number of pistons in a heap, where normally found only in maize is a piston.

Figure --- Heinz Schürch is in the preparation of an experimental approach. Left is the experimental set-up to see in which an electric field is applied.

  

The corn "remembers" how it was. No genetic engineering, no use of chemicals.

Supposed benefits:

- Higher germination
- Increased resistance to pests and harsh climatic conditions
- No agrotoxics

Figure -- Left is a conventional hybrid form. Right in the electric field grown maize. Noteworthy is the fact that up to 5 flasks grow in one spot.

  

Corn in today's agriculture

Used are hybrid varieties, hybrid varieties so highly cultivated, and highly sensitive to their semen can not be used. I.e. The farmer must be buy new seeds every year, not only for corn.

The seed production in turn is dominated by multinationals in the food, agricultural chemicals and petroleum industries. The same companies that sell and fertilizers, pesticides and herbicides to farmers. For the chemical industry is a billion dollar business.

It is the chemistry that the way of agriculture and food destined. At least now suddenly becomes clear what the tests actually Ciba-Geigy.

The Basel-based chemical giant, annual sales at about 22 billion Swiss Francs 94 000 employees. Each employee sold statistically for 235 000 Swiss Francs in chemistry. Research on and with the electrostatic field is, with the eyes of the chemical businessman, has called sawing the branch on which it sits.

Because the findings show, it's possible without chemistry. At least in many areas. The significance of the research result lies in the fact that the hereditary characteristics have been lost through breeding or degeneration, can bring out again and activate.

Experiments with higher organisms

In this context the most spectacular attempt at Ciba-Geigy had been made this time around with ordinary commercially available rainbow trout. In the laboratory, the females are taken for this purpose the eggs.

Figure -- Removal of the eggs of the female. Right, the eggs are subjected to the retort of an artificial insemination.

  

Figure -- Placing the fertilized eggs in a suitable experimental setup for the rearing of young fish



These eggs are artificially inseminated and subsequently exposed for 4 weeks to an electrostatic field. The experimental arrangement is designed as before with fern and corn.

Solothurn in Switzerland, in a fish farm. In one of the fish tanks of the treatment in the electrostatic field that emerged animals. In another pool, the untreated normal trout. Same source, different fish?

Here's the proof:

Figure -- Conventional rainbow trout, known fish shop and restaurant, 2-4 years old. They move slowly, are almost tame. Colors are visible only weak upper and lower jaws are not very pronounced. They often have only rudimentary teeth.

  

Figure -- DC Old Trout emerged from the experiments with the static electric fields. They are 1/3 larger, heavier, fleshier, stronger. You have more and stronger teeth are remarkably strong colors. In adult males of the lower jaw as in wild salmon is at the front is formed into a powerful hook.

  

A statement from the press office of Ciba

The investigative body of the fish Confederation in Berne described the animals as an archetype of the trout, which was about 150 years ago practically extinct. There is no scientific explanation, it is not until today. Neither the trout, even in plants. Also a scientific sensation!

Over again, as in plants, a conflict of interest with Ciba-Geigy. The sale of drugs for the fish part of the business. The trout, however, need not, therefore, no business.

European Patent Office in Munich. Three years ago the Swiss announced a patent on their invention. Patent applicant is Ciba-Geigy, the inventor, the guests from the show, Kurt Felix, Guido Ebner and Heinz Schürch. The patent specification states:

"The present invention relates to a novel process which leads to permanent useful and desirable properties in fish that would otherwise not at all or only with considerable additional costs are generated.

The simplicity of the process measures learns the rearing of freshwater and saltwater fish, a drastic improvement.

The first thing you'll notice a significantly higher hatching rate, which often occurs an increase of 100 to 300 percent.

Quite significant is their extremely high survival rate. This becomes more evident if one does without any drug treatment.

In addition, the treated fish, with the same diet, increase much more rapidly in weight and size and for sale as food fish available. "

Unbeatable ... properties, unimagined possibilities.

The Swiss chemical giant is doing what he does, he stopped the research. The patent now rests in the drawers of the European Patent Office and its imitation is prohibited.

After the financial report Ciba-Geigy is the world leader in crop protection, their sales rising every year. No experiments? Trout "blue" as usual?

In the annual report of the entity:

"The business activities of Ciba Geigy's long-term livelihood oriented towards."

From the press office, it was then:

"Ciba has given up by now all these studies, there have been no further scientific work undertaken in this area because they can not be assigned to one of the priority research areas of the company. For this reason, the research industry in many, many interesting approaches in exploratory projects will be dropped. "

On 17/12/1988, Kurt Felix then told Swiss television on the experiment before it was discontinued.


 
US5048458 // EP0351357
Method of breeding fish
    
Inventor: EBNER GUIDO [CH] // SCHUERCH HEINZ [CH]     
Applicant: CIBA GEIGY CORP [US]     
EC: A01K61/00G     
IPC: A01K61/00 // (IPC1-7):A01K63/00     

There is disclosed a novel method which, based on the brief application of electrostatic fields, induces lasting useful and desirable properties in fish, which properties cannot otherwise be induced at all or can only be induced by dint of substantial additional investment in time and material resources. The simplicity of the measures proposed in this invention and the significant results obtained will revolutionize the breeding of fish, especially edible fish, but also ornamental fish.



The present invention relates to a novel method which, based on the brief application of electrostatic fields, induces lasting useful and desirable properties in fish, which properties cannot otherwise be induced at all or can only be induced by dint of substantial additional investment in time and material resources. The simplicity of the method of this invention and the significant results obtained make it possible to improve very substantially the breeding of freshwater and saltwater fish, especially of edible fish and also of ornamental fish.

The method of the present invention essentially comprises exposing early development stages of fish, such as juvenile fish or preferably eggs, before, during or after fertilisation, especially eggs in early phases of cell division, for a short time to electrostatic fields, without the flow of electric currents. It is particularly preferred to use eggs during or immediately after fertilisation.

Specifically, in the practice of this invention, tanks (aquaria) filled with freshwater or saltwater and containing the fish or eggs, and consisting preferably of electrically non-conductive material (insulator), are placed between the electrodes of a capacitor. A directcurrent voltage of one to tens of thousands of volts is then applied to said electrodes. Instead of using the non-conductive aquarium material, it is of course also possible to use electrodes which are provided with an insulating layer and to immerse these electrically insulated capacitor plates direct in the tanks. Of sole importance is that the electrodes of the capacitor are insulated against the freshwater or saltwater acting as dielectric medium. As no currents flow in this apparatus, no perceptible loss of energy is observed. Hence energy is not a cost factor in this invention.

A further essential feature of this invention is that, because no electric current flows, the chemical identity of the system "fish" does not undergo change.

Interest in the investigation of parameters which exert a direct or indirect activity on physico-chemical interactions in living organisms has so far centered almost exclusively on the influence of temperature, pressure, electromagnetic radiation and electrodynamic fields (alternating fields). In contrast, far less attention has been paid, for example, to the investigation into possible interactions of electrostatic fields on the development of higher organisms, especially fish.

Only recently have reports become more frequent on the possible effects of gravitation and magnetic fields on biological systems. Thus, for example, Goodman and Henderson [Bioelectromagnetics, 7: 23-29, 1986] have found indications that a correlation exists between electromagnetic fields and the rate of transcription in biological material, the rate being influenced favourably by the applied electromagnetic field so that enhanced transcription results.

In contrast, it would appear that the possibility that electrostatic fields might also have an influence on the course of physico-chemical interactions in organisms, especially also in early development phases, has so far been ruled out from the start. Hence there have to date been no reports on the possible effect of electrostatic fields on the development of fish.

Experiments have, however, been described (C.A. 95: 165 987b; Vosyliene et al.), in which trout (Salmo iridens) and carp (Cyprinus carpio) were exposed over long periods to field strengths of 0.03-0.08 V/cm and 0.06-0.10 V/cm. These experiments dealt principally with the influence of the voltage applied on brain development and the excretion of noradrenalin, depending additionally on the season.

The reason why there has been so little investigation into the effects of electrostatic fields may primarily be that, in the light of conventional teaching, it has been assumed that an electrostatic field in a medium filled with charge carriers is shielded by the spontaneous formation of an electric double layer and consequently remains inert in its effect.

This teaching is based essentially on the equation formulated by C. Gouy and D. L. Chapman, according to which the actual thickness of a diffuse double layer for an electrolyte is ##EQU1## wherein d=the thickness of the double layer
F=the Faraday constant
.epsilon.=the dielectric constant
R=the universal gas constant
T=the absolute temperature, and
i=the nature of the ions of concentrations ci and valences zi.

Surprisingly, this prejudice has now been overcome with respect to fish in the practice of this invention by the application of simple measures.

In contradistinction to the conventional teaching elaborated above, the aim has now for the first time been successfully achieved, within the scope of this invention, of providing a method by which it is possible to induce in fish lasting desirable and useful changes, which method is based on a modification of physico-chemical interactions induced by the effect of an electrostatic field.

As previously stated, this aim can be achieved most simply by exposing juvenile fish or fertilised fish eggs to an electrostatic field, such that the physico-chemical interactions which take place during cell division and differentiation, and which it is desired to modify with the aid of the method of this invention, take place under the influence of a defined electrostatic field under controlled conditions.

Accordingly, the present invention relates to a method of inducing desirable and useful properties in fish, which comprises a) exposing early development stages of fish to an electrostatic field, such that the physico-chemical reactions which it is desired to modify take place under the influence of a defined electrostatic field under controlled conditions, but without thereby changing the chemical identity of the system itself, and

b) keeping said early development stages of fish in said electrostatic field for a period of time necessary for a stable development of the desired modification.

Throughout this specification, the expression "early development stages of fish" shall be understood as meaning all stages starting from the egg (egg cell), preferably the fertilised egg, through the different embryonic stages right up to the hatchable or hatched juvenile fish. These are the stages of frequent cell division and differentiation in which the electrostatic fields produce favourable and lasting results.

Especially preferred in this connection are fish eggs which are actually fertilised in the static field or which are exposed to the influence of an electrostatic field only after fertilisation -- most preferably directly after.

A favourable, and therefore within the scope of this invention preferred, period of time during which these early development stages remain in the electrostatic field, is the time until the eggs ripen, especially until they hatch. This period of time will normally depend on external conditions, for example water temperature, the oxygen concentration and the like, but most especially on the species of fish.

Afterwards, the juvenile fish are transferred to larger tanks, as is usual in fish breeding, where they mature to a desired growth stage.

The really surprising feature is that these juvenile fish which have been pretreated in the described manner and transferred to normal breeding tanks differ significantly from untreated control groups.

Firstly, a substantially higher hatching rate of the treated fish eggs is observed, with frequently an increase of 100 to 300% and even higher values being achieved. Secondly, these juvenile fish make a far more agile and more vital impression than the untreated comparison fish. Very significant is their markedly higher survival rate which extends not only to their first few days, but virtually to their entire life cycle. This feature becomes all the more marked if all medication is dispensed with. For it is then observed that, in the first few days and weeks, the untreated control group (not exposed to an electrostatic field) is at least twice as heavily reduced by the non-artifically inhibited and naturally occurring population of pathogens as the fish that have been exposed to treatment with an electric field. In addition, the treated fish, while receiving identical feeding, grow in weight and size far faster and reach adulthood significantly earlier, and hence can be transferred to natural waters or are available for marketing as edible or ornamental fish. Further, no deleterious changes in the progeny of these treated fish are observed. On the contrary, a certain element of the vitality seems to be transferable to the progeny.

All in all, the fish treated by the method of this invention are substantially more vital than the untreated comparison fish and reach adulthood earlier. For the fish breeder this means a reduction in the consumption of medicaments and antibacterial agents, even to the extent of dispensing with such substances completely, a perceptibly more efficient utilisation of the fish feed employed, and a shortened rearing phase. These are advantages which no other expedient at present known is able to afford.

The mechanism on which the method of this invention is based is at present not known and will require elucidation in the future.

On the whole, the application of the method of this invention results surprisingly, for example, in a favourable change in the development and growth efficiency, in the morphogenesis, possibly in the gene expression patterns, in proneness to stress, resistance to pathogens, and many other characteristics.

A primary object of this invention is accordingly the provision of a method of enhancing the efficiency of the development and breeding of freshwater and saltwater fish. Especially preferred is a method of enhancing the efficiency of the development and growth of edible fish.

Also falling within the scope of this invention are the fish themselves in which change has been induced by the application of the method of this invention, which fish have an enhanced development of growth efficiency, and the progeny thereof, provided these latter still have a novel and characteristic property of at least one of the parents in which change has been induced by the method of this invention.

Within the scope of this invention, an enhanced development and growth will be understood as meaning, for example, an increase in the hatching rate and an enhancement of the growth rate.

A further object of the present invention is the provision of a method which modifies the specific stress reactions of fish in desirable and useful manner, especially such that the treated fish are more robust and reach adulthood faster.

Thus, for example, it is possible to reduce very substantially the susceptibility of fish to diseases by the application of the method of this invention, and so to breed the fish under conditions which would normally be critical to their health and which would not permit a normal and controlled development.

Hence the present invention also relates to fish whose specific reactions to specific stress parameters are modified in a desirable and useful manner by the application of the method of this invention, especially those fish which exhibit increased resistance to pathogens.

More particularly, it is an object of the present invention to provide a method of vitalising fish, which comprises

a) exposing fertilised fish eggs to an electrostatic field, without flow of current, or fertilising eggs in said field,

b) adjusting the field strength to values in the range from 1 V/cm to 10@5 V/cm, and

c) maintaining the electrostatic field until the juvenile fish hatch or mature.

The fertilisation step can, of course, also be carried out in apparatus of this invention (aquarium with electrodes) with the voltage already applied.

In the practice of this invention, the electrostatic field is preferably produced between the electrically insulated plates of a capacitor.

The field strength of the electrostatic field is determined by the following equation:
E=U/d

where U is the potential difference between the capacitor plates, and d is the distance between the plates.

The potential difference U is produced by a high-tension generator. Any kind of high-tension generator may be used in the method of this invention. Preferred high-tension generators are those based on the transformer principle with rectifier.

The preferred potential difference within the scope of this invention is from 1.0 V (volt) to 10@5 (V) volt.

For the application of the method of this invention to fish eggs, potential differences of 1 V to 20 000 V, preferably of 100 V to 10 000 V, are used. Most preferred is a potential difference of 500 V to 3 000 V.

The distance between the plates of the capacitor depends on the dimensions of the aquarium, and is, for example, from 0.01 mm to 1 mm, but is preferably from 1 cm to 10 cm.

In practice, the field strength of the electrostatic field at the given distance between the plates of the capacitor is regulated by the strength of the voltage produced by a high-tension generator.

In the practice of this invention, the field strengths are preferably from 1 V/cm to 10 000 V/cm, more preferably from 50 V/cm to 5 000 V/cm but, most preferably, from 500 V/cm to 1 000 V/cm.

For the application of the method of this invention, it is most preferred to use biological material which has a high rate of division and/or still exhibits little differentiation, for example cells capable of division. Specifically, suitable biological material in the context of this invention comprises fertilised of unfertilised eggs as well as early embryonic stages right up to hatchable juvenile fish.

The rate of fertilisation and hatching of fish eggs can be significantly enhanced under the influence of an electrostatic field.

All these foregoing particulars cited by way of exemplification are solely intended to illustrate the invention and in no way restrict the subject matter thereof.

Most particularly, it is an object of the present invention to provide a method wherein the development of the fertilised eggs to juvenile fish takes place in an electrostatic field in which the field strengths may vary preferably from 10 V/cm to 3 000 V/cm. Field strengths of 500 V/cm to 1500 V/cm, more particularly of 500 V/cm to 1 000 V/cm, are especially preferred.

First and foremost, the invention provides a method of enhancing the growth and development efficiency of fish, which method comprises enhancing the fertilisation, hatching and survival rate as well as the growth of fish by

a) treating fish eggs with male sperm,

b) placing the treated eggs in incubators in which an electrostatic field is produced,

c) providing field strengths for the electrostatic field of 10 V/cm to 3 000 V/cm,

d) removing the juvenile fish, after hatching, from the sphere of influence of the electrostatic field, and

e) rearing said juvenile fish by methods which are known per se.

The treatment of the fish in the electrostatic field in the practice of this invention is preferably effected in special incubators which, in the bottom and in the cover, contain built-in electrodes which are water-tight and insulated and are connected to a source for producing a high direct-current voltage, and with the aid of which an electrostatic field can be produced inside the incubators. It is, of course, possible to use any other experimental apparatus for treating the fish, provided it meets the basic conditions as set forth above.

After the juvenile fish have hatched, the electric field is removed and the further rearing of the juvenile fish is continued by conventional methods free from the influence of an electric field.

Contrary to all theory, and hence extremely surprisingly, it has been found that, compared with the controls, the juvenile fish which have hatched in the electric field have, in addition to a substantially enhanced fertilisation and hatching rate, further advantageous properties which then also develop after removal of the electric field and influence the further development of the fish.

These further advantageous properties comprise, for example, an enhanced rate of growth compared with the controls. Furthermore, the treated fish, compared with the controls, have a markedly enhanced vitality.

The present invention further relates to the use of the method of this invention for modifying specific stress reactions of fish.

Particularly preferred fields of use relate to the enhancement of resistance to stress, for example to specific environmental factors such as increased salt concentrations in the culture medium, limitation of specific nutrients, limitation of light and/or oxygen, acceptance of pollution and the like.

One of the most frequent stress factors in the living environment is deficiency stress, where one or more factors can simultaneously have a limiting effect.

Deficiency stress occurs as soon as one or more of the factors essential for optimum growth or development, for example light, supply of oxygen/carbon dioxide, supply of nutrients, vitamins and the like, attain suboptimum values. The consequence is that the affected organism is no longer able to maintain to the full its ability to generate the syntheses essential for optimum development and growth, resulting initially in a retardation of growth. If this deficiency stress continues for a prolonged period of time, it results in an impairment of essential functions, leading then as a rule to early onset of senescence and hence ultimately to the death of the affected organism.

Not only a deficiency, but also a superfluity, of specific crucial factors is able to trigger stress reactions. Increased salt concentrations in the nutrient medium leads, for example, to a rise in the osmotic value in the medium and, consequently, to a loss of fluid in the cells present therein, owing to the onset of osmosis and hence to cell shrinkage. The loss of fluid can usually be compensated for to a certain extent by self-regulatory steps taken by the affected organisms. But if a critical threshold is exceeded, then this will result in the death of the cells.

The method of this invention can, in principle, be applied to all species of fish, but preferably to species that are bred on a commercial scale. In this connection, the treatment of edible fish is of particular importance, as it is expected that production costs can be reduced very considerably with the aid of the method of this invention.

To illustrate the somewhat general nature of the foregoing description and to contribute to a better understanding of the invention, reference will now be made to specific working Examples which are non-limitative in character, unless special attention is drawn to them. The same applies to all particulars of an exemplary nature which are contained in the foregoing description.

NON-LIMITATIVE WORKING EXAMPLES

PRODUCING THE ELECTROSTATIC FIELD -- EXPERIMENTAL APPARATUS

All experiments hereinafter described are carried out in electrostatic fields which are produced between the plates of a capacitor.

The electric field strength is given by the equation
E=U/d

where
U is the potential difference (voltage) between the capacitor plates, and
d is the distance between the capacitor plates.

The voltage is generated by means of a high-tension generator which operates on the principle of a transformer with rectifier, normally using voltage differences from 500 volt to 12 000 volt.

The distance between the plates will depend on the dimensions of the test tanks used in the individual experiments. Normally the variable parameters U and d will be chosen such that the field strengths of the electrostatic field are from 250 V/cm to 1500 V/cm.

The present invention also relates to an apparatus for the treatment of early development stages of fish with electric fields, said apparatus comprising

a) a tank suitable for holding the early development stages of fish in aqueous medium, and

b) a source for producing a voltage and, connected therewith, an arrangement of electrodes suitable for producing an electrostatic field in at least a part of the volume surrounded by the tank, which process is characterized in that the arrangement of electrodes is electrically insulated against the medium contained in the tank and is preferably arranged in form of capacitor plates, and that the source of voltage is a source of a direct-current voltage.

Example 1: Effect of an Electrostatic Field on the Development of Fish

It is possible to influence favourably the development of animal organisms with the aid of an electrostatic field, as will be demonstrated in the following experiment carried out with rainbow trout.

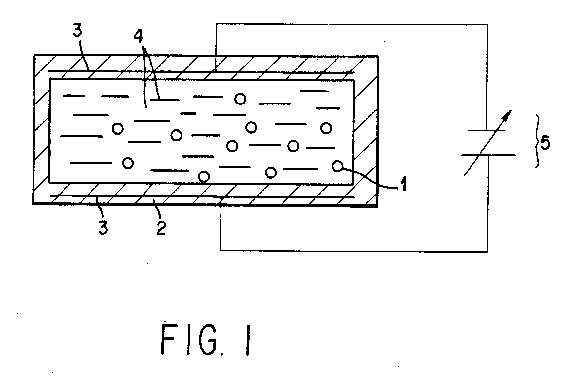
1.1 Experimental Apparatus (FIG. 1)

BRIEF DESCRIPTION OF THE DRAWING

FIG. 1 is a diagram of a preferred form of the invention, being an incubator with a source for an electrostatic field.

Trout eggs (1) in batches of 1000 are treated in tanks with male sperm and immediately placed in incubators. The incubators consist of 1 liter plexiglass tanks (2) measuring 31.5.times.28.5.times.4.5 cm. Aluminium electrodes (3) which are sealed air- and water-tight are built into the cover and bottom of the containers (see FIG. 1).

The incubators are connected to a spring water (4) system of 10 DEG-12 DEG C. and the electrodes are connected to a high-tension generator (5) (FUG HCN 14-12500, available from Weter, Schaffhausen, Switzerland). The voltage applied is 215 volt and the space between the plates is 3 cm, so as to provide a field strength of 716 V/cm between the electrodes. The fertilisation and ripening of the eggs takes place in this apparatus. The eye stage is reached after ca. 4 weeks, and the brood hatches after ca. 8 weeks.

After hatching, the brood is transferred to tanks measuring 50.times.50.times.15 cm with laminar flow and the electric field is removed, so that the further development of the juvenile fish may take place free from the influence of the field.

1.2 Results

Table 4 shows that the number of juvenile fish which have hatched under the influence of the electrostatic field is markedly greater than that of the controls.

Compared with the controls, the number of fish which perished after hatching and after 5 weeks was reduced by about half with aid of the field.

In addition, a growth increase effect of the field can also be detected. The size of the juvenile fish hatched under the influence of the electrostatic field, 10 weeks after hatching, is from 30 to 40% higher than that of the control fish (q.v. Table 1).

______________________________________

with field

free from field

tank 1 tank 2

______________________________________

hatched juvenile fish

140 244 469

perished after hatching

37 14 19

perished after 5 weeks

10 5 6

size after 10 weeks

2.6 cm 3.4 cm 3.6 cm

______________________________________

The fish incubated in the field exhibit a markedly greater vitality.



Transparent sheet
    
Inventor: EBNER GUIDO DR [CH] // HEFTI HEINZ DR [CH]     
Applicant: CIBA GEIGY AG [CH]     
EC: A01G9/14E // C08K5/00P4
IPC: A01G9/14 // C08K5/00 // C09K11/02

The invention relates to transparent sheets containing a fluorescent substance, characterised in that the fluorescent substance absorbs light of the wavelength 300 to 400 nm and fluoresces a wavelength range from 430 to 470 nm and in that the sheet contains the fluorescent substance in such an amount that, in daylight, the transmission in the wavelength range from 430 to 470 nm is amplified by more than 10%, and to a process for improving the photosynthesis rate of chlorophyll-containing cells and plants, to processes for preparing the sheet of the invention, and to an arrangement for improving the photosensitive rate.

Description

The invention relates to transparent film containing a fluorescent substance with a fluorescence maximum of about 450 nm, their use for increasing the rate of photosynthesis and for influencing plant growth as well as methods for their preparation.

There are already partially transparent films become known containing dyes or fluorescent dyes for influencing plant growth.

The Swiss patent CH 515 957 relates to transparent foils or sheets, which in addition to the usual auxiliaries, a dye up with a minimum permeability in the range of 380 590 nm and a maximum permeability of 660 to 750 nm.

Similarly, it is suggested in the Austrian Patent AT-270 288, to improve plant growth through the field of red light (600-700 nm) fluorescent dyes that are applied to suitable carriers.

This is followed by the on off of EP-A-00 77 496 known method in which light of wavelength 470 to 600 nm is absorbed by means of fluorescent dyes and emits in the range of 600-700 nm.

These, from the prior art devices and methods, is based on the principle of action to stimulate the rate of photosynthesis chlorophyll plants by an extra supply of light of wavelength 600-700 nm.

In contrast, the invention proposes to stimulate the rate of photosynthesis plant chlorophyll by light starting from fluorescent substances having an absorption in the range of 300-400 nm (near UV) and an emission in the range of 430 to 470 nm.
As carrier material for the fluorescent substances, a transparent film is proposed.

The invention thus relates to transparent film containing a fluorescent substance, characterized in that the fluorescent material absorbs light of wavelength of 300 to 400 nm and a wavelength range fluorescing from 430 to 470 nm and that the film the fluorescent substance in an amount such nm that is enhanced with natural light transmittance in the wavelength range of 430 to 470 to more than 10%.

Fluorescent substances of the aforementioned type are known per se (described, for
, In "Fluorescent Whitening Agents", A. Müller, eds.
, Georg Thieme Verlag, Stuttgart, 1975) and used in numerous industrial areas for improving the color properties using.

According to the invention, those fluorescent substances are used, in the near UV range (300 to 400 nm) absorption and thus received excitation energy in the range of 430 to 470 nm, preferably 430 to 450 or 450-470, especially 440-460, especially in the range 445-460 nm emit.

By applying the fluorescent substance on a transparent film, the transmission of daylight in the aforementioned areas by at least 10%, depending on the optical quality of the film, the amount of fluorescent material and its quantum yield, the relation and the light amount of UV light of wavelength 300-400 nm and the light quantity of the incident light onto the film in the aforementioned intervals within 430 to 470 nm, a gain by fluorescence of more than 20, 50 or even 100% is achieved.

As a reinforcement of the transmission through the fluorescence is understood with simultaneous irradiation with UV light in the range of 300 to 400 nm measured increase in the amount of light in each specified area on the fluorescence of the light source side facing away from the film.

Daylight source is the overcast sky or the radiation matched the overcast sky artificial light source.

Routinely, the spectral composition of daylight in the measuring apparatus by means of a standardized simulated daylight source D65 (A. Brocker in "Fluorescent Whitening Agents", Thieme 1975, p 23).

Transparent films are films with a light transmission of over 70%, preferably over 90% in the range of 400 to 700 nm
In an especially advantageous manner are suitable transparent film with a light transmission maximum in the range of 400-500 nm and 600-700 nm

According to the invention can in principle each slide using the aforementioned criteria to find the light transmittances met.
In particular, films made from the following classes of polymers are suitable: polyester, polyvinyl chloride, polyolefins such as polyethylene, polypropylene, polyamides, polystyrene, polyacrylates, regenerated cellulose, such as cellophane ™ or polyacetates.

As fluorescent substances are in principle all substances which absorb at 300-400 nm and whose emission maximum in the range of 430-470 nm, suitable.
In addition, preferred are those substances which are in the respective selected polymer material molecularly dispersible.

Particularly suitable are fluorescent substances of the following classes of compounds:

 2,5-bis-benzoxazol-2-yl-thiophene,
4,4-bis-benzoxazole-2-yl-stilbene,
4-phenyl-4'-benzoxazol-2-yl-stilbene,
4,4-distyryl biphenyls,
1,4-bis-benzoxazol-2-yl-naphthalenes,
1,2-bis-benzoxazol-2-yl-ethenes,
4,4-bis (diphenyl-1 ,3,5-triazinyl)-stilbene,
4,4-bis (5-phenyl-1 ,3,4-oxazol-2-yl)-stilbene,
3,7-Disubstituted coumarins or
substituted naphthalenes.

The following compounds are proposed:

# 1: 4,4-bis-benzoxazol-2-yl-stilbene of formula
EMI12.1

# 2: 2,5-bis-benzoxazol-2-yl-thiophene of the formula
EMI12.2
# 3: 2,5-bis-(5-tert-butyl-benzoxazol-2-yl)-thiophene of the formula
EMI12.3
# 4: 4,4-di-(2-methoxy-beta-styryl)-biphenyl of the formula
EMI12.4
No. 5: 4,4 '-disubstituted biphenyls of the formula
EMI12.5
# 6: 1,4-bis-benzoxazol-2-yl-naphthalene of formula
EMI13.1
# 7: 1,4-bis-(5-methoxycarbonyl-benzoxazol-2-yl)-stilbene of formula
EMI13.2
No. 8: 4,4-bis-[5 - (4-tert-butyl) phenyl-1 ,3,4-oxadiazol-2-yl]-stilbene of formula
EMI13.3
No. 9: 4,4-bis-[4,6 - (p-tolyl) -1,3,5-triazin-2-yl]-stilbene of formula
EMI13.4
# 10: min 4-phenyl-4 - (5-tert-butyl) benzoxazol-2-yl-stilbene of formula
EMI14.1
# 11: 1,2-bis-(5-methylbenzoxazole-2-yl)-ethene of the formula
EMI14.2
No. 12: 7 - (benzo [c] benzotriazol-2-yl)-3-phenylcoumarin of the formula
EMI14.3
No. 13: 1 - [4 - (2-cyanoethenyl)-phenyl] -2 - (naphthalen-1-yl)-ethene of the formula
EMI14.4
# 14: 4 - (O-methoxyiminomethyl) -4 min-cyanoethenyl-stilbene of formula
EMI14.5

According to the invention usable fluorescent substances may be applied by known methods to the serving as a carrier transparent film.

Must be ensured in the selection of appropriate procedures, that the fluorescent material primarily on the transparent substrate in a molecular dispersed distribution (dissolved) is present.

A particularly suitable method may be mentioned, for small and medium-sized batches: the transfer printing, dipping and coating processes for medium and large batches: the incorporation of the fluorescent substance in the polymer as well as diving and painting activities.

When transferring pressure from the fluorescent material is a first - given support material - usually made of cotton or tissue paper existing one.

The printable transparent film is then brought into close contact with the carrier material.

The excretion of the fluorescent substance in the film is then, as usual, at transfer pressure, effected by heating under contact.

Many polymers swell under the action of suitable solvents and can take up dissolved in the solvent substances that remain then distributed by removing the solvent in the polymer molecularly.

By means of this effect can be the fluorescent materials by dip-coating process and solvent baths with solvents or with molecularly incorporated into the film transparende.

In a particularly advantageous manner, the fluorescent substance to be incorporated before the film production and as an additive in the polymer material.
In this case, both the fluorescent agent may be incorporated by melting or mixing in the production of film serving granules or it is added during film extrusion in a conventional manner as other additives and thus dissolved in the melt of the polymer.

Also, the fluorescent substances are added at the stage of polymerization or polycondensation.

Depending on the polymeric support material in which they are contained, the emission maxima of the fluorescent substances vary within certain limits.

Are particularly suitable for polyester compounds 1, 2, 6, 7 and 9 to 14
Polyamides are particularly suitable for compounds 8 and 10
The compounds 3, 4 and 6 are preferably polyvinyl chloride or polyolefins.
Compound 5 is particularly suitable for regenerated cellulose.

The transparent sheets can contain not only the registration according to still another fluorescent materials commonly used in film production assistants and additives such as plasticizers, stabilizers, supporting tissue, hardeners, etc. to a limited extent, UV-absorbers.

The concentration of fluorescent substances in the film is determined by the respective desired reinforcing effect and can be determined by simple preliminary tests.

In general, the fluorescent agent is present in concentrations of 0.01 to 1% distributed in molecularly disperse before serving as carrier material film.

The principle underlying the invention can be used as a light amplification in the range of 430 nm understood to 470.

In this range the short-wavelength absorption maximum of chlorophyll.

Accordingly, the inventive films can be found to stimulate the rate of photosynthesis chlorophyll cell systems used.

In addition to land-based plants can especially in aqueous medium living cell systems, such as algae, are advantageously affected by the application according to transparent film in its growth.

The inventive films are particularly suitable for use in agriculture, horticulture or fruit.

The application according to the foils are attached in a known manner between the plants and the light source, usually daylight so that the largest part of the incident on the plant light passes through the film and into the type described above by means of fluorescence in the 430 470 nm is amplified.

In practical application, the films can therefore over the seed-containing soil or on the plant or placed by means of suitable constructions in a conventional manner used as plant tunnel or greenhouse covers are.

The inventive films are particularly suitable for the limited light availability, especially on cloudy days to improve by fluorescence light: depending on the particular plant variety, a certain amount of light are assumed to be the lowest threshold, below which the rate of photosynthesis of the plant or the chlorophyll-containing cell is no longer sufficient to the plant or the cell alive.

Due to an orienting test (Example 2b), this value in the range of about 1000 mu W cm <-2> for watercress are accepted as a test plant.

Measurements of the intensity of daylight under overcast skies (Example 2c) show that under the conditions occurring in temperate latitudes often a covered sky the limit is already reached.

By fluorescence light can offer for the plant usable in the range of 430-470 nm can be increased to such a degree that the light intensity does not drop below the critical level for plant growth.

Example 1

Film: Melinex polyester film type 0, manufacturer ICI, film thickness 75 microns
Fluorescent substance - 2,5-bis-benzoxazol-2-yl-thioben of the formula
EMI17.1
- 1 - [4 - (2-cyanoethenyl)-phenyl] -2 - (naphthalen-1-yl)-ethene of the formula
EMI18.1
- 4 - (O-methoxyiminomethyl) -4 min-cyanoethenyl-stilbene of formula
EMI18.2
Photometer:
Kerry 219 - Photometer Lamps:
Halogen-tungsten lamp, 150 watt, Xenophot, Osram, HLX 64 640

The fluorescent substance is applied to the HT process on the film.
For use, the polyester film is colored with a content of 0.1% of the aforementioned compound.
The liquor ratio is 1: 50, being used as the dispersant 1 g / l P Irgasol.
The dyebath is heated in a pressure vessel within 30 min from 40 to 130 ° C and maintained for 30 min at 130 ° C.
After obtaining the film is rinsed with acetone.

The transmission values ??at 430, 440, 450, 460 and 470 nm are shown in Table I:

Table I
EMI19.1

Example 2 influencing plant growth by fluorescent light

Example 2a: Normalization of daylight lamp

As a daily source of light a 100-W light bulb-type plants Ormalight is used.
Which is in the range 25 to 150 cm measured light energy in Table II:
Distance [cm] Light energy [mu watts. cm <-2>] (uncorrected)
25 4600 50 1500 75 870 100 530 125 420 150 240

Example 2b: Determination of the limiting light offer

In a darkened chamber in pots sown seeds of watercress illuminated with a daylight lamp in accordance with Example 2 in 25, 50, 75, 100, 125 and 150 cm from the top.
After 4 weeks the condition of the plants is evaluated.
The illuminated from 25 to 50 cm from plants develop normally, while the dead are from 75, 100, 125 and 150 cm illuminated plants.

Example 2c: Determination of the amount of daylight in heavily overcast sky

On 4
June 1984 at 9.00 shall be measured with a UDT Radiometer 140 X in Basel / Switzerland, the amount of light, such as: total light (300-700 nm): 1200 mu W cm <-2> UV portion (300-400 nm): 120 mu W cm <-2> proportion of visible (400-700 nm): about 1080 mu W cm <-2>

Example 2d: Plant growth with insufficient daylight and additional fluorescent light
Daylight source: lamp according to Example 2a UV light source: UV lamps from Camag (Catalog No. 29 230) with an emission maximum at 366 nm

UV filter: To ensure that no visible light is guided by the UV sources of the experimental arrangement, the outlet openings with UV filters type UV-11 (transmission range 250-400 nm) and the Schott Schleifer covered.
Investigated films: film A Melinex polyester film type = 0, manufacturer ICI, film thickness 75 mu.
Film B = film according to Example 1, containing 0.1% of compound 2 foil C = film according to Example 1, containing 0.1% of compound 12 film D = Film according to Example 1, containing 0.1% of compound 13

The seeds sown in pots of watercress in a dark room between two sides established UV light sources, which are coated with transparent fluorescent films prepared, and their growth with a blank sample (film A) were compared.
The entire experimental arrangement is from the top of the distance 75 cm irradiated with a daylight lamp in Example 2a.
The growth of test plants will be evaluated weekly.

The irradiated through the films B, C and D watercress developing normally, with a strong preference for the lateral growth direction to the UV light sources is observed for.
Apart from the plants develop up to the 9th
Week in which the experiment was terminated normally.
The irradiated film A by water cress sprouts initially grow normally and straight up.
In the second week, shows a strong "fear growth."
In the third week the plants begin to wither and die off in the fourth week.



US6238663
Method for treating hyperkeratotic disease with a Halobacterium halobium lysate

Inventor:EBNER GUIDO [CH]     
Applicant: INST OF PHARMACEUTICAL RES AG [US]     
EC: A01G7/04 // C12N13/00
IPC: A01G7/04 // A01K67/00 // A61K31/07