rexresearch.com

Joel STERNHEIMER, et al.

DNA Music



Joel STERNHEIMER

Earthpulse : "French Physicist Creates New Melodies - Plant Songs"
US2002177186 : METHOD FOR THE REGULATION OF PROTEIN BIOSYNTHESIS
FR2541024 : Guitar-Type Stringed Instrument for the Acoustic Modelling of Elementary Particles
FR2565016 : Guitar-Type Stringed Instrument for the Acoustic Modelling of Elementary Particles
DE69334164T : METHOD FOR THE EPIGENETIC REGULATION OF PROTEIN BIOSYNTHESIS BY SCALE RESONANCE
FR2565016 : Guitar-Type Stringed Instrument for the Acoustic Modelling of Elementary Particles
Disclaimers
Milk Production
Yeast
Tomatos
Medicine
Emails
Program
References
John Dunn
Sequencia
Krull / Sousa, et al.




http://www.earthpulse.com/science/songs.html


"French Physicist Creates New Melodies - Plant Songs"

 
Remember those song birds we used to hear in the fields? The sounds of animals in nature singing a symphony of soft and subtle sounds as all things flow together to create a living and vibrant concerto? Science is now showing that these sounds actually do influence the growth of plants. Researchers have demonstrated that plants respond to sounds in pro-found ways which not only influence their overall health but also increase the speed of growth and the size of the plant.

Many people remember hearing in the late 1960's and 1970's about the idea that plants respond to music. There were lots of projects in high schools and colleges which successfully tested the effects of sound on plant growth. It was determined through repetitive testing that plants did respond to music and sound. The first book which brought this idea to most of us was: The Secret Life of Plants, by Peter Tompkins and Christopher Bird (Harper & Row 1973). In this best selling book a number of astounding revelations about plant growth were revealed. The idea that plants were influenced by sound in both positive and negative ways was demonstrated by several world class scientists at that time.

When we think of plants being affected by sunlight we are really looking at the effect of a portion of the electromagnetic spectrum on plants ­ that portion which includes visible light. It should not surprise us that sound also impacts plant growth because it is, in essence, an extension to other parts of the electromagnetic spectrum.

The science was first disclosed in an article by Andy Coghlan which appeared in New Scientist (May 28, 1994, p.10). The article confirmed old ideas by placing them in a scientific context. It tells an excellent story about the impact of sound on plant growth, bringing to light what was before considered esoteric or mysterious science. After reading this short article and those which follow in this issue of the Flashpoints a good deal more will be thought of "singing gardeners" and "plant communicators."

Many people remember reading accounts of plant growth being stimulated by sound waves. At that time, "talking" to plants and playing plants different types of music was used to influence growth. A number of people were using these techniques without being able to completely explain the phenomena. This article is part of that story ­ a story which could have a profound impact on the way we grow and produce our food.

Eccentrics who sing to their plants? People playing melodies to organic matter with the expectation that it will help stimulate growth? These ideas were the thoughts of some "non-scientists" until French physicist and musician, Joel Sternheimer, discovered the mechanism for how plants respond to the stimulation of sound waves. Sternheimer composes musical note sequences which help plants grow and has applied for an international patent1 covering the concept.

The sound sequences are not random but are carefully constructed melodies. Each note is chosen to correspond to an amino acid in a protein with the full tune corresponding to the entire protein. What this means is that the sounds sequenced in just the right order results in a tune which is unique and harmonizes with the internal structure of a specific plant type. Each plant type has a different sequence of notes to stimulate its growth. According to New Scientist, "Sternheimer claims that when plants "hear" the appropriate tune, they produce more of that protein. He also writes tunes that inhibit the synthesis of proteins." In other words, desirable plants could be stimulated to grow while undesirable plants (weeds for instance) could be inhibited. This is done with electromagnetic energy, in this case sound waves, pulsed to the right set of frequencies thus effecting the plant at an energetic and submolecular level.

Sternheimer translates into audible vibrations of music the quantum vibrations that occur at the molecular level as a protein is being assembled from its constituent amino acids. By using simple physics he is able to compose music which achieves this correlation. Sternheimer indicated to New Scientist that each musical note which he composes for the plant is a multiple of original frequencies that occur when amino acids join the protein chain. He says that playing the right notes stimulates the plant and increases growth. This idea is particularly interesting because it may lead to the eventual obsolescence of fertilizers used to stimulate plant growth. This new method would be cheap and relatively easily provided throughout the world, thereby avoiding many of the problems associated with the extraction, shipping, environmental and economic costs of chemical fertilizers.

Playing the right tune stimulates the formation of a plant's protein. "The length of a note corresponds to the real time it takes for each amino acid to come after the next," according to Sternheimer, who studied quantum physics and mathematics at Princeton University in New Jersey.

In experiments by Sternheimer, he claims that tomatoes exposed to his melodies grew two-and-a-half times as large as those which were untreated. Some of the treated plants were sweeter in addition to being significantly larger. The musical sequences stimulated three tomato growth promoters, cytochrome C, and thaumatin (a flavoring compound). According to Sternheimer in the New Scientist, "Six molecules were being played to the tomatoes for a total of three minutes a day."

Sternheimer also claims to have stopped the mosaic virus by playing note sequences that inhibited enzymes required by the virus. This virus would have harmed the tomato plants.

The note sequences used by the inventor are very short and need only be played one time. For example, the sequence for for cytochrome C lasts just 29 seconds. According to Sternheimer, "on average, you get four amino acids played per second" in this series.

The inventor also issued a warning for those repeating his experiments. He warns to be careful with the sound sequences because they can affect people. "Don't ask a musician to play them," he says. Sternheimer indicated that one of his musicians had difficulty breathing after playing the tune for cytochrome C.

Plant stimulation by sound may have profound implications. The idea that a cheap source of "electromagnetic fertilizer" has been developed should be exciting for many third world countries. At a time when human progress can be made through simple solutions in agriculture, resources are being wasted in the extraction of mineral and oil compounds for fertilizers. If this method of fertilization were followed the human intellect would prove superior to physical capital in terms of distribution and production of this new technology.

The idea that sound can have a healing effect on humans is being explored by a number of independent scientists around the world. The know-ledge of the "sound effect on proteins" offers insights to health practitioners of the benefits to humans. In addition to the favorable economic factors, the increased vitality of the plant substances can positively impact the health of all humans that consume them.

The patent includes melodies for cytochrome oxidase and cytochrome C which are two proteins involved in respiration. It also includes sound sequences for troponin C which regulates calcium uptake in muscles. Further, a tune was developed for inhibiting chalcone synthase which is an enzyme involved in making plant pigments.



http://www.bekkoame.ne.jp/%7Edr.fuk/IndexE.html

 
 





METHOD FOR THE REGULATION OF PROTEIN BIOSYNTHESIS
US2002177186
2002-11-28
Jol STERNHEIMER

Classification:  - international: A61K41/00; C12N13/00; C12P21/02; A61K41/00; C12N13/00; C12P21/02; (IPC1-7): C12P21/06; A01N37/18; A01N43/04 ; - European: A61K41/00D; C12N13/00; C12P21/02
Abstract --- There is provided a method for determining the musical notes associated with an amino acid sequence, the musical periods of the sequence, the lengths of the notes, and the tone quality of the notes through the retroaction of the whole set of amino acids and using that information to regulate the biosynthesis of the protein. The amino acids that build a protein emit a signal of quantum nature at a certain frequency. Following the properties of this signal, the frequency is transposed into a musical note. This discovery has numerous applications since one can then deduce from the amino acid sequence of a protein a sequence of notes composing the melody that will act to stimulate or inhibit its synthesis inside an organism, wherefrom one can in addition delimit its biological functions.

Correspondence Name and Address:
    ALSTON & BIRD LLP
    BANK OF AMERICA PLAZA
    101 SOUTH TRYON STREET, SUITE 4000
    CHARLOTTE
    NC
    28280-4000
    US

U.S. Current Class:  435/69.1; 514/2; 514/44

Description

CROSS-REFERENCE TO RELATED APPLICATION

[0001] This application is a continuation-in-part of U.S. patent application, Ser. No. 08/347,353 filed Dec. 1, 1994.

BACKGROUND OF THE INVENTION

[0002] The present invention is directed to a method of regulating protein biosynthesis. More particularly, the invention is directed to a method for epigenetic regulation of in situ protein biosynthesis and its use in agronomy and health.

[0003] Demonstration of the musical properties of elementary particles suggests an important role for the scale at which the phenomena happen. (J. Sternheimer, C. R. Acad. Sc. Paris 297, 829, 1983). For example, it is known that the physical existence of quantum waves associated to particles propagate themselves not only in space-time, but also in that scale dimension, thus linking together successive levels of the organization of matter. (J. Sternheimer, Colloque International "Louis de Broglie, Physician et Penseur", Ancienne Ecole Polytechnique, Paris, Nov. 5-6, 1987). These waves allow an action of one scale onto the other, between phenomena that are similar enough to constitute, in a mathematically well-defined sense, harmonics of a common fundamental tone. (See J. Sternheimer, Ondes d'e'chelle [scaling waves], I. Partie Physique; II. Partie Biologique. Filed at Academie des Sciences (Paris) 1992 under seal no. 17064).

[0004] The theoretical reasons for the existence of scaling waves makes them appear as a universal phenomenon whose function is at first to ensure coherence between the different scales of a quantum system, and that especially takes shape and can be described in the process of protein biosynthesis. The peptidic chain elongation effectively results from the sequential addition of amino acids that have been brought onto the ribosome by specific transfer RNAs (tRNAs). When an amino acid, initially in a free state, comes to affix itself to its tRNA, it is stabilized with respect to thermal agitation --while keeping a relative autonomy because it is linked to the tRNA by only one degree of freedom--for its de Broglie wavelength to reach the order of magnitude of its size. This stabilization gives the amino acid wave properties.

[0005] Interference between the scaling wave associated to the amino acid and those similarly produced by the other amino acids, results in a synchronization, after a very short period of time (which can be evaluated to be about 10.sup.-12.5 second), of the proper frequencies associated with these amino acids according to one and same musical scale, which more precisely depends upon the transfer RNA population. However, to within the approximation of the chromatic tempered scale, this scale appears universal due to the very peculiar distribution of amino acid masses which is already very close to it.

[0006] The scaling wave phenomenon appears in a more explicit way when the amino acid carried by its tRNA fixes itself onto the ribosome. It is at this moment that the stabilization with respect to thermal agitation becomes such that the wavelength of the amino acid outgrows its size by a full order of magnitude. The scaling wave which then emits interferes, at the scale of the protein in formation, with similar waves previously emitted by the other amino acids. This interference draws constraints of a musical type for the temporal succession of the proper frequencies associated to these waves, so that the scaling waves continue their itinerary and insure coherence and communication between different levels of the organism. For example, the succession of these waves minimizes the dissonance (harmonic distance) and the frequency gaps (represented by melodic distance) between successive amino acids. Additional properties imply the existence of periods of minimization of harmonic distances showing punctuations in the temporal succession of frequencies which other levels will complete with correlations all the more rich and marked that they themselves are more numerous to influence the protein synthesis. The result is the prediction that proteins possess, in the very succession of the proper quantum frequencies associated to the sequence of their amino acids, `musical` properties all the more clear and elaborate that their biosynthesis is more sensitive to epigenetic factors in general. Conversely, it must be possible to act epigenetically, in a specific way for each protein onto that biosynthesis.

[0007] The observation of protein sequences confirms that all proteins possess musical properties in the sequence of their amino acids and these properties are all the more developed that those proteins are, in a general way, more epigenetically sensitive. (Data from M. O. Dayhoff, Atlas of protein sequence and structure, volume 5 and supplements, N.B.R.F. (Washington) 1972-78). In addition, the acoustic transposition of the series of proper frequencies corresponding to the production of scaling waves in phase with the elongation of a given protein,.shows a stimulating action onto the biosynthesis of this protein in vivo, and in a correlative way it has an inhibiting action for scaling waves in phase opposition.

[0008] In the case of animals having a nervous system the sound wave is transformed into electromagnetic impulses of the same shape and frequency right from the starting point of the auditory nerve. These impulses, by virtue of the scale invariance of scaling wave equations applied to the photon (which generalize Maxwell's equations), have a direct action, by scale resonance, on their quantum transpositions. Because the squared quantum amplitudes are proportional to the number of proteins that are simultaneously synthesized, the resonance phenomenon results, in the case of scaling waves in phase, in an increase of the rate of synthesis, as well as a regulation of its rhythm, and in the case of scaling waves in phase opposition, in a reduction of this rate. (cf. P. Buser and M. Imbert, Audition, Hermann diteur, Paris, 1987). Among plants, the sensitivity to sounds is visible through interferometry and the scaling waves behave theoretically in a similar way.

[0009] The solution to the scaling wave equation, which effectively shows the existence of scaling waves having a range close to Avogadro number, anticipates similar properties for the scaling waves drawn from the spatial distribution of amino acids (whose de Broglie wavelength is then comparable to their size) inside the protein after it has been synthesized. The solution then provides a range approximating the square root of that number. The observation of their tertiary structures confirms the existence of harmonies within vibratory frequencies of amino acids spatially nearby inside proteins (and especially at their surface, as can be expected from their wavelength). An appreciable stabilization of the effects obtained with the use of the musical transpositions is then observed using colored transpositions of these spatially distributed frequencies.

[0010] The present invention is drawn from these observations.

SUMMARY OF THE INVENTION

[0011] The method of the invention comprises determining the musical notes associated with an amino acid sequence, the musical periods of the sequence, the lengths of the notes, and the tone quality of the notes through the retroaction of the amino acids and using that information to regulate the biosynthesis of the protein.

[0012] Stated in another way, the amino acids which build a protein emit a signal of quantum nature at a certain frequency. Following the properties of this signal the frequency is transposed into a musical note in such way that playing back the melody of a protein will stimulate or inhibit its synthesis. This discovery has numerous applications since deduction of the amino acid sequence of a protein provides a sequence of notes composing the melody which will act on its synthesis inside an organism. Thus, by diffusing to a plant the music of a protein which plays an important role in flowering, more flowers are produced.

[0013] Stated more scientifically, the method of this invention uses the regulating action on the biosynthesis of proteins by scale resonance of transpositions into sound of temporal sequences of quantum vibrations associated with their elongation. This action may be an increase of the rate of synthesis or a reduction of this rate, depending upon whether the modulation of the vibration frequencies used is in phase with, or in phase opposition to the elongation. This is true for the quantum vibrations as well as for their transposition into sound. The result is further stabilized by the actions, again through scale resonance, of colored light transpositions of grouped quantum vibrations arising from the spatial conformation of proteins issued from this elongation.

[0014] This method applies in a specific way to every protein of known structure. Its use is all the more appropriate when the synthesis of this protein is even more dependent upon epigenetic factors, that is to say external to the DNA of the system to which it belongs, and especially in the present case, upon acoustic and electromagnetic factors. In addition, the method uses the determination of metabolic agonisms and antagonisms of these proteins due to scale resonance phenomena naturally associated with their biosynthesis. The characterization of these proteins in their associated metabolic subsets is another feature of the present invention.

[0015] The identification of proteins designed to be regulated as part of a given application includes other criteria a correspondence between acoustic and electromagnetic phenomena or which effects can be observed on living beings and the transposed proteic sequences.

BRIEF DESCRIPTION OF THE INVENTION

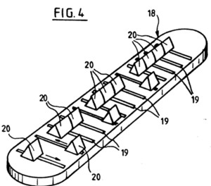
[0016] Certain features and advantages will be evidence from the drawings when considered in conjunction with the accompanying drawing in which:

[0017] FIG. 1 shows the musical scale cytochrome oxidaze and cytochrome C;

[0018] FIG. 2 shows the cytochrome C humain region for amino-terminal and legends;

[0019] FIG. 3 shows Hystone IV and chalconesynthase; and

[0020] FIG. 4 shows "heat shock" HSP 27 Ethsp 70 and Troponinec.

DETAILED DESCRIPTION OF THE INVENTION

[0021] The present invention will now be described more fully hereinafter with reference to the accompanying drawings, in which preferred embodiments of the invention are shown. This invention may, however, be embodied in many different forms and should not be construed as limited to the embodiments set forth herein; rather, these embodiments are provided so that this disclosure will be thorough and complete, and will convey the scope of the invention to those skilled in the art.

[0022] There is provided a method of regulating protein synthesis in situ, using a musical sequence corresponding to the amino acid sequence of a protein through the decoding and transposition into sound of a temporal series of quantum vibrations associated with the elongation of the amino acid chain of the protein. The method of regulating protein synthesis in situ requires at least the following steps: the sequence of musical notes is determined; the period appearing in the molecule is determined; the period is rectified, if necessary; the rhythmic style is checked through the distribution of the bases of DNA; and the tone quality is determined.

[0023] Determining The Sequence Of Musical Notes. The sequent of music notes associated with the amino acid chain of a protein is determined by associating a musical note with each amino acid. More specifically, within the approximation of the tempered scale a universal code for the stimulation of protein synthesis is obtained. That code is:

[0024] Gly=low A; Ala=C; Ser=E; Pro Val, Thr, Cys=F; Leu, Ile, Asn, Asp=G; Gln, Lys, Glu, Met=A; His=B flat; Phe, as well as SeC=B; Arg, Tyr=sharp C; Trp=sharp D

[0025] which are deduced from the notes of the code by taking the notes of the chromatic tempered scale which are symmetrical to those of said keynotes with respect to central G.

[0026] There is another code for inhibition, which is deduced from the preceding code by symmetrization of the logarithms of the frequencies around their central value:

[0027] Trp=C; Arg, Tyr=D; Phe, SeC=E flat; His=E; Gln Lys, Glu Met=F; Leu, Ile, Asn, Asp=G; Pro, Val, Thr, Cys=A; Ser=B flat; Ala=sharp D; Gly=sharp F

[0028] that are deduced from the notes of the code by taking the notes of the chromatic tempered scale which are symmetrical to those of said keynotes with respect to central G.

[0029] The application of the universal code results in scaling waves respectively in phase with and in phase opposition to those taking place during the synthesis process. The term "universal code" means that this code is identical for all proteins to within the approximation of the tempered scale; the low A, for a central frequency located 76 octaves below the centre of gravity of the initial frequencies of leucine, isoleucine, and asparagine, is at 220 Hz. The expression of harmonic distance given above extends the definition suggested by Y. Hellegouarch in C. R. Math. Rep. Acad. Sci. Canada, Volume 4, Page 227, 1982. The exact values of the frequencies depend on the proportions of the groups of the above-mentioned amino acids among the transfer RNA population surrounding the protein biosynthesis.

[0030] Determination of Frequency. The next step is to derive the frequency of each of the notes. The following code is derived in the following manner, which also optionally enables to give a more precise frequency value to each note. The frequency of the musical notes is calculated from the frequencies of amino acids in their free state (proportional to their masses) by minimizing the global harmonic distance .SIGMA.ij P.sub.i P.sub.j logsup (pi, qj) calculated for all possible pairs of notes, (pi/qj) being the harmonic intervals globally the closest to the corresponding proper frequency ratios. Their respective proportions P.sub.i, P.sub.j in the environing population of transfer RNAs are taken into account. While respecting the condition .delta.f<.DELTA.f/2 where .delta.f is the displacement of the initial frequency towards its synchronized value and .DELTA.f is the interval between the two successive synchronized frequencies of the obtained scale, which encompass this initial frequency. The resulting frequency is then transposed into the field of audible frequencies. See, method described in the French patent number 8302122.

[0031] Determination Of The Musical Period. Once the frequency of each musical note is determined, the musical period is determined by identifying similar series of musical notes. The existence of musical periods results directly from that of scaling waves.

[0032] An indication is given by the presence of obvious cadences producing punctuations in the musical development. Obvious cadences include such cadences as GG, F-S. That is to say, F closely followed by S, as well as the cadence ending the signal peptide when it is present, for stimulation; series of R or Y, for inhibition; exceptionally, relative pauses induced by harmonic variations which would otherwise be too straight; and in all cases, cadences expressing the return to the tonic note.

[0033] The similar passages are then determined. One method of determination is by the direct repetition of notes. When this method is used the period is given by a simple calculation of autocorrelations of notes. More specifically, by minimizing the frequency differences between notes by the number that minimizes the average on the protein of melodic distances between notes located an integer number of intervals apart.

[0034] A second method is to determine the melodic movements of the musical notes. The period is calculated by autocorrelations of signatures--or frequency variation signs--from one note to the next. More specifically, the period is determined by calculating autocorrelations of the melodic distances from one note to the other, the distances being counted with their sign, i.e., multiplied by the corresponding signatures; or even more finely, by the number which minimizes the average on the protein of step by step melodic distances variations, to within an integer number of intervals apart. The repetition of the melodic contours are processed by a calculation of autocorrelations of pairs, or even better, of triplets of signatures.

[0035] A third method of determining the period of the musical notes is by the logic of the harmonic movement that reproduces the notes or the melodic movement to the nearest simple harmonic transposition. The period is then given by the number that minimizes the average on the protein of harmonic distances between notes located an integer number of intervals apart.

[0036] Sometimes when an "alignment" of similar sequences is present, the period appears in the additions or in the deletions of certain of the sequences. The result gives a melodically and harmonically coherent progression. To do that, account is taken of the fact that the last notes of each period or member of phrase--usually the second half, and more particularly the last note--as well as those situated on the strong beat are the most important for this progression. The final result is the most significant respecting the whole of these criteria. These different elements are balanced according to their relative importance in the protein, and especially the harmonic and melodic distance by the square of the ratio of their normalized standard deviations. There is usually one that is distinctly more significant than the others.

[0037] Cases similar to allosteria nevertheless exist, and have a biological meaning (stimulation or inhibition by such molecule or such other one during the metabolism), but influence more frequently the position of the measure bars than the period. It is noted that metabolic function is different according to the context, for instance, CG rich or AT rich; the measure bars depending upon the composition of the DNA, as the "Christmas trees" that can be seen during certain syntheses clearly displayed (cf. B. Alberts and al., Molecular biology of the cell, 2nd edition, Garland Publ. Co. 1989, page 539).

[0038] Determining The Lengths Of Musical Notes. If necessary, the period is rectified so that the melodic passages that repeat or follow one another can be found in the same place inside the measure. From this rectification the individual lengths of the musical notes are deduced. This operation of adjusting the phrasing to the measure is comparable to the well known phenomenon of lengthening the vowels of a sung text.

[0039] In practice, the operations described above can be performed most easily with a keyboard, such as a Casio.TM. equipped with a "one key play" device, or with a computer programmed especially for that purpose with stored sequence of musical notes and where the sequence of notes can be played. However, some precautions are required. Prudence implies, among other things, to decode the same molecule or a musically similar molecule, in the direction of inhibition (or in any case in the direction opposite from the initial one), taking into account the fact that molecules very often have a preferential decoding direction. It is often the case that pairs of molecules that sensibly exert the same function find one pair being more musical in inhibition and the other one in stimulation.

[0040] Checking Rhythmic Style Through The Distribution Of The Bases of DNA. When the molecule is musical enough, the period of autocorrelations corresponds to that of the protein. The autocorrelations determine in principle the measure bars, the ranks of base triplets--or more precisely of bases in third position in these triplets--for which the peaks of autocorrelation are the highest, corresponding to the most accentuated notes. By referring to codon sage, in comparison with known molecules (already decoded, or more regular and thus raising less difficulties) having the same supposed rhythmic style; the style of musical rhythm (which by constraining the accentuation of notes, influences the choice of bases in third position) determining the codon usage. Molecules of the same style must therefore have the same codon usage. If necessary, the decoding of some passages is corrected.

[0041] Determining The Tone Quality. Tone quality is, in principle, different for every molecule and for every distribution of musical notes. In theory, tone quality mainly depends upon the molecule itself but it also depends upon all the levels of the organism which retroact on the harmonic structure of amino acid vibrations. The tone quality of the musical sequence is determined by comparing the repartition of the music sequence of the amino acid chain to the average repartition of those notes of the whole of the protein to determine which harmonics must be raised or lowered. The term "tone quality" or timbre is characterized by the harmonic structure of a note and more precisely by the variation of harmonic structure over a given note.

[0042] A first approach is given by adjusting the distribution of molecule notes to the theoretical graph of that distribution. The distribution is deduced from the scaling wave equation. The distribution also corresponds to what can be observed in average, on the whole of proteins. This adjustment to the tone quality requires determination of which harmonics are amplified and which are softened in the wanted tone. See, French Patent No. 8302122. The closest tone quality is then selected in a palette of given ones. For example, a voice memory or as one can already find included in many expanders and musical softwares. To distinguish more precisely between three situations: (1) distribution of notes constant along the molecule to provide a relatively fixed harmonic structure; (2) straight distribution changes to provide different successive tones of instrument, for instance cytochrome C with several organ registers; and (3) progressive distribution change which then reproduces the time evolution of the harmonic structure of one note, for example, myosin, where this evolution indicates a timbre of trumpet.

[0043] Apart from this, determining the tempo gives no real problem to the technician because it normally follows from the rhythmic style. It is generally all the faster that there are important redundancies in the proteic sequence, as it is the case for fibrous proteins.

[0044] Determining The Colors. Optionally, the colors are determined by applying the universal code. The color is deduced from vibration frequencies of individual amino acids through the formula (drawn from scaling wave theory): .nu..about..nu..sub.0 Argch (e (.function./.function..sub.0) Logch 1), where (.function., .function..sub.0 represent the proper quantum frequencies associated with aminoacids as previously, and .nu., .nu..sub.0 those of colors, the index 0 showing central values. This gives the following code relating to the stabilization of proteins synthesized in situ (the code related to the stabilization of their inhibition is deduced as in section 1 by symmetrization of the logarithms of frequencies with respect to the central lemon yellow):

[0045] Gly=dark red: Ala=bright red: Ser=orange; Pro, Val. Thr, Cys=ochre; Leu, Ile, Asn, Asp=lemon yellow; Gln, Glu, Lys, Met=green; His=emerald: Phe=blue; Arg, Tyr=indigo; Trp=purple,

[0046] these frequencies then being moved towards red or purple according to the global repartition of the molecule frequencies in a way similar to the description for tone quality as above. The spatial position of colors is the same as those of the amino acids in the tridimensional spatial representation of the molecules.

[0047] Several examples are set forth below to illustrate the invention and the manner in which it is carried out. In these examples as well as in the figures, the one-letter notation for amino acids: Gly=G; Ala=A; Ser=S; Pro, Val, Thr, Cys=P, V, T, C respectively; Leu, Ile, Asn, Asp=L, I, N, D; Gln, Glu, Lys, Met=Q, E, K, M; His=H; Phe=F; Arg, Tyr=R, Y; Trp=W is used.

EXAMPLE 1

[0048] This example illustrates decoding a protein that is regular from beginning to end. Cytochrome C provides a constant deletion of eight amino acids (sometimes seven) among animal proteins when compared to plants. Observing the autocorrelations of musical notes and melodic contours confirmed the value of the musical period.

[0049] The occurrences of the same note was counted and the same direction of pitch variation occurred three times in a row (the same triplet of signatures), which was distant from an integer number k of musical notes. The following result was obtained:

[0050] Values of k 1 2 3 4 5 6 7 8 9 10 11 12

[0051] Note autocorrelations 19 15 15 20 19 15 17 21 14 17 18 13

[0052] Melodic contour autocorr. 1 7 4 6 5 10 8 13 5 4 4 4

[0053] Total 20 22 19 26 24 25 25 34 9 21 22 17

[0054] the peak at k=8 being worth about 2.5 standard deviations (as compared to its expectation value 22.3.+-.4.7 determined from the repartition of notes of the molecule). The significance of this peak was reinforced when using melodic distances.

[0055] The peak outgrew distinctly 3 standard deviations when the autocorrelations of melodic intervals were included by taking as a definition of the melodic distance between two notes, the absolute value of the difference of the ordinal ranks of their tempered frequencies arranged in ascending order. This definition is derived from the usual nomenclature: second, third, etc., for the notes of a musical mode. The secondary peak at k=7 then became slightly significant, corresponding to the relative stretching of the seventh note which tended to precede the return to the tonic; whereas, the one at k=4 was reinforced when harmonic distances were used to spatial foldings of the molecule.

[0056] The observation of the cadences also confirmed this value, as well as that of the internal similarities. The last five notes of the first, second and third group of eight produced together an exact harmonic superposition. In other words, a canon for three voices. More precisely, these last two investigations showed a greater relative importance of the seventh note (F-S cadence on the second period) and the eighth note (back to the A minor tonic) for each period. The latter once more prevailing over the former. That is, the perfect S-Q cadence on the sixteenth note prevailed over the preceding F-S cadence with the recovering of the initial tonality. The division of the period resulted in six semiquavers, one quaver, one crotchet (which meant relative lengths 1-1-1-1-1-1-2-4 with a 6:8 rhythm as shown in FIG. 1). The coherence of the melodic progression (wherefrom the observed regularity mainly proceeds) as well as the richness of the harmonic progression, the A minor tonality being accompanied with modulations in E minor (second bar), G minor (eighth bar), and F major (third and ninth bar) was apparent.

[0057] The first and seventh notes of each period fostered, respectively, adenine and thymine in third position; whereas, the third and eighth notes fostered in the same way cytosine and guanine. This confirmed the above division for the period and the relative lengths of notes. In other words, the seventh and eighth notes had lengths that were respectively twice and four times the first. This also showed that in an AT-rich environment strong beats were on the first and seventh notes, and therefore the measure bars were on the first. However, in a CG-rich environment the musical sequence started on an anacrouse (strong beat on the third and eighth notes, measure bar on the third).

[0058] The conclusion was that the protein had distinct metabolic roles, depending on its environment.

[0059] Actually, the range of its metabolic action was first demonstrated by the degree of its musical evolution. In comparison with the sequence of Euglena gracilis, in the three first measures an improvement of 56% of the melodic [regularity] level and of 16% of the harmonic [regularity] level was observed as defined from the minimization of the respectively melodic and harmonic distances between successive notes.

[0060] The search of musical similarities with other proteins showed the possibility to superpose cytochrome C onto endozepine with a musical reading frame compatible with the measure bar on the first note. This resulted in a slightly AT-rich molecule; thereby predicting an anti-depressive role for the cytochrome (and its music), through the eventual desinhibition of neurotransmission; as well as, a musical enchainment (then beginning on an anacrouse) with cytochrome oxidase. Cytochrome oxidase is slightly CG-rich and ends the respiratory chain.

[0061] As for tone quality, because tonality was present in A (minor), the quasi absence of the fourth (D) and the relative weakness of the fifth (E) compared to the distinct dominance of the tonic note and to the abundance of the octave (low A-medium A) privileged harmonics 1 and 2, to the prejudice of the followings, indicated an organ timbre with slightly different registers according to the passages.

[0062] As shown in FIG. 2, colors effectively grouped themselves into colored stains onto the mature protein with, as in the case for music, remarkable harmonic responses. The color determination was useful to confirm the musical decoding, insofar as some autocorrelations of notes were translated not into the musical period but in the spatial folding of the molecule. The spatial folding must eventually be subtracted to determine the musical periods. It was found that where a secondary peak of these autocorrelations, k=4, due to the .alpha.-helix of the beginning which can be seen in FIG. 2, corresponded to these foldings. Conversely, the musical decoding gave indications about the spatial structure of a protein.

EXAMPLE 2

[0063] This example illustrates control of the decoding of a protein showing rhythmical variations. The decoding was controlled at different levels including the decoding of molecules known to be metabolically agonist and the coherence of the conclusions that were drawn from the musical similarities observed.

[0064] Recovering full sections of the metabolism facilitates the decoding. In Example 1, the "rhythmic formula" of cytochrome C was transcribed as follows:

1 .vertline.6/8 GDVEKGK:K:::.vertline.IFIMKCS:Q:::.vertline.CHTVEKG- :G:::.vertline., etc. + + + + + + + + + + + + + + + + + +

[0065] where the +underline the strong beats, the .vertline. indicate the place of measure bars and the: indicate the lengthening of notes.

[0066] In subunit III of cytochrome oxidase, which is musically chained to cytochrome C, the beginning is a four-time formula as shown by the internal similarities. The notes 7 to 22, which remind in their contours the manner of Bach, were split into groups of four notes, each one being superposable to the next. At the tenth measure, another measure which was not only superposable was found onto the first measure of cytochrome C, but was in fact, even practically identical to the third measure of the same cytochrome. This implied a lengthening of the eighth measure (as the cadence seen at the end of this measure already indicated in itself), in a six-time measure (FIG. 1):

2 .vertline.4/8 MTHQSHAY.vertline.HMVKPSPW.vertline.PLTGALSA.vertli- ne.LLMTSGLA.vertline. + + + + + + + + + + + + + + + + MWFHFHSM.vertline.TLLMLGLL.vertline.TNTLTMYQ.parallel.6/8 WWRDVTR:::::.vertline. + + + + + + + + + + + + + + + + + + + ESTYQGH:H:::.vertline.TPPVQKG:::::.parallel. + + + + + + + + + + + +

[0067] This change in rhythm (from 4/8 to 6/8) was visible in base autocorrelations of the DNA where, at this point, the prominent peak went from the fourth to the sixth base triplet.

[0068] As seen in FIG. 1, the sequence started on an anacrouse emphasizing the strong beat on the third note, in view of the enchainment with the CG-rich rhythmic variant of cytochrome C.

EXAMPLE 3

[0069] The example illustrates reconstitution of a metabolic chain including stimulations and inhibitions.

[0070] The decoding of histone 4 was particularly easy. The periodicity of 7 is clearly visible on the sequence at the outset of the molecule. The repetition of G within a two amino acid interval indicates a binary rhythm, and the GG cadences that end the two first periods specify right away a four-time rhythm:

3 .vertline.SGRGKGG:.vertline.KGLGKGG:.vertline.; + + + + + + + +

[0071] this pattern continued until the end of the sequence, with the only exception being the last measure which was syncopated to recover the rhythm of the first two measures. See FIG. 3. The global repartition of the notes showed a harmonic structure corresponding to the tone of a flute. The "skip of notes" repeated from the beginning, which suggested a sound with an attack and a timbre similar to that of Pan's pipes.

[0072] Histone 4 is one of the most conserved proteins among the animal and plant kingdoms. This does not mean that its metabolic action doesn't sometimes need to be tempered. The theme of histone 4's first two measures was found in inhibition and transposed to the fourth, in the conserved part of the beginning of chalcone synthase, which is the pigmentation enzyme of many flowering plants. See FIG. 3. This may be compared to the supposed role of chromatin, which histone 4 is part of, in the process of magnesium fixation. During spring, plants need a lot of magnesium for photosynthesis and the plant's fixation needs to be stimulated. Chalcone synthase is then inhibited; whereas, during the fall, the weaker stimulation of histone desinhibits chalcone synthase and allows the replacement of the green of the leaves by brighter colors of that season, the diversity of which, so much praised by the poets, becomes thus more understandable through their epigenetic component.

[0073] When listening to the musical transposition of histone 4, several auditors reported "an urge to eat chocolate" which contains magnesium. Some auditors found that "it produces the same effect as that of granulated magnesium, except that this effect is immediate in this case". This presents some inconvenience for people having a slightly too high rate of cholesterol. Actually, the musical decoding of chalcone isomerase--the metabolically agonist of chalcone synthase, but which "works better" musically in stimulation--included a series of themes and variations whose succession reproduced, in flowering plants, themes of the full metabolic chain regulating cholesterol in man. In addition, the frequency of the ascending fourths in chalcone isomerase tended to approximate that observed in the alcali light chain of mammalian myosin, which stimulated muscular contraction (while magnesium acted as a muscular decontractant). Listening to the musical transposition of histone 4 encouraged physical exercise which is another way to lower cholesterol.

[0074] In fact, this example underlines the importance of a quasi-general phenomenon, that is, the epigenetic co-operation of different factors in the stimulation of protein synthesis, which accounts for the aspect meaningful in itself of the musical sequences. In this way for example, listening to myosin will generally suggest a military march.

EXAMPLE 4

[0075] This example illustrates the biochemical analysis of an epigenetic cooperation involving harmonic superpositions. The biochemical analysis of these epigenetic cooperations is a valuable help for decoding.

[0076] Another way to stimulate epigenetically the muscular decontraction is heat, whose healing action for rheumatism, for example, is well known. The action of heat is conveyed by a group of proteins called heat shock, generally synthesized together. This suggests that the proteins should show harmonic superpositions. In fact, the hsp 27 protein, which appeared to be the most musical, superposed itself onto the beginning of the hsp 70 protein, the most abundant, which sort of played here the role of a bass line. These two molecules were again superposable together with the beginning of troponin C, which regulates calcium in muscular contraction. The conclusion was that it plays a role as an anti-rheumatic and that its musical level is high (FIG. 4). Other molecules, also of a high musical level and epigenetically sensitive, were implicated in this type of ailment, from the stimulation of prolactin and beta-lipotropin (precursor of beta-endorphin) to the inhibition of estrogen receptor, including the inhibition of IgE and interleukin 1 beta.

[0077] These examples clearly show how large sections of the metabolism can be reconstituted step by step, with many ways to check or control the coherence of the results obtained, and thereby to precise the musical decoding of the concerned proteins.

EXAMPLE 5

[0078] This example shows a practical application of the method of this invention using the transcriptions in the form of either musical scores, or of recordings of the obtained musical sequences.

[0079] The recordings of musical sequences may be realized from musical scores described earlier, by using one of the methods evaluated in B. H. Repp, J. Acoust. Soc. Am. 88, p.622 (1990). The most precise of these methods was used in the examples hereby given.

[0080] In the fields of agronomy and textile industries this invention provides methods to stimulate certain specific protein synthesis, for example, bovine lactation, fermenting of baker's yeast, the sweet taste of some fruits, animal or plant fibres (keratine of sheep's wool, fibroin of silkworm, etc.), as well as the proteins specific to certain medicinal plants. In the field of environment the method of this invention is used, for example, in the assimilation of industrial effluents through plants by stimulating the biosynthesis of the corresponding proteins.

[0081] The method of this invention was used on a cow who regularly, during 15 days and at the time of milking, listened to recordings of musical transcriptions of the amino acid sequences of bovine prolactin, lactoglobulin, and lactalbumin. A reduction, by a ratio of 3, of the relative quantity of whey was observed, resulting in a milk highly enriched in proteins, and in a particularly savory cheese.

[0082] In another experiment growing tomato plants were given a "cocktail" of musical transpositions of different proteins including: specific virus inhibitors, various extensions, then a flowering enzyme (LAT 52), an antibacterial protein having musical similarity to thaumatin, an improvement of sugar percentage (P 23), and inhibitors of fruit softening enzymes (pectinesterase and polygalacturonase). A distinct increase in size and number of fruits (summing up to a ratio of about 3.5) was observed, as well as, a sensitive increase of the sweet taste in a significant proportion of the fruits that had particularly received P 23.

[0083] These noteworthy results go along with a certain amount of precautions, namely, there exist some counter-indications to an excess of stimulation, especially of prolactin, which must be cautiously taken into consideration by breeders that carry out these methods, as well as for the animals themselves who may be fragilized. In the experiments carried out on cows with Mozart music--bovine prolactin has in fact, apart from a "musical level" particularly high which can here define in a mathematically simple way some musical turns that can be qualified as "typically Mozartian"--the rate of mammites could seem worrying. In such a case one ought to complete the hearing of prolactin with that of alpha-1 antitrypsin, whose musicality is also very elaborate and whose metabolism is complementary. Similarly for tomatoes receiving outside stimulations, one must be cautious not to interrupt the cycle too suddenly.

[0084] These results give an indication of the order of magnitude of results obtainable in such conditions.

EXAMPLE 6

[0085] In the therapeutic and preventive fields, many ailments are characterized by a specific metabolic weakness and can therefore be efficiently prevented or treated with the help of the present invention. This example illustrates such prevention or treatment.

[0086] Because the minimal length of a musically active sequence is of the order of that of a signal peptide, i.e., from several amino acids to a few tens, this action may be very fast and appear after a few seconds or a few minutes. Nevertheless, the complete integration of the produced effect can take slightly more time, or even require, in case of a strong cultural conditioning, i.e., a certain initial training. But usually, this initial training is accomplished rather rapidly for the obvious benefit of the persons concerned.

[0087] For a responsible use of the described method, it is important to know the metabolic role of the molecules involved. And it is of course one of the interests of the musical decoding of proteins (associated to the corresponding colors) to allow, by systematically spotting the similarities and counter-similarities of melodies (and colors) from the protein sequences that are known and available in data banks, to select proteins that are metabolically agonist and antagonist of a given protein, for which the degree of musical elaboration also gives an indication of the importance of its metabolic role. The described method therefore allows determinations of precise particular indications for some proteic sequences.

[0088] As earlier noted, in animal or plant proteins, especially among the most musical ones, successive melodic fragments of human metabolic chains were observed. Therefore, the transpositions which were found to be active on man were not limited to human molecules. On the other hand, the metabolism of those species seems in some way more "specialized" for the production of certain molecules, and it is indeed the most musical proteins that will be the most important for the applications. Of course, these correspondences between different species facilitate the delimitation of the metabolic role, and the decoding of proteic sequences.

[0089] The musicality of a molecule implies in itself that its epigenetic stimulation is preferable for a therapeutic use, (because of the range of its metabolic interactions), to its direct absorption. The "most musical" molecules are generally those for which either the production by genetic engineering, or the therapeutic use which derives from it, will meet some problems, such as of transportation to the site of action, or of stability, or more specifically of secondary effects related to doses that should be much more important than what they are in the body to obtain comparable effects, because then, the scaling waves naturally associated to their production are not present any more. This is particularly true for the inhibition of proteins, when the natural inhibitor is much heavier, or simply when the production needs to be reduced at a given time or in a systematic way.

[0090] Eventually, concerning the use of transcriptions of proteic sequences, the very quickness of their action may allow, by differential comparison, especially bipolar, of their positive and negative effects to precisely which one is the most appropriate in a given situation. This identification is facilitated by the comparison with transcriptions of known proteic sequences of acoustic or electromagnetic phenomena exhibiting distinct series of frequencies, and for which some effects have been observed in a similar situation.

[0091] As will be appreciated from the above, the invention is in no way limited to those methods of putting it into effect, of construction and of application which have been described above in detail; on the contrary, it covers all versions which may be conceived of by workers skilled in the art, without exceeding, either the framework or the scope of the present invention.




http://v3.espacenet.com/textdoc?DB=EPODOC&IDX=FR2565016&F=0

FR2541024
  Guitar-type Stringed Instrument for the Acoustic Modelling of Elementary Particles

Abstract -- This instrument is characterised in that it comprises a device for creating microintervals carried by the neck 2 of the instrument and comprising at least one movable crosswise fret (bar) and means for moving the fret along the neck. Application: musical instruments.


 




Guitar-Type Stringed Instrument for the Acoustic Modelling of Elementary Particles

FR2565016
1985-11-29

STERNHEIMER JOEL; FLEJO PHILIPPE; FAVINO JEAN-PIERRE; TREBUCHET JEAN-CLAUDE
Classification:  - international: G10D1/08; G10D3/04; G10H3/18; G21K1/00; G10D1/00; G10D3/00; G10H3/00; G21K1/00; (IPC1-7): G10D1/08; G10G1/02; G10H3/12; G10H7/00
- European: G10D1/08; G10D3/04; G10H3/18D; G21K1/00
Abstract--- This instrument is characterised in that it comprises a device for creating microintervals carried by the neck 2 of the instrument and comprising at least one movable crosswise fret (bar) and means for moving the fret along the neck. Application: musical instruments.

Also published as: WO9324645 (A1) / EP0648275 (A1) /  OA10113 (A)  / FR2691976 (A1) /  EP0648275 (A0)





METHOD FOR THE EPIGENETIC REGULATION OF PROTEIN BIOSYNTHESIS BY SCALE RESONANCE
DE69334164T
2008-05-21

Classification:  - international: C12Q1/68; A61K41/00; C07K1/00; C07K14/47; C07K14/80; C12N13/00; C12P21/02; G10H1/00; C12Q1/68; A61K41/00; C07K1/00; C07K14/435; C07K14/795; C12N13/00; C12P21/02; G10H1/00; - European: A61K41/00D; C12N13/00; C12P21/02
 



Two e-mails in disclaimer form /  Deux courriers électroniques en forme de mise au point

Suj :  ’Proteodies’ vs. music  (after a response to an e-mail from United States, July 2001)

Sir:

I did not "develop a theory of music-amino acid correspondence".  I already made a similar deny in a letter to the New Scientist which was  published on aug. 6, 1994, p. 50, as well as to the french magazine 'Courrier International' which published it a bit earlier, on july 7th of the same year.

More precisely, man-composed melodies follow cognitive constraints of a statistical nature which clearly separate them from sequences of frequency intervals as they may be computed from protein elongation processes, whatever (truly remarkable) properties they have in common on other grounds.

 Therefore, the latter, when expressed in sound form, differ from ’music’, as they do from ’noise’. They are new stuff, which could not have been processed before present genome sequencing, but which come to be now - whether, in fact, or to which extent they should, may be open to debate.  Still, they have impressive, reproducible effects, observable at both macroscopic and molecular levels, on in situ viruses, cells, plants, animals - and people, who can exert appropriate control on them, thanks to their audibility. But have to do it with great care.

Why? because unlike music as long as it falls in behind cognitive laws, ’proteodies’ as we call them may be quite dangerous if not manipulated carefully. What may heal, may also harm, and whenever a metabolic cascade is triggered, may not be that easy to reverse. In 1997, a color form expression corresponding by ’chance’ to a short excerpt of an epileptogenic  GABA receptor, which was broadcasted on a japanese television program, drove 700 children to hospital - the full sequence would have driven tens of thousands (cf. Yomiuri Shimbun, dec. 25, 1997; Japan Times, apr. 4, 1998). Such a risk, which is quite real, can only be increased by confusing publicity.

If you need yourself any more precisions, you may call me on Tuesdays or  Thursdays afternoon (Paris time), at my office number 33 1 55 55 86 78.

Yours
Joël Sternheimer


Suj : Re : rencontres sur le son
Date : 20/03/01 (extrait de réponse par courrier électronique à une offre de participation à une conférence)

Cher monsieur

Certes la musique me passionne... Cependant je ne puis souscrire au titre que vous m’avez communiqué pour votre projet de conférence: "le son: des phénomènes vibratoires aux dérivés musicaux". La musique ne se réduit pas à un "dérivé" de son ou de phénomène vibratoire, car entre les deux il y a un sujet qui s’exprime. C’est comme si l’on disait que la fable du corbeau et du renard dérive du papier sur lequel elle est imprimée.

Une mélodie peut être comprise de façon active (au sens physique du terme) comme une suite de sons, et de façon passive comme un son dans lequel ’on’ change plusieurs fois l’unité de mesure de fréquence sonore: ’on’, c’est-à-dire le sujet qui choisit l’unité, et qu’on ne peut évacuer. Dans l’influence des ’musiques de protéines’ sur les plantes, ce qui agit est non pas la vibration mécanique mais l’information contenue dans la suite des intervalles d’une fréquence à l’autre, c’est-à-dire dans la donnée des changements d’unités successifs effectués par la plante-sujet qui reçoit ces sons. Le son n’est ici que le support de l’information, laquelle peut être transmise sur d’autres supports de la même façon que le texte de cet e-mail se passe de papier.

En ces temps de réification sauvage où le sujet est ouvertement occulté, où les plantes sont transformées en objets dont on modifie le génome et les vaches carrément massacrées pour rien, ce serait terrible que de vouloir réifier aussi la musique, lieu du sujet par excellence, en la présentant comme un ’dérivé’ du son! Si l’écoute d’un timbre particulier peut éveiller l’envie ou le besoin de le développer en une mélodie, c’est parce qu’il aura éveillé chez le sujet qui l’entend une sensation qu’il aura su exprimer: bien sûr que la suite des notes reflètera (si le compositeur est ainsi sensible) certaines propriétés de l’amplitude des harmoniques de ce timbre, mais qui ne suffisent nullement à la déterminer.

Même si vous entendez par "phénomène vibratoire" l’émotion qui accompagne la dérépression d’un gène et la synthèse d’une protéine résultante chez une personne qui aura su en capter un écho ou un fragment à l’intérieur d’elle-même, le résultat sous la plume du compositeur ne pourra en être un simple dérivé à cause des limites propres à la cognition, qui limitent drastiquement la longueur du fragment en question. Il lui restera tout un travail d’élaboration pour produire une musique, qui pourra suivre des lois mélodiques, rythmiques et harmoniques similaires, mais qui seront nécessairement distinctes sur le plan cognitif: on s’en rend bien compte lors des tentatives de mémorisation des ’musiques de protéines’ par ceux qui les écoutent, qui diminuent toujours, et souvent à leur insu, la quantité moyenne d’information par intervalle, soit en réduisant ceux-ci, soit en introduisant des redondances, même relatives (c’est-à-dire en répétant localement certaines séquences sur une autre tonalité).

En un mot, les objets peuvent produire des sons, les sujets font de la musique...

Je serais heureux de développer ces éléments, mais dans une conférence portant un titre qui ne les contredirait pas! Si vous voulez en discuter plus avant, vous pouvez m’appeler au siège de notre association (1 rue Descartes à Paris) le mardi et le jeudi après-midi au 01 55 55 86 78.

Bien à vous

Joël Sternheimer


Sir:

Thank you for your e-mail.

There is no 'agricultural music CD' available or for open sale. There are proteodies available, i.e. epigenetic sound sequences able to stimulate or inhibit specifically well-defined proteins, and which must be used very carefully since they may also affect humans. They cannot therefore be diffused in open air in places where human may travel through.

For grapes, are presently available: - stilbene synthase, for resveratrol synthesis, i.e. protection against some specific diseases; - caffeoyl-coenzyme A methyltransferase; - several proteins to enhance sugar content in grape.

If any of these fits a problem of yours please let me know, as we may then discuss of a user's license. A young agricultural engineer who passed his thesis in Gand on this subject has recently recieved funding from a french foundation to develop use of this method for grapes and wine, and is taking contacts for this. His name is Yannick van Doorne, and he may be contacted to help users apply the method correctly. His work is coordinated by Pedro Ferrandiz.

Yours
Joël Sternheimer


Dear sir:

Thank you for your e-mail.

For vineyard and grapes, as in general, things depend on the specific problem which one faces. Here, a few proteins have been decoded: stilbene synthase and caffeoyl-coenzyme A methyltransferase, both of which protect against certain diseases of the grape without affecting its taste; and a few proteins acting on color and sugar content. If any is of interest to you, we may discuss about it.

Please note, however, that proteodies differ from music on cognitive grounds, as explained in http://members.aol.com/jmsternhei/faq.htm; they should be used with much caution since they may affect humans, and therefore not in the open where people may walk, only in greenhouses or in desert, or at least in well-protected places. Unless the plants are sick precisely because humans are, and therefore healing one will heal the other (as it is for the proteodic homology between stilbene synthase, which catalyzes resveratrol synthesis, and human lactate dehydrogenase, which partially accounts for the heart-protecting effects of grapes and wine).

Yours
Joel Sternheimer




http://www.bekkoame.ne.jp/~dr.fuk/IndexE.html

What Will Happen to Milking Cows that Listen to the Radio?

- the reason why they can do "good work" with  favorite Mozart -

It has been said that more milk is obtained with background music, which is Mozart, than without music. In fact, there is an old genre painting in England on which milkwomen are milking cows with a radio in their neibourhood. They might have done so because it has been known by experience that the quantity of milk increases by music or human voice. However, the scientists do not officially admit such relation between the milk quantity and music. About this, Dr. Sternheimer says: "From the point of view of the protein music, there is certain relations between the music of Mozart and the quality of milk." The characteristic music style of Mozart can be recognized in the melody of prolactin, a protein which plays an important role in producing milk in cows and is also called mammotropic hormone. A musicologist points out: "The melody of prolactin contains several passages very similar to those of Mozart. One typical example is the final 8 notes in the attached score." A pianist finds out, in the attached score, a feature seen in the earliest works of Mozart at his Salzburg period.

Prolactin facilitates to produce tasty milk

So as to verify his theory, Dr. Sternheimer made some experiments with cows in Charente at the central west of France: what will be the difference between milk with music and that without music? At milking, the music of lactogloblin and lactoalbumin in addition to that of prolactin were played near cows. Then the quantity of whey became one third of that obtained in the case of no music, and therefore milk with high quality rich in proteins were obtained. Cheese made from the milk was, according to a testing panel, very delicious. The cheese made of the milk was also sold in a shop in Paris and the sales became 6 times more than usual during 2 weeks when the experiment has been carried out. We have already made "musical bread" and now tasty cheese with music came to join it. We miss then good musical wine.<BR>Setting aside the topic, we must be very careful when the music of protein is applied to cows. If prolactin is too stimulated in cows, they tend to be affected with mammites. It is to be noted that "musical remedy" should be used appropriately. Readers, therefore, must be cautious not to play the attached score for amusing although it corresponds to the melody of the prolactin of cow and not of human beings.

Cows affected with the mad-cow disease may be saved by using the protein music

As for other diseases of cows, there may be pointed out the mad-cow disease about which much was talked recently. This disease is officially called the bovine spongiform encephalopathy (BSE), which makes the brain of cow a sponge-like material and leads them to death. The first cow affected with this disease was discovered in 1986 in England. There is also a counterpart for human being, which is called the Creutzfeldt-Jakob disease. Both diseases, of cows and of human beings, are said to be caused by a protein called prion which is neither a virus nor a  bacterium.
What is then the protein melody corresponding to the prion?

Here again, let's listen to Dr. Sternheimer: "Since the 1950's, the effect of the music of Mozart on the milking of cows has been appeared, for example, in newspapers. Then, many breeders in England began to switch on the radio during the daytime in their cattle pen although Mozart is not always heard from the radio...

By the way, among melodies we hear often in these years, there is one - the so-called "trance" music - which contains a passage common to that of prion at its repeated portion and which may promote the synthesis of the prion. It is therefore no wonder if cows in the cattle pens heard such music with this passage from the radio which were on during the daytime and they were influenced unfavorably. If the music is uncomfortable for us, we can turn off the radio or leave the place not to hear the music any more, and we can avoid the harm which may bring us. However, cows cannot escape from the music even if they feel it uncomfortable."

Dr. Sternheimer, therefore, proposes that it will be worth while trying, as a measure for coping with the mad-cow disease by using the music of protein, to put the music which inhibits the prion on the air so as to be heard by cows.




http://www.bekkoame.ne.jp/~dr.fuk/index.html

A Decisive Factor of Deliciousness is the "Ears" of Bread

- the Pastoral Symphony of Beethoven is a favorite of yeast?

About three years ago, an article appeared in a newspaper: "To Japanese noodles or Udon, the "Four Seasons" of Vivaldi; the "Pastoral Symphony" of Beethoven to bread" (Asahi Shimbun, July 23, 1993). With classical music, fermentation of food stuffs is somehow promoted and tasty food products are obtained. To our regret, the reason is not revealed in the article, and only the following explanation is given: just as human beings become relaxed when they listen to music, enzyme or yeast seems to become active by classical music. The interesting and mysterious effects of classical music on enzyme or yeast were made clear by Dr. Sternheimer, who remarks: "the Pastoral Symphony of  Beethoven has certainly positive effects on yeast. However, there exist far more appropriate melodies for it". He says so because he knows the  great effects of protein music that he has discovered. It must be noted that there are two types of melodies for a protein: one which promotes the synthesis of the protein and the other which inhibits the synthesis. For example, if a fermentation or brewing step of food stuffs is included in a food production process, the use of a melody or melodies appropriate for relevant enzyme, which is mainly composed of a protein and contained in the yeast for the fermentation step, makes it possible to promote or inhibit the activity of the enzyme. Therefore, the taste of the obtained food product will be influenced by the melodies.

Bread yeast becomes encouraged by a melody specially made for it.

To make bread, we must prepare flour, water, yeast, and so on. Whether baked bread becomes tasty or not depends mainly on the activity of yeast during the fermentation provided that the same food stuffs are used. If the activity of enzyme called alcohol dehydrogenase (ADH), which is contained in bread yeast and plays an important role in fermentation, is promoted during the fermentation of dough by the music of the enzyme, one can obtain tasty bread. In fact, in a blind test for comparing the taste between the "musical bread" and normal bread without music, the former was by far preferred.

By the way, as for the reason why the Pastoral Symphony helps to make delicious bread, Dr. Sternheimer analyzes: "a part of the melody for activating ADH is contained in the theme of the first movement of the symphony". For bread, therefore, the whole symphony is not necessary, but only the first movement is sufficient.

However, if we could ask the bread yeast the preference of music, it would say in chorus to choose the melody for promoting ADH rather than the Pastoral Symphony on the ground that the former is more comfortable.

Improving Food Quality with the Protein Music

Between the protein music and existing music such as classical music, there is a difference similar to that between sovereign remedy and food. In more detail, the whole melody of the protein music is effective, while effective portions may be included in the existing music. Therefore, the protein music may be symbolically called "musical remedy". It must be noted, however, that the protein music should be treated with care just as sovereign remedy in general.

Before the positive effects of the Pastoral Symphony on bread was found, many trials might have been done. According to Dr. Sternheimer, so as to obtain the same effects by using non-specific music as those by specific music, one must play the non-specific music for more than a month, which period can be known by a simple calculation. Accordingly, arbitrary music cannot produce remarkable effects in a short time and a specific melody must be selected if relatively quick response is desired.

The main characteristics of the protein music are: the melody for obtaining desired effects can be theoretically deduced; and the same effects as those by classical music can be obtained far faster than by using classical music. For example, the article cited at the beginning says about bread: "before baking dough, yeast was fermented for 72 hours with the Pastoral Symphony. This is a fermentation time more than ten times longer than normal". On the other hand, dough was fermented with the ADH music by Dr. Sternheimer for 1 hour and a half. Therefore, delicious bread is obtained about 50 times more efficiently in time with the use of the ADH music than with the Pastoral Symphony.

We are looking forward to increasing the pleasure of table in  the near future using the protein music, which may bring us delicious bread, good beer, wine and sake, and miso paste and soy sauce with high quality.




http://www.bekkoame.ne.jp/~dr.fuk/index.html

Musical Tomatoes

Two years ago in summer, an interesting experiment was planned in a region affected by drought in Senegal in Africa.

The aim of the experiment was to draw full potential of tomatoes with the help of music in the course of cultivation. For this purpose, a conventional radio-cassette recorder and a tape on which is recorded a melody were used. These were all the preparations.

We often hear that music is effective in promoting the growth of plants. However, no one has been able to give convincing explanations of such phenomena. It is therefore natural that most of the reactions of those who engaged in the experiment were negative: "It's joking" or "Incredible".

For comparison, two sections were prepared for cultivating tomatoes: a section with music (referred to as "music section") and a section for control without music (referred to as "control section"). Taking into consideration the results obtained in the preceding experiences, the quantity of water given to each section was different: twice a day for the control section according to the standard of the region; once a day for the music section but with music for three minutes every day.

No less than two weeks, the difference of growth became remarkable between the plants of tomato of the two sections. The difference of heights became larger and larger thereafter. When the time of crop came, the difference in number, size and appearance of fruits was apparent between the two sections. The harvest of musical tomatoes became, as a whole, twenty times more than that of the control section. Furthermore, what is to be noted is that although insects gave damages to fruits in the control section, tomatoes in the music section were left intact.

Facts are more convincing than theories. Seeing is believing.

The difference was so apparent that farmers who have observed the experiment from the beginning have completely changed their mind in the course of the experiment and even said at the end: "We have expected such good results from the beginning".

What "magic" was used to produce such remarkable effects?

The key to understand the magic consists, of course, in the melody recorded on the tape.

The melody was offered by Dr. Joel Sternheimer, a physicist in France. He has elucidated the secret or a secret, at least, of the effects of music on living creatures through the research of quantum physics and molecular biology.

According to him, the principle is as follows:

Animals and plants synthesize a number of proteins in their body. In the process of synthesis, each protein being formed emits a series of quantum-mechanical signals which are related with the amino acids sequence. By decoding the signals and transforming them into audible sounds, melodies proper to each protein are obtained, which are called, as a whole, "Protein Music". If the Protein Music is in turn played near animals or plants, the synthesis of corresponding protein is controlled through a kind of resonance phenomena. This is the essential difference of the Protein Music from that composed by human beings.

The melody used in the experiment of tomatoes in Senegal was that of TAS14.

In general, plants begin to produce a special protein when sufficient water is not available so that they can be resistive to scare water. The mechanism might be obtained in the course of evolution to survive even under severe circumstances. One of the proteins which increase resistance to water deficiency is the TAS14 of tomatoes.

By playing the melody of TAS14 near the plants of tomato, the synthesis of the protein was promoted and water resistance became increased, which has lead to good growth of plants and fruits of tomato.



Music and "Musical Medicine"

It is well known that Mozart promotes cows to produce milk. The reason for this phenomenon is not well investigated and explanation is given simply as: "Music must have made cows comfortable, which has contributed them to produce milk".

However, according to the theory of "Protein Music" proposed by Dr. Sternheimer, this phenomenon can well be explained.</P>

Prolactin is known as a protein which promotes the development of mammary gland and the secretion of milk. This protein is also called a mammary gland stimulating hormone for its function. Dr. Sternheimer thought of translating prolactin into melody. As is expected, a typically Mozart-like passage was really included in the melody of prolactin.

Next step is to verify the effects of the protein music. An experiment of milking cows under music was performed for two weeks: in addition to the melody of prolactin, those of lactogloblin and lactoalbumin were also used. The three types of music were diffused twice a day, ten minutes each time.

Obtained milk contained an average of 3 to 4 times less whey as a result of the increase in prolactin, lactoglobulin and lactalbumin in the milk, which is the result just as expected.

Cheese was made from the milk, which was presented for tasting test. Those who have tried it assured its excellence taste. The cheese was also brought to a shop in Paris where it was sold six times faster than usual during the two weeks of experiment.

As is proved above, protein music acts on living creatures at the molecular level and produces desired effects. This is the essential difference of protein music from music composed may men. We must therefore pay attention not only to the merits but also to side effects of protein music. Cows, for example, risk to be easily affected with mammites with the excess of prolactin music. Human beings are not exceptions: protein music also has effects on them.

Prolactin is, for human beings, also a stress hormone which is produced under physical fatigue or mental stress. By creating this hormone, we try to protect our bodies. Therefore, the melody which stimulates the synthesis of prolactin may have favorable effects in curing ulcer caused by stress.

A lady speaks of her experience as follows:

"I was affected with typical stomach ulcer. I was in bed and was to be brought to hospital for operation. Then, I decided to listen to thecassette of prolactin. During the night of the day, I felt really better. I listened it many times for a week. The ulcer then disappeared and thevolume of my bust became two times more than before. Since then, I am well."

Excess of prolactin may cause leak of milk for women, and impotenceand/or feminization of bust for men. The melody of prolactin does not bring always merits for human beings.

Protein music in general gives us a resonating feeling all over thebody if the melody is really necessary for the person. As if "it is really his music". The existence of this sensation is the only criteria for judging if the person may continue to listen to the melody.

In summary, protein music must not be used for amusement and must be used personally, just as a medicine. In this sense, protein music may be called as a "musical medicine".




KeelyNet email...

Jean-Pierre Lentin ( lentin@imaginet.fr )
Sat, 7 Feb 1998 18:24:19 +0100 (MET)

Hi all !

As promised, here's part 2 : the health and medical aspect of « protein music »  - a promising but difficult field of research.

So far, Joel has « decoded » about 600 proteins (vegetal or animal/human), and there is 100 000 known proteins in human cells. Of course his first choice was proteins who might have an interest for agriculture and for health. He did try them on himself, family, friends, friends of friends... Now, Joel is no MD, this is illegal stuff, even if it is done for free (which is the case). It may be safely discussed on an Internet mailing list, but it'd better not be mentioned in press or TV. And there's no scientific documentation.

About 100 different protein melodies turned to have some effect on a wide variety of ailments, from flu to cancer & AIDS. To my knowledge there was no complete healing for heavy pathologies, but rather better comfort, slowing down or stopping the evolution. I heard lots of case stories of good results for lots of things.

One year ago we (I and my wife, Laurence) started attending the bi-monthly free seminars Joel was holding at Universite Europeenne de la Recherche (a non-profit educational association hosted, ironically, in the buildings of the State's Department of Research). We got to know him, and he gave us a lot of melodies to try. We soon bought a mini-disc, the only practical player for easy access and repeat - each piece last from 10 seconds to 1 minute and you quickly end with dozens of them...

Research for the right melodies was done by Joel, in lengthy testing sessions. It's a tricky affair. Joel has a thorough knowledge about his proteins and biology in general, but there is always different solutions to try, some of them not good for you. The fact that you spontaneously feel good while listening a melody is an indication, but no sure thing. Melodies can not be given haphazardly, or be publically available, for fear someone hears the wrong one and gets sick from it. At the time, I thought this precaution was a bit far-fetched. I learned otherwise.

We eased pain with the beta-endorphin music, no problem, and headaches with histone 4. Of course placebo effect is common in analgesia, but we did it on friends who knew nothing about it and it worked. Collagen music had spectacular effects on bruises or burns. My wife once had a severe sunburn that disappeared in one hour. On the negative side, music for certain hormones was not so great for her, and I felt no effect with statherin (for dental cavities) or kininogen inhibitor (for hemorrhoids). One day I mentioned I had a tendency to grow intestinal polyps, and I got something for that. Thought it would be a long term effort, no easy way to see any result for years... But after hearing the melody twice, the next day, I had severe intestinal bleeding, which lasted 3 days. Needless to say, I never listened to it again - and never bled since. So I realized this was potent stuff, and not that easy to use safely.

This very experimental stage is likely to last some time. Discreet and informal use is going on with a small batch of friends. Joel's time is obviously limited. A few other persons have learned to « prescribe », but nothing is documented or organized. There is no scientific testing at the moment. Joel is too much an off-beat character, and too ethically oriented (some would say obsessive) to fit in with institutional research. For example he can't stand the idea of sacrificing laboratory animals for medical tests. Maybe someone else will do it someday, or do a clinical human double blind research, but I can't see it happening soon It all sounds too weird for « normal » medical research.

So right now Joel is concentrating on agricultural applications, a less touchy area. Once the technique is more validated (by big scale tests, and/or scientific publications), maybe the health aspects can get into the open.

Well, that's it for today. I'll be glad to answer any further questions.

Best regards to all !
Jean-Pierre Lentin




An email...
In the New Scientist of 28 May 1994, p.10, was an article about Joel Sternheimer, a french physicist and musician, who claims that sounds can influence amino acids and make plants grow
better. I don't know if he as tried DNA yet.

In 1988-89 I used a computer program called MacVector (I think I am right) that use to sing you entire DNA song. Four alphabets of DNA were given
specific tunes and you can fill in any DNA sequence in the computer and ask him to sing for you. It was melodious.

Dr. C.P. Joshi
Department of Forestry
Michigan Tech University
1400, Townsend Drive
Houghton, Michigan 49931
phone: 906-487-3480
Fax: 906-487-2915
; Open-gene uses some code which refers to constructs used in
; IBM 360 mainframe LISP, which are coded as macros separately
; to allow this code to run. This explodes the RNA code to
; a single symbol list, changing t --> b and g --> d,
; which suit better for converting the material to chord
; sequences and melodies.

(defun open-gene (l)
   (prog (out a elem)
      loop
         (cond ((null l) (return (reversewoc out))))
         (setq a (explodec (car l)))
         (while (not (null a))
                (setq elem (car a))
                (cond ((equal elem 't)
                       (setq elem 'b))
                      ((equal elem 'g)
                       (setq elem 'd)))
                (setq out (xcons out elem))
                (setq a (cdr a)))
         (setq l (cdr l))
         (go loop)))

; ----- pepside coding
; This set ups symbol correspondeces to certain notes selected
; to produce nice chord sequences from the RNA strand. These
; tonalities transpose as groups with the control of the the
; RNA in a couple of levels, thus adding more interest in the
; tonality scheme.

(defun pep-to-chord-1 (pep)
  (cadr (assoc pep '((a (f 4 g# 4 c 5 f 6))
                     (b (g 4 c# 5 c# 5 e 5))
                     (c (f 4 c# 5 f 4 c# 5))
                     (d (c 4 d# 4 d 4 g 4))))))

(defun pep-to-chord-2 (pep)
  (cadr (assoc pep
               '((a (c 4 f 4 g 4 c 4))
                 (b (a# 4 a# 4 f 5 c 5))
                 (c (c# 5 a# 4 c# 5 g 4))
                 (d (g 4 g 4 f# 4 c# 4))))))

(defun pep-to-chord-3 (pep)
  (cadr (assoc pep
               '((a (f 5 g# 5 a# 5 c 6))
                 (b (a# 5 a# 5 f 5 c 6))
                 (c (g 5 g 6 g 7 g 8))
                 (d (g 5 g 5 f# 5 c# 5))))))

(defun pep-to-chord (pep type transp)
   (cond ((equal type '1)
          (transpose-chord (pep-to-chord-1 pep) transp))
         ((equal type '2)
          (transpose-chord (pep-to-chord-2 pep) transp))
         ((equal type '3)
          (transpose-chord (pep-to-chord-3 pep) transp))
         (t (diagnostic (list "illegal type in pep-to-chord" $cr$)))))

(defun pep-to-trans (pep)
  (cadr (assoc pep '((a 0)
                     (b -2)
                     (c 5)
                     (d 7)))))

(defun peps-to-chords (peps type trans-len)
  (prog (out trans-val chord-val count transpeps)
    (cond ((null trans-len) (setq trans-len 4)))
    (setq transpeps peps)
    (setq count trans-len)
    loop
    (cond ((null peps) (return (reversewoc out))))
    (cond ((equal count trans-len)
           (setq trans-val (pep-to-trans (car transpeps)))
           (setq transpeps (cdr transpeps))
           (setq count 1))
          (t (setq count (add1 count))))
    (setq chord-val (pep-to-chord (car peps) type trans-val))
    (setq out (xcons out chord-val))
    (setq peps (cdr peps))
    (go loop)))
 

; Set up default length for all instruments.

(def-length
   default '1/16
)

; Melodies all follow the same symbols.

(def-symbol
   default pep
)

; Tonality is different for all instruments.

(def-tonality
   inst1 (peps-to-chords pep 1 4)
   inst2 (peps-to-chords pep 2 4)
   inst3 (peps-to-chords pep 3 4)
)

; Use some variations in velocities.

(def-velocity
   inst1 '(65 75 85 90 100 40)
   inst2 '(74 84 70 65 60 94 80 70)
   inst3 '(100 90 80 70 60 50)
)

; Calculate zones from the total length of RNA.

(def-zone
   default (symbol-repeat (truncate (/ (length pep) (* 16 4))) '(4/1))
)

; Play 70 percent of the maximum value with +-10 percent variation range
; controlled by Brownian noise.

(def-expression
    default ((legato 70 10 0.4))
)

; Compile the MIDI file

(compile-instrument "ccl;output:" "xxx"
   inst1
   inst2
   inst3
)



DNA Music References

Joël Sternheimer, exposé au Colloque International "Louis de Broglie, Physicien et penseur", Ancienne Ecole Polytechnique, Paris, 6-7 novembre 1987; "Ondes d’échelle. I. Partie physique", pli à l’Académie des Sciences n° 17064 (juin 1992), ouvert en 1999.

Joël Sternheimer, "Procédé de régulation épigénétique de la biosynthèse des protéines par résonance d’échelle", brevet n° FR 92 06765 (1992), n° de publication 2691796, aujourd’hui délivré en France (13/7/95) et 16 autres pays (dont OAPI, Australie, Russie).

Joël Sternheimer, "Régulation épigénétique de la biosynthèse des protéines par résonance d’échelle", exposé à l’Académie des Sciences de Tokyo-Kanagawa (23/5/93). "Interactions non-locales dans l’expression des gènes", (extrait sur http://www.ecoropa.org/), 1997. http://www.bekkoame.ne.jp/~dr.fuk/InterNonlocF.html

Pedro Ferrandiz, "Procédé de régulation épigénétique de la synthèse protéique: essais en panification", Industries des Céréales n° 85, p.40 (1993) ; "De la musique et des plantes", La Garance Voyageuse n° 37, p. 25 (1997). http://www.bekkoame.ne.jp/~dr.fuk/Pain.Pedro.html

Yoichi Fukagawa, "Tampaku-shitsu no ongaku", Shoku no kagaku (Dietetic Science, Tokyo) n° 245, pp. 2-7 (1998) (en japonais).

Yannick van Doorne, "Invloed van variabele geluidsfrequenties op de groel en ontwikkeling van planten" (Influence de fréquences sonores variables sur la croissance et le développement des plantes), thèse d’ingénieur en agriculture et biotechnologie, soutenue le 22 juin 2000 à la Hogeschool Gent (Belgique).

Technical Reports -- Notifications Officielles de Brevets :

Saddakuni Saito, Shukuko Saito et Joël Sternheimer, "Effet de la stimulation épigénétique de la chalcone isomérase sur la coloration des pommes" (1992).

Martine Ulmer, Bruno Gil, Pedro Ferrandiz et Joël Sternheimer, " Régulation épigénétique de la biosynthèse des protéines appliquée à la culture de fruits et légumes: compte-rendu d’expérience en jardin potager" (1993). http://www.bekkoame.ne.jp/~dr.fuk/TomateFranceF.html

Jean-Marcel Huber, Jean-François Treyvaud, Bérengère Dubouloz, Castor et Rachel Egloff, André Lappert et Joël Sternheimer, " Régulation épigénétique de la biosynthèse des protéines appliquée à la culture de tomates: compte-rendu d’expérience en serre" (1994). http://www.bekkoame.ne.jp/~dr.fuk/TomateSuisseF.html

Pedro Ferrandiz, "Régulation épigénétique de la biosynthèse des protéines sur culture d’algues bleues cyanophycées" (1995).

Mansour et Ousmane Gueye, Fitory Diagne, Jacques-Joël Houziel, Pedro Ferrandiz et Joël Sternheimer, "Stimulation épigénétique de la résistance à la sécheresse pour des cultures de tomates: une expérience en plein air au Sénégal", rapport UER (1996). http://www.bekkoame.ne.jp/~dr.fuk/AlguesF.html

François Sneyaert, Michel Renoma, Pedro Ferrandiz et Joël Sternheimer, "Conservation de fruits et légumes par régulation épigénétique: inhibition de l’expression de la polygalacturonase d’avocat" (1997). http://www.bekkoame.ne.jp/~dr.fuk/AvocatF.html

Yoichi Fukagawa, "Anatomy of music", série d’articles parus en japonais dans Raku (Tokyo) n° 1 (juillet 96) à n° 7 (janvier 97), accessibles avec traduction anglaise sur son site Internet (d’autres articles en japonais, anglais et français sur le sujet sont visibles sur ce site). http://www.bekkoame.ne.jp/~dr.fuk/IndexE.html

Sources :

Hermann Weyl, Raum Zeit Materie, Berlin 1918 (trad. angl. Space time matter, Dover 1952, p. 282) (nécéssité de généraliser la relativité à l’invariance des lois physiques lors d’un changement d’unité de mesure); Louis de Broglie, "Recherches sur la théorie des quanta", thèse de doctorat (1923), rééd. Masson, Paris 1964 (relation entre masse propre d’une particule et fréquence de l’onde associée).

Moshé Flato et Joël Sternheimer, C. R. Acad. Sc. Paris 259, p. 3455, 1964 [Note présentée par Louis de Broglie] (nécéssité de généraliser l’opérateur de masse relativiste pour décrire les masses des particules); M. Flato, D. et J. Sternheimer, J.P.Vigier et G. Wataghin, Nuovo Cimento vol. 42, p.431, 1966 (généralisation de l’équation d’ondes associée à celle de l’opérateur de masse). Joël Sternheimer, "Sur les formules de masse des particules élémentaires", thèse de doctorat en physique théorique n° 186, Lyon 1966.

Joël Sternheimer, in "Strong and weak interactions: present problems", 1966 International School of Physics ’Ettore Majorana’, (ed. A. Zichichi), Acad. Press 1966, pp. 731 et suiv., 746-47, 752-53, 786-87, 800 (discussions avec S. Coleman, M. Gell-Mann et S. L. Glashow sur les masses des particules).

Julian Schwinger, Phys.Rev.Lett. 18, 797 (1967); Phys. Rev. 165, 1714 (1968) (observation empirique d’une ’constante universelle’ dans les masses des particules); Moshé Flato et Daniel Sternheimer, Commun. Math. Phys. 12, p. 296, 1969 (introduction d’un opérateur de type "quasi-échelle" dans une dimension autonome vis-à-vis de l’espace-temps pour décrire les masses des particules).

Joël Sternheimer, C. R. Acad.Sc.Paris 297, p.829, 1983 [Note présentée par André Lichnerowicz]; Séminaire de physique mathématique - A. Lichnerowicz, Collège de France (1984), reprod.in Rev. Bio-Math. 94, p.1, 1986. (Opérateur d’échelle exponentiel dans une dimension autonome vis-à-vis de l’espace-temps pour décrire les masses des particules, et sa déformation linéaire en quasi-échelle, rendant compte, par synchronisation, de la valeur de la constante observée par Schwinger; généralisation associée de l’équation d’ondes).

Methodological Aspects :

Joël Sternheimer, Le Cahier du Collège International de Philosophie 3, p. 180, Osiris, Paris (1987); "How ethical principles can aid research", Nature vol. 402, p. 576 (1999).

Gérard Huber, in Psychanalyser après la choa, pp. 147 et suivantes, Osiris, Paris (1988).

Vincent Bargoin, "Le face-à-face entre la science et l’éthique", Le quotidien du médecin n° 6089, p. 10, 18 juin 1997.

Vincent Bargoin, Pedro Ferrandiz et Joël Sternheimer, statuts du Réseau Associatif de Chercheurs Indépendants (1999).

Other References :

Jean-Marie Pelt, "Les langages secrets de la nature", chapitre XVIII "La musique et les plantes", Fayard Paris 1996, rééd. Le Livre de Poche n° 14435, 1998.

Yoichi Fukagawa, "Tampaku-shitsu no ongaku" (Qu’est-ce que la musique des protéines?), éd. Chikuma (Tokyo), septembre 1999 (200 pages, en japonais).

"Good vibrations give plants excitations", Andy Coghlan, New Scientist n° 1927, p. 10, 28 may 1994; mise au point, "Quantum vibrations", Joël Sternheimer, New Scientist vol.43, n°1937, p. 50 (1994); trad. fr., Courrier International n° 191, p. 38, 30 juin 1994; mise au point, Joël Sternheimer, id. n° 192, p. 38, 7 juillet 1994.

"Des mélodies qui parlent aux cellules", Eric Bony, Science Frontières n° 7, pp. 2-7, avril 1996; "Les théories de Joël Sternheimer se confirment", id., n° 14, p. 3, décembre 1996 [se trouve à la Bibliothèque Générale de Jussieu (tour 56), réf.SC557]. "Influence de la musique sur les plantes: de nouvelles expériences prometteuses", ibid., n° 56, p. 22, octobre 2000 (extrait).

"La musique et les plantes", Eric Bony, Nouv. Clés n° 14, été 1997.

Internet  Accesible:

"French Physicist Creates New Melodies - Plant Songs" (11/8/97), commentaire sur http://www.earthpulse.com/science/songs.html.

Sondage Internet, "Music that makes tomatoes grow twice as big", http://www.newciv.org/GIB/reinv/RIS-120.HTML (depuis le 14/8/96).

Bref résumé sur le site "Science Online" de Sheffield University http://www.shu.ac.uk/schools/sci/sol/cgi/answers/sf05.htm.

Joël Sternheimer, "A propos du CPT11-Campto" (rapport Univ. Euro. Recherche 1996).

Joël Sternheimer, "Sur les fonctionnalités épigénétiques de l’hypodermine du varron" (d’après un exposé à Caen en avril 1999, m.à.j. en mai 2001).

"Farines animales et vaches folles: l’arbre qui cache la forêt", Alain Tardif, http://www.biovert.com/articles/vachefolle.html (janvier 2001) (commentaire du texte précédent).

Li, W.; Kaneko, K. : "Long-range correlation and partial 1/f/sup alpha / spectrum in a noncoding DNA sequence"; Europhysics Letters ( 7 Feb. 1992, vol.17, (no.7):655-60.)
Abstract: Mutual information function, which is an alternative to correlation function for symbolic sequences, and a symbolic spectrum are calculated for a human DNA sequence containing mostly intron segments, those that do not code for proteins. It is observed that the mutual information function of this sequence decays very slowly, and the correlation length is extremely long (at least 800 bases). The symbolic spectrum of the sequence at very low frequencies can be approximated by 1/f/sup alpha /, where f is the frequency and alpha ranges from 0.5 to 0.85. It is suggested that the existence of the repetitive patterns in the sequence is mainly responsible for the observed long-range correlation. A possible connection between this long-range correlation and those in music notes is also briefly discussed.

Susumu Ohno and Midori Ohno:  The all pervasive principle of repetitious recurrence  governs not only coding sequence construction but also human endeavor in musical composition.
Immunogenetics 24: 71-78, 1986

Ohno-S.:  "A song in praise of peptide palindromes"; Leukemia. ( 1993 Aug.  7 Suppl 2.  P S157-9. ) Abstract:      Peptide palindromes are invariably found in all proteins, and long palindromes exceeding 10 residues in length are not rare. They are particularly abundant in DNA-binding proteins such as H1 histone. When a complementary strand of the coding sequence is translatable being free of a chain terminator, a complementary protein encode by it becomes equally abundant in peptide palindromes. The simultaneous musical transformation of both strands of mouse H1 histone variety-1 DNA enable us to appreciate the symmetrical beauty of successive palindromes appearing in both H1 histone and its complementary protein.


http://whozoo.org/mac/Music/samples.htm

John Dunn, Research Fellow
University of Michigan School of Art
e-mail:    johndunn@umich.edu

Software Tools for Artists
e-mail:    stfa@webcom.com
http://www.webcom.com/~stfa/





John DUNN :  Life Music

Beta Globin

The globins are the protein products of a large and ancient multigene family, including the alpha and beta globins of hemoglobin , myoglobin, and even the leghemoglobins of plants. The common function of the globins is to bind oxygen. The sequences represented here are all beta globins. Functional hemoglobin contains two molecules each of the alpha and beta globin chains. The juxtaposition of the four chains, each of which can bind an oxygen molecule, allows hemoglobin to adjust its oxygen-binding capacity according to the oxygen concentration of its environment.
It is beta globin that is altered in human sickle-cell anemia and thalassemia. In sickle-cell anemia only one amino acid of 146 has been altered, while in thalassemia, the amino acid sequence is terminated prematurely. Both alterations lead to changes in folding pattern that severely alter the function of the molecule. In the normal folding pattern the six helical regions of the molecule are folded into a single compact domain. The folded protein encloses the iron-containing heme group to which the oxygen is bound.

Samples -
http://whozoo.org/mac/Music/samples.htm

Beta globins

( ) = alpha helix
[ ] = beta strand
{ } = turn
 

Human Beta Globin :

VHLTP(EEKSAVTALW){GK}
VN(VDEVGGEALGRLLVV)Y
(PWTQRF)F(ESF)GDLST
(PDAVM){G}N
(PKVKAHGKKVLGAFSDGL)
{AH}(LDNLKGTFATLSELHCD)
{KL}HVD{P}
(ENFRLLGNVLVCVLAHHFGKE)FT
(PPVQAAYQKVVAGVANALA)
{HK}YH.
 

Minke Whale Beta Globin :

VHLTA(EEKSAVTALW){AK}
VN(VEEVGGEALGRLLVV)Y
(PWTQRF)F(EAF)GDLST
(ADAVM){K}N
(PKVKAHGKKVLASFSDGL)
{KH}(LDDLKGTFATLSELHCD)
{KL}HVD{P}
(ENFRLLGNVLVIVLARHFGKE)FT
(PELQAAYQKVVAGVANALA)
{HK}YH.
 

Ghost Bat Beta Globin

VHLTG(EEKAAVTGLW){GK}
VN(VEEVGGEALGRLLVV)Y
(PWTQRF)F(DSF)GDLSS
(PSAVM){G}N
(PKVKAHGKKVLNSFSDGL){KN}
(LDNLKGTFAKLSELHCD)
{KL}HVD{P}
(ENFRLLGNVLVCVLARHFGKE)FT
(PQVQAAYQKVVAGVATALA)
{HK}YH.
 

Echidna Beta Globin

VHLSG(SEKTAVTNLW){GH}
VN(VNELGGEALGRLLVV)Y
(PWTQRF)F(ESF)GDLSS
(ADAVM){G}N
(AKVKAHGAKVLTSFGDAL){KN}
(LDNLKGTFAKLSELHCD)
{KL}HVD{P}
(ENFNRLGNVLVVVLARHFSKE)FT
(PEAQAAWQKLVSGVSHALA)
{HK}YH.
 

Notes on the Music:

There are two versions of beta globin that can be heard here: http://whozoo.org/mac/Music/BetaGlobin2.mp3

One is the piece composed by John Dunn for the CD Life Music. (  http://artists.mp3s.com/artists/18/genetic_music.html  ) In this setting, the beta globins of four mammals are represented: human, whale, bat and echidna (an egg-laying mammal). The piece begins with a human voice reciting the amino acid sequence of the protein. The names of the amino acids fade and are gradually replaced by their corresponding tones. The human and whale sequences dominate the piece, with counterpoint provided by the sequences of the other two species. The use of both speaking and singing human voices to represent parts of both the human and whale sequences underscores the similarities in their respective blood proteins.

The second beta globin was set by M. A. Clark, using John Dunn's recently developed BankStep program. ( http://algoart.com/  ) This composition was a simple etude and consists of two slow readthroughs of the protein over a background of low strings that play out the encoding DNA sequence. Several features of the protein are represented by different voices. The alpha helical regions that constitute much of the protein are played on harp, punctuated by a high chime that marks the turns. Overlaid on this are two additional voices, high strings playing the more soluble amino acids alternating with oboe playing the lower solubility amino acids of the protein's core. The two voices overlap for amino acids of intermediate solubility.

AlgoArt Software:

MicroTone -- http://algoart.com/web/microtone.htm

-- http://algoart.com/web/bioeditor.htm

Bio2MIDI -- http://algoart.com/web/bio2midi.htm

Download
-- http://algoart.com/web/download.htm

DNA Music -- http://algoart.com/web/music.htm




   SEQUENCIA: The Music from DNA

Announcing the release on CD of SEQUENCIA, music composed by Susan Alexjander, in partnership with biologist David Deamer.

All the compositions on this CD are derived from the molecular vibrations of DNA, adjusted to the registers of the human ear.

In SEQUENCIA, raw data derived from the light absorption spectra of the four bases (adenine, cytosine, thymine, guanine) that make up the DNA molecule are converted into audible frequencies. These are processed by a Macintosh computer and performed by a music synthesizer, and are arranged into four pitch collections, or "scales", based on the individual base molecules. The synthesized material, mixed with vocals, cello, tabla, and violin, become the palettes for Alexjander's compositions, which range from somber and minimal to improvisational.

The SEQUENCIA CD, released by Science & the Arts as part of their Logos Series, which explores processes in the natural world, contains 3 works by Alexjander based on DNA: Eikos, Sequencia, and Pataphysical Thymine. The performers include Susan Alexjander, synthesizer; Don Lax and Wendy Reid, violins; Karen Andrie, cello; Diana Nieves, voice; Andrew McLester, tabla; William Trimble, alto saxophone.

Susan Alexjander is a San Francisco Bay Area composer, performer, teacher, and radio broadcaster. She has taught courses and seminars  on the physics and metaphysics of sound and music for over ten years. Currently Ms Alexjander is gathering material on the geometry and  patterns in the mineral domain for her second Logos Series CD. SEQUENCIA has appeared internationally on radio, CNN, and has been used as art music for dance.

For more information about this very unusual recording, contact : Science and the Arts, PO Box 8162, Berkeley CA 94707  (CD $15, cassette $10.  Add $2 for postage & handling.)

They also have a series of tapes derived more directly from DNA, i.e., the note patterns are real sequences from DNA. write them for more info.



CNN.com / The Associated Press ( 2003 )

R. KRULL / A. SOUSA / F BAQUERO

Researchers translate DNA code into music

Composer Richard Krull, left, joined researchers Aurora Sanchez Sousa and Fernando Baquero in an interpretation of DNA code into easy listening music

MADRID, Spain (AP) -- Imagine the human genome as music. Unravel DNA's double helix, picture its components lined up like piano keys and assign a note to each. Run your finger along the keys.

Spanish scientists did that just for fun and recorded what they call an audio version of the blueprint for life.

The team at Madrid's Ramon y Cajal Hospital was intrigued by music's lure -- how it can make toddlers dance and adults cry -- and looked for hints in the genetic material that makes us what we are. They also had some microbial genes wax melodic.

The end product is "Genoma Music," a 10-tune CD due out in February. "It's a way to bring science and music closer together," said Dr. Aurora Sanchez Sousa, a piano-playing microbiologist who specializes in fungi.

DNA, or deoxyribonucleic acid, is composed of long strings of molecules called nucleotides, which are distinguished by which of four nitrogen-containing bases they contain: adenine, guanine, thymine or cytosine, represented as A, G, T and C. These became the musical notes.

French-born composer Richard Krull turned DNA sequences -- a snippet of a gene might look like AGCGTATACGAGT -- into sheet music. He arbitrarily assigned tones of the eight-note, do-re-mi scale to each letter. Thymine became re, for instance. Guanine is so, adenine la and cytosine do.

It's all in the genes

Played solo on percussion, classical guitar or the other instruments used on the CD, the sequences would sound cute but rudimentary, the musical equivalent of PacMan in an era of Microsoft Xbox.

So the alphabet soup of bases served as just that, base lines to accompany melodies composed by Krull and his scientific colleague. They say the melodies were influenced, even dictated, by the mood and rhythm of the underlying genetic code.

In general, the genome music is an easy-listening sound that is vaguely New Age. One of the prettiest songs is based on Connexin 26, a human gene that causes deafness when it mutates.

Another song draws on a yeast gene known as SLT2. Sanchez Sousa, the main author of the project, is fond of the sequence because it features a stretch in which one triplet of nitrogen bases appears several times in rapid succession -- a repetitive phenomenon that has a musical equivalent called ostinato.

She declined to discuss marketing plans for the CD. She said she's circulated it only among academics so far, and psychologists in particular find it relaxing.

Her team's plans for future music include having the hospital choir sing a vocal piece based on DNA from a bacteria.

Seeking music in nature goes way back. In the 6th century B.C., the Greek philosopher and mathematician Pythagoras argued that celestial bodies in rotation gave off pitched sounds that blended into a beautiful harmony he called "the music of the spheres."

The idea is that matter and its behavior -- wheat fields shimmering and tongues of fire dancing -- may hold something intrinsic that can be transformed into music, said Dr. Fernando Baquero, head of microbiology at Ramon y Cajal Hospital.

Maybe that's why people like music: It's already inside them anyway, so hearing it touches a piece of them, Baquero said.

"When we like something, it is because we recognize it," he said. "It's funny, but to like is to recognize."