Y. V. Tszyan KANCHZHEN
Microwave Transfer of Biological Information ( Biotron )
http://www.zpenergy.com/modules.php?name=Downloads&d_op=getit&lid=37
3.25. EXPERIMENTS OF TSZYAN KANCHGEN
Tszyan Kanchgen has lead a series of experiments, which have shown an opportunity of direct transfer of the information from one biological object to another by radio waves [45]. Tszyan Kanchgen has created installation [46], including hollow correct of polyhedron and hollow cones located on its sides. The biological object which is carrying out influence is located in a cavity of polyhedron, its the radiations amplify and are transferred to other alive object by microwaves.
In experiments with cereal cultures Tszyan Kanchgen placed in the installation green weight of wheat and influenced by radio waves on germinate sabadillas of corn. The "processed" corn had set of lateral stalks. On the place of panicle the original ears with grains similar and on corn, and on wheaten (fig. 26) were formed. The acquired new qualities were steadily transferred to the subsequent generations.
Fig. 26. Results of experiments of Tszyan Kanchgen [45].
Using a similar technique Tszyan Kanchgen carried out experiences above animals. He placed in installation a duck and irradiated 500 chicken eggs. 480 chickens were hatched, at which on the clutches have appeared the membranes (fig. 26?), have changed arrangement of the eyes and there was flat duck form of the head [45].
Tszyan Kanchgen considers, that at influence of young organisms on old it is possible to rehabilitate the DNA of last and thus to rejuvenate them. The experiences on old mice were carried out. Them influenced by radiation of young sprouts of plants and germs of animals. In result at mice the reactions, mobility, appetite were improved. At some the sexual functions and ability to duplication were restored. At the most part of experimental group the life expectancy has grown for 1,5 years in comparison with control [45].
http://www.amasci.com/freenrg/tors/doc17.html
Experimental investigation of new long-range actions
Analytical review
by
Yu.V. Nachalov, A.N. Sokolov.
...The fifth type of torsion generator employs a combination of the principles described above. For instance, a combination of high-frequency electromagnetic oscillations and topological effect (shape effect) is used in the generators developed by Yu.V.Tszyan Kanchzhen. (The operation of his devices was interpreted as "high-frequency bio-communication".) Fig.5 shows the diagram of Tszyan Kanchzhen's torsion generator. The object 6 (e.g. a hen) is placed into the receiver-enclosure 5. Another object 4 (e.g. a duck) is placed into the transmitter-enclosure. The transmitter-enclosure is a three-dimensional shape consisting of pentagon 1. Cones 2 are placed on the sides of these pentagons. The object 4 is subjected to the influence of a generator of high-frequency (~ 11 GHz) electromagnetic oscillations 3. The torsion component of these EM ocsillations excites the torsion field of object 4. This torsion field is also intensified by the topological effect of 1,2. The excited torsion field is concentrated at the tops of the cones 2 and then is directed to the receiver-enclosure 5. As a rule, a several-day stay of objects 4 and 6 in them resulted in following. If a hen is placed in the receiver-enclosure and a duck is placed in the transmitter-enclosure, then a hen gradually starts to look like a duck. (For instance, a hen gained duck webs and etc.)
http://survincity.com/2012/11/experimenting-with-mice-dr-younger-for-a-dozen/
04.10.2004
Experimenting with mice, Dr. younger for a dozen years
by
Savely KASHNITSKY
I waited Jiang Kanchzhena in the lobby, where he stayed span from Khabarovsk to Simferopol. Recognized him at once. Not only because of the specific appearance. But also because in the 15 years that we have not seen Kanchzhen almost unchanged. Well, older, of course. Five years at the most. Son identified: "Dad, look you in the same age." And, perhaps, made me compliment our guest thinner portly me, and gray hair on his head is smaller. And he was exactly 20 years of age or older. That's what a regular rejuvenation!
Kozlokrol and pshekuruza
15 years ago, when we met with Jiang at the first All-Union conference on parapsychology, scientists have argued about it, rustling newspapers and magazines. Someone thought he was a prophet of a new era, someone — a charlatan. Photographs obtained by non-genetic hybrids they went from hand to hand, to the delight and disbelief.
Well, in fact, as you can relate to the chicken flat duck's beak and webbed, like waterfowl, between the claws on the feet, if it is known that the chicken does not cover the duck, and a rooster with a duck tricks never before seen? At the same time, Jiang is not a geneticist, a virtuoso who could spend the most delicate operation of permutation of units in the DNA molecule. He achieved this miracle of nature differently: irradiated chicken eggs biovolnami ducks.
No less a sensation at the Academy selhoznauk produced bushy stalks of corn cobs with multiple radiating from a single "spike" as the wheat grain.
And all this circus performers in the arena of science was not enough! Here cucumbers grown from seeds irradiated melon: yellowish fruit, egg-shaped, with a taste and aroma of melon.
Pregnant rabbit 'bombarded' wave beam, taken from the goats — and rabbits on the upper jaw grew crooked teeth-shaped goat horns.
Capital academia is kept on these experiments proud silence. Only the distance from Moscow boldest scientists decided to test and approve experiments Jiang: Novosibirsk academic-physician V.Kaznacheev gathered advanced workshop involving 130 scientists from five different institutions. Their approving the conclusion of Jiang and today is in the folder as a safe-conduct, fear of accusations of witchcraft, and in connection with the evil spirit.
Student Head of Lab
In high school Kanchzhen as many utopian in the 50's, interested in robots and space technology itself was a decent radio technician. Leafed through the mountain of scientific and technical journals. In one of them had read about the experiences of rejuvenation with soda baths, which followed Lepeshinskaya then fascinated almost all Soviet intelligentsia. Competent Jiang did not believe in the soda bath, or in yogurt Mechnikov, but the very idea of rejuvenating the body on fire seriously. So much so that, having thrown your favorite radio technician entered the Shenyang Institute of Medicine.
Only, unlike his fellow students, physics is not abandoned, but continued to study it. In those years, addicted to the idea of constructing an artificial brain. Jiang realized that at the intersection of neuroscience and cybernetics can find an approach to the mystery of life.
He then read that a living cell fission emits ultraviolet light. But this part of the spectrum of electromagnetic radiation. If around any cybernetic system always is the electromagnetic field, it must be operated around the brain.
By high rates of medical school Jiang convinced: bioelectric field of a living organism operates in the microwave range. Inquisitive student teachers began to pull, let us measure the radiation of the brain. Came with their ideas to the rector. He took them seriously — he sent his work to check the Institute of Atomic Physics. From there she was sent to the Office of Science of the Central Committee of the Communist Party of China, the highest in the era scientific body.
Jiang was summoned to Beijing, where for a week with him the award-winning scientists. He was given the latest book on the theory of DNA, only recently established by that time. The idea of the relationship of the student bioelectromagnetic field to the information in the fine structures of the body, is so pleased with the commanders of Chinese science, that they took an unprecedented decision to create at Shenyang Medical College laboratory to test the hypothesis Jiang.
After graduation, remaining as an assistant at the Department of Pathophysiology, continued to investigate the genetic effects of biofield. And in 1961, a young scientist built the first in the history of Biotron — a device for transmitting bioizlucheny from one organism to another. It was then, under the wing of Mao Zedong, one of the pillars of the global Marxism, there was a disgusting bourgeois chimera — chicken chicken with duck webbed paws.
Yuri, double con red empires
In the first half of the 60th China Red Guards were gaining momentum. Jiang was reminded that his grandfather was a wealthy, while his father and older brother did not sympathized with the revolution. When it was decided to classify the study Jiang's leadership, he realized that it was just a cover for an upcoming deal with it, the lab will inevitably be closed. Settle in another place renegade from Marxism, of course, will not allow.
Then Kanchzhen decided to escape from China, which has already blazed a ruthless fire "cultural revolution." But where to go? Free Japan and South Korea are separated seas, India — snow peaks. There remained only the Soviet Union.
In June 1966, began the first massacre committed by the Red Guards. And in September, taking advantage of holidays, Kanchzhen moved north. He entered unnoticed into the border zone to parting with nelaskovoy home had only four hours away. But he was detained.
For attempting to cross the border Jiang was given four years of hard labor.
After his release, looked into the university laboratory is not, the installation was broken. On the scientific work is not out of the question. Jiang got to take care of the pigs, and then cleaned the toilets.
His second attempt to cross the border in the 71 th year this time was successful. Kanchzhen knew that the risk is greater than the first time: the time has come steeper, and if caught with a repeat offender will not stand on ceremony.
But fate was kind: the Soviet border guards handed emaciated, had spent a week without eating Chinese in Khabarovsk, where he identified only two years of work in the timber industry enterprise.
To learn more or less explained in Russian, Jiang took his Russian name and patronymic — now his name is Yuri. Probably kept going naive Chinese, namesake of the all-powerful head of the Lubyanka will get not so active.
Upon the motion of the Moscow Institute of Oncology, where Jiang's work know, it was a laboratory assistant in the Khabarovsk Medical Institute (a medical degree was in China — about the work of the profession had nothing to dream.)
Silent genes talking?
Only in 1986 a fugitive in China rehabilitated, allowing relatives to request a duplicate diploma and send it to Jiang. In Khabarovsk, he proved that he has mastered the technique of acupuncture, a doctor and enrolled in the railway hospital.
By the time he re-established the Biotron at home and experimented with plants and animals.
Jiang made in practice: in the microwave range is transmitted hereditary information. In the DNA chain is known to be active genes — from 1 to 5 percent. The remaining 95-99% — the so-called silent genes. Why do they even need not known. Jiang implies: they are included only in the fetal period. So, experiments on biotron allowed Jiang to believe that microwaves excite silent, timeless genes that are awakened to an active life. And already they synthesize young squirrels.
By irradiating a first biotron mice, then himself, then many patients, Jiang received the effect that he calls rejuvenation: after a month of regular exposures sprouted wheat germ, peas, corn, barley, sorghum — in short, diverse edible crops — the physiological age of the patient is reduced an average of five and a half years. This eliminates many chronic diseases, increases immunity, sexual function returns.
In 1992, a Russian citizen Yuri Tszyankanchzhen (do not laugh — it is written in an official document) has received a patent for a way to change the hereditary characteristics of the biological object and device for directional transmission of biological information. Four years later — another patent, where it is written: "The process of rejuvenation." A year later — the third patent for a device called "Biotron Jiang."
How to chew apples of youth?
Of the 600 men, regenerate in 15 years biotron the direct participation of Jiang's, I had a talk with one. Eugene P. Ishchenko — Professor of Law Academy, the man, as they say, quite sane.
- I met with Jiang in 1990, and in 1992, when together with his friend on a business trip to Khabarovsk, underwent rejuvenation. I was only 46 years old, a year before I came out of a kidney stone, sand, and remained small stones, after working on his doctoral dissertation weakened eyesight, prescribed glasses. In Khabarovsk, I spent thirty nights under irradiation. At first, my friend and I were treated to experiment with skepticism. But already during the course of his chest noticeably blackened gray hair. I'm at the end of the course the ultrasound showed absence of sand and stones in the kidney, no glasses needed a few more years. According to my subjective assessment, five years in Khabarovsk I just left. For a month, conducted in the laboratory Jiang, we have seen children with cerebral palsy who are after the course of treatment at the Biotron, began to run, to dance, to laugh, a girl with scabs on the skin due to neurodermatitis completely cleared the skin. Regional prosecutor's office at the behest of the then head of the region, which is called the land of the snout — only to find a basis for initiating a criminal case against Jiang. But did not find any patient who would after treatment, Jiang became worse.
But still, is it Rejuvenation? Or simply a beneficial effect on the body? Are we to say about the turn back the subjective time of the organism? These are the questions I asked a world-famous explorer of psychic phenomena, Doctor of Biological and Medical Sciences Alexander Petrovich Dubrov, a quarter-century familiar with Jiang Kanchzhenom.
- Jiang — MD, a talented scientist and inventor. I am convinced that Biotron should be widely promoted as a panacea for the rehabilitation of patients after an illness. But what are the mechanisms to achieve a positive effect on the impact of biotron living objects — a multi-faceted issue of the scientific research that Jiang, in my opinion, for various reasons, can not hold their own. Need a reliable medical statistics, need deep physics research that Jiang calls bioelectric field, we need collaborations with eminent Russian scientists who study the wave nature of the genetic effects. Only after all of these studies, we can once again raise the question of the possibility of rejuvenation.
http://lianna.su/p2.htm
http://www. usnsr. org
Natural Science Research, Vol. 10, No.2, April 2007
68-77
Observation on Biological Effect of Bioelectromagnetic (BEM) Field
J.VJiang kanzheng' Qian Zheng2 Binghuan Tang3
1 Jiang's Institute, Khabarovsk, Russia
2.Dept.of Physiology, China Medical University,P.R. of China
3.Liaoning Medical Equipment Institute, P. R. of China
Abstract
[Purpose] Observation on the biological effect of Bioelectromagnetic (BEM) field carrying the vital information in microwave band radiated from organism
[Method] The field guide Biotron was used, which was designed and made by Jiang kan-zheng according to the principles of microwave reflective and focusing, transmission of wave guide tube, and tuning with resonant cavity and tune bolt. The donor organism placed in the receive cabin of the Biotron and the donee organism placed in the treatment cabin, so the donor's BEM through the Biotron act on the donee. No tangible contact existed between the donor and the donee except the contact of the BEM field between them, and this process was called as "field guide". After remaining in field guide for a certain period, the biological effect of donee organism was detected.
[Result] hi the biological effect: receiving the field guide of wheat, corn acquired the characteristics of wheat; receiving the field guide of muskmelon, cucumber acquired the characteristics of muskmelon; receiving the field guide of young plants or animal embryos, the activities of the cell DNA of various organs of the mice were invigorated, sexual function enhanced and survival time prolonged; when human body received the field guide of young plants, the results were that the velocity of nervous reflection was accelerated, hematopoietic activity invigorated, immune (unction strengthened and sexual function enhanced with the effect of anti-aging.
1. Introduction
In 1957, Jiang Kanzheng put forward the Theory of "Held guide" in China Medical University in Shenyang, and pointed out that biological organism could transmit bioelectromagnetic (BEM) wave internally and externally in the processes of its vital activities and accompanying with the biochemical changes within the organism. The BEM wave carried genetic information, which controlled the organism and could also act on another biological organism to influence its genetic gene. Jiang designated the phenomenon as "Field guide". Theoretically, BEM wave should exist in microwave band. In 1981, according to the known transformation low of physi-... ???
When the germinating seeds were used, suits the temperature, humid and fresh air were kept inside and outside me Biotron to make the seeds germinating continuously.
In the 5* 2weeks: 90 hatching eggs were taken out from incubator and put in the Biotron, 2 hours later were sent back to the incubator, then another batch of hatching eggs were taken out from the incubator and put in the Biotron and were also changed in such 2 way after 2 hours. The eggs in the Biotron were also kept in best preservation.
In the 6th 2weeks: 10 rabbit pregnant for one week were used.
The done, experiment group dividing 3 batches, every batch have 100 mice. Each batch were put in the Biotron and stayed for 8 hours.
The indexes of observation: Periodically counting of the survival number of mice, number of the pregnant and number of the birth in order to judge the result of anti-aging and life prolongation of the tested mice.
Table 1 Number of survival and pregnancy of mice, and number of their young delivered.
Control group Experiment group
Numb» of nice 300 300
Survival number after experiment 295 297
Survival number after 1 year 105 197
Survival number after 1.5 year 8 124
Pregnancy number in experimentally period 11 94
The birth number 57 564
Brief conclusion: The number of mice surviving after 1.5 years of the experiment group is significantly larger than that of the control group. The number of pregnant mice and average number of birth of the experiment group are also larger than those of the control group. It is shown diat the life of animals of the experiment group was prolonged and their sexual function invigorated.
2. 2. 1.2 Experiment 2
The experiment was conducted in khabarovsk laboratory of Russia in 1992. the purpose was to study analytically the anti-aging effect of aged mice with the method of autohistoradiography.
The donors of BEM field were seedlings of wheat and corn of 6m2 each. The seedlings, 5-25cm above die soil, were grown by close planting in pots. 44femalemice aged 12 months were selected as the donees, the tested animals, and divided randomly into experiment group and control group, with 22 in each group. The experimental environment and raising conditions were the same for both of them. The animals of the two groups were put in the Biotron alternately. When the animals of the control group were put in the Biotron, donors were not put in. they were in it once for 24 hours and 10 times for each group. They were observed for 20 days.
10 mice were taken out randomly at the end of the field guide. Firstly, vaginal smears were made to observe the sexual cycle. Then 3H-Thymine (1570kBq/mol) was injected intraperitoneally (22.2kBq/lg of body weight), and 3 times of the dose of 3H-Thymine (i.e. 0.2ml) was dripped into the right eye because of no blood supply in the cornea. After 3H-Thmine had already distributed over the organs, two eyes, thyroid gland, thymus, adrenal gland, spleen, stomach, ovary were taken out, the right side organs were to make slices for autohistoradiography. The cell nucleus with more than 5 radio-loci was regarded as labeled nucleus. The Ratio of the amount of labeled nuclei to the total nuclei observed was the index of labeled nucleus. The labeled intensity was calculated according to the number of silver grains on 30 labeled nuclei. Pathological mitoses were calculated with the serial sections of comea of the right eye. For the rest 12 mice in each group, body weight was measured before and after the experiment; besides, ovary, adrenal gland, brain, heart, liver, spleen, lungs and kidneys, were taken out, weighed and made into slices for light microscopy.
Results: There were no obvious differences between me experiment group and the control group in the relative weight and cellular structure under the light microscope of all the organs except ovary. However, the increase of body weight of the mice in the experiment group was obviously lower than that in the control group (p<0.05). The test results of the method of autohistoradiography image showed obvious differences between the two groups. (Table 2)
Table 2 The activities of various organic cells in experimental mice and control mice
Control group Experimental group p value
Vagina smear (oestrus ¦¦¦%) 20 ±13.3% 70 ±153% <0.05
Ovary weight (mg) 28.12 ±1.57 34.50 ±1.65 <0.05
Relative weight of ovary (mg/g) 1.00 ±0.04 1.35+0.09 <0.01
Labeled nucleus index of thymus cortex 20.10 + 1.40 18.70 ±0.87 >0.05
Labeled nucleus index of thymus medulla 2.03 ±0.20 3.30 ±0.30 <0.01
Labeled intensity of thymus cortex 12.40 ±1.10 15.80 ±0.79 <0.01
Labeled intensity of thymus medulla 11.70 i0.80 15.10 ±1.80
Labeled nudeus index of cornea epithelial ??? 6.18 ±0.18 10.38 ±0.26
Labeled intensity of cornea epithelial cell 24.00 + 1.04 36.25 ±0.75
Pathological mitosis of cornea epithelial cell 4.01 ±053 159 ±0.62
Labeled nucleus index of adrenal grand cell 1.48 ±0.16 2.14 ±0.10 <?.001
Labeled intensity of adrenal grand cell 36.7 42.8
In the above table, indexes of labeled nucleus and labeled density are the indexes reflecting the active intensity of cell DNA. The more obvious changes occurring in the experiment group than in the control group showed that the BEM field of plant seedlings made the activities of cell DNA of the organs of the aged mice strengthened and the activities of sexual organs become vigorous ,and pamological nuclear divisions weakened.
Brief conclusion: After the mice of the experiment group receive the action of the field guide of BEM wave, the activities of cell DNA of every organ are invigorated, the renewal of physiological cells strengthened and the pathological cellular division weakened. This may be the physiological basis for the function of reproduction system to become vigorous and for the anti-aging phenomenon to occur.
2.3 Experiment of Anti-aging of Human Body
In 1998, according to Jiang kan-zheng's technique, field guide Biotron was mad in Yiyang City of Hunan Province of China to observe with post-test the action of BEM wave transmitted from plant seedlings to improve human health and fight against senility.
2.3.1 Material and Method
Donor The four kinds of edible plant seedlings of wheat, corn, pea and sorghum were closely planted in plastic pots of 30x20cm. respectively under room temperature. Each time 30 pots were put in the Biotron according to the proportion of 50%wheat, 20%corn, 20%pea and 10% sorghum. The donors were used specially for one man only. The seedlings were changed once for 4 hours, and were abandoned and renewed at height of above 25cm.
Donee The human bodies for observation were from 35 volunteers. Of them 26 were males, aged 9-74 and 9 female, aged 22-72. Every one stayed 4 hours in the field guide Biotron. There were ventilation and light installation and bedding in it to keep comfort. In it one could sit, lie down, take diet, read, talk, sleep, without taking medicine and touching the plant seedlings and could go out freely. 10 days were a treatment course, after 10 days, there was an interval of 10 days for rest; after the interval the second treatment course of another 10 days began; then after another interval of 10 days, the third treatment course began. In 50 days, 120 hours of field guide were received in all.
In the observation of human body, besides the general physical examination, emphasis was put on the examination of nervous system, immune system, endocrine system, sexual function, hemopoietic function, etc. which was carried out before and after receiving field guide so as to make same body contrast Results: Table 3
Table 3 The contrast of various indexes of the human body
Pre-field guide Post-field guide p values
Upper limb reflex time(sec.) 0.235 ±0.033 0.196±0.035 <0.001
Percussion frequency (one time/30 sec.) 109.2±20.9 121.5±17.3 <0.01
Grip strength (N) 293.17+83.4 306.6 ±82.7 <0.05
Time with one leg standing and eyes dosed (sec.) 15.6+26.9 26.4+34.06 <0.01
Relative vital capacity (mrn/m) 1475.8 ±373.6 1690.6 ±531.3 <0.001
Erythrocyte fragility (saline concentration of complete hemolysis) 0.343+0.02 0.3285 ±0.028 <0.05
Serum thyroid hormone (FT4) concentration (pmol/1) 10.6 ±2.98 14.5+2.74 <0.001
Serum testosterone concentration (rog/1 j 881.6±343.7 1242.8 ±604.5 <0.05
Serum pregnendione concentration (nmol/1) 0.985 ±0.522 2.083 + 1.543 >0.05
Blood NK cells (%) 11.374±1.9 16.732+5.25 <0.001
T3-lymphocytes (%) 71.01+5.16 74.7 ±7.11 <0.01
T4-Iyruphocytes (%) 42.58 ±6.5 45.21+5.0 <0.05
T8-lymphocytes (%) 22.86 ±6.78 26.06+4.1 <0.01
Serum glucocorticoid hormone (mg/1) 12.478 ±4.52 11.1875 ±4.46 >0.05
Body fatty rate (body weight over 80kg) 26.3 ±6.16 22.6 ±6.47 <0.05
Body fatty rate (body weight 61 -79kfO 18.8±4.4 19.7+4.98 X).O5
Body fatty rate (body weight less than 60kg) 18.97+7.3 20.615 ±8.2 <0.05
It was observed from the indexes of the above table that after receiving the field guide: (1) the velocity of nervous conduction accelerated and the nervous function enhanced, (2) muscular strength was increased, (3) equilibrium function was improved, (4) fiagilocytes were reduced and hematopietie function become vigorous, (5) concentration of serum thyroid hormone was higher and metabolism was invigorated, (6) concentration of sexual hormone was higher, sexual function was enhanced and one become younger, (7) immunocytes in blood increased and immune function was enhanced, (8) the ratio of body fat showed that the constitution become strong in the weak and lean, obesity was reduced in the obese and no change occurred in those of moderate health, (9) concentration of serum glucocorticoid did not increase but tended to decrease, which showed that the processes of field guide had not aroused press reaction of the body and was no harmful to human body, and (10) relative vital capacity increased remarkably. With reference to the calculation of The Contrast table of between Relative Vital Capacity and biological Ages" published by Professor Wang yong-yan of Shanghai Medical University [8], the biological ages of the 35 persons observed in the group become younger by 5.6 years averagely. For the observed persons who with different kinds of chronic diseases, a great of their symptoms were improved remarkably [9].
Brief conclusion: The BEM field of plant has the effect of making human constitution younger and protestinghumanhealthwithoutanyhann[10].
3. Discussion and Conclusion of the Experiment Result of Biological Field Guide
3.1. Microwave equipment was used in the experiment of biological field guide. The result showed that the influence of the biological organism (donee) in the treatment cabin received the influence of the biological organism (donor) in the receiving cabin. And the influential factor must be received by the microwave receiving antenna, transmitted though wave guide tube, tuned with tuner and tuning bolt and transmitted by transmitting antenna to act on the donee. Between the donor and the donee there is no other way of contact except that through microwave because the microwave device can receive, tune and transmit microwave only.
Conclusion: In the processes of vital activities, organism can transmit BEM wave (biomicrowave) of microwave band. Field guide experiment for various kinds of biological organisms confirms that the organism can transmit microwave, and the biomicrowave transmitted by the donor can act on the donee and influence the processes of vital activities of it
3.2. The BEM waves transmitted from biological organism act on the donee to promote them to vary their genetic features in the direction of the characteristic of the transmissive source, the organisms (donors). The fact that the variation acquired can pass on from generation to generation can support the judgment It is then shown that BEM wave carries genetic information (BEM wave genetic information).
3.3. No morphologic change and result of increase in production have been observed from the experiment of putting wheat of low production under the field guide of wheat of high production. It can also be observed 11 comparison with other experiments that BEM microwave transmitted from heterogeneous organism can cause the genetic features of donee to be varied but BEM microwave transmitted from the organism of the same species can not.
3.4. Genetics has made known that active gene (coding protein structure gene) accounts for 1-5% of all genes in the gene group. The rest 95%-98% genes are called inactive gene (potential genes) by the authors. The active gene is to pass on the genetic information to RNA according to the central principle of DNA duplex splitting, andRNA conlrols thecombination of amino acids though information andfinally protein is synthesized. Inactive gene (potential gene) does not take part in the control of protein synthesis. The results of biological field guide experiment show that there are new active genes in the donee in field guide, which are similar in nature to the active genes of the field guide sources (for instance. Duck web grown on chicken's claws conform to that controlled by active genes of duck, side stems on the corn stalk and corn ears with wheat seeds conform to those controlled by active genes of wheat, cucumber tike round ball and containing more sugar and protem conforms to that controlled by active genes of muskmelon, etc.), It is shown that the biological wave transmitted from heterogeneous organism has genetic information of the active gene of the organism, which activated the inactive gene (potential gene) of the donee in the field guide to synthesize relevant protein and, as a result, variations with relevant genetic characteristics of the organism, the field guide source, occur. The variation is the directional genetic variation so that a new species of good nature and high production is obtained speedily and can not be degenerated easily.
3.5. Receiving the field guide of biomicrowave transmitted from heterogeneous organism, the aged mice may recover their youthful vigor; i.e. the information of active gene carried by biological microwave of heterogeneous young organism activates the inactive gene of the mice to synthesize relevant anti-aging protein, and the effect of recovering youthful vigor results. That is to say, the inactive gene (potential gene) is the anti-aging gene. The cells of organism contain 95%-98%potential genes.
The activity information of active gene carries by biological microwave of heterogeneous young organism can activate the anti-aging potential gene of the donee (including the old of 70-80 years old),and synthesize protein of the nature of youthful organism to make the aged younger.
3.6. m recent 10 years, field guide Biotron was used for many people, who received biological microwave transmitted from various plant seedlings for recovery of youthful vigor and health convalescence. Their nervous reilective function was improved, endocrine function regulated, and sexual function recovered. Beside their chronic diseases were relieved or eliminated without any adverse reaction.
3.7. The action of biological microwave and its field guide can be used in agriculture. The application of it in directional breeding of plants and animals may save much time and labour. In medicine, it can be used to regulate physiological function, improve constitution, enhance physical strength and take effect of anti-aging, disease resistance and health protection. In addition, it can also be used for reducing obesity and cosmetics. Rich experience have been collected in the experimental study of several decades the biological microwave and the field guide effect and the information brought about by BEM field are, after all, new things, which still need more deepened researches. Once it is applied widely in either agriculture or medicine tremendous economic benefit and social influence can be produced (The end)
References:
1) Jiang kanzheng: The method to change organism's heredity's and the device to transmit biological information. Soviet Union Patent No. 18286651981
2) Jiang kanzheng: The device to transmit natural information nutrition to a biological object "Biotron Tsyan-2" Russian Patent No.2090613 1995; Tszyan kanchzhen: Device "Biotron Tszyan-2" for transmitting a natural information supply to a biological object Geneva International Patent No.Wo 96/41872 1996
3) Jiang kanzheng: The method to rejuvenate organism Russian Patent No. 2750808 1991
4) Jiang kanzhen: Experiments with Auras (Bioelectromagnetic Fields) Nexus new times magazine (V.S.A.& Canadian edition) 1995 Vol.3 No.l p.39—42,68
5) Jiang kanzhen: Bioultrahigh frequency connection A collection of articles on non-tradition aspects of natural science No.l, 1992 Tomsk, Siberian Scientific Research Centre of Momalous Environmental Phenomena Khabarovsk
6) N.I.Semchenko:Theshapeofcucumber,thetasteofamelonW«M'jpeper "TOZ" 14.11.1987Khabarovsk
7) Zheng Qian, Jiang Kanzhen, Fan Shuduo et al: The anti-senility effect of the young plant's biotic field on the aged mice (in Chinese withEnglish abstract) Journal ofChina Medical University Vol.23, No.6, Dec. 1994
8) Wang Yong Yan Some experience about measuring the biological age of human wilh the optical accomodometer and spirometer (thermostat rotary type) Journal of Chinese Gerontologic society 1997 17 (2) 60-63
9) Jiang Kanzheng, Zheng Qian, Tang Binghuan: The rejuvenation application of bioelectromagnetic field and its detection Proceedings in the 3* conference of Modem Biophysical Technique, held by the Chinese Society for Biophysics Oct.2000 Kunming
10) Xia Zhongdi Zheng Qian, Chen Shuzhen, Shu Mingxin, Wu Guojun: Investigation of the effects of biotic field of plant seedling on human body Bulletin of Hunan medical university 2000 Vol.25 No.2 P. 151-153
Authors:
1. Name: Jiang kanzheng. J. V., Nationality: Russian, Gender M. Bom on Feb.501.1933 in China Liaoning provence, The head of Jiang's Institute at Khabarovsk Russia. Graduated from China Medical University in 1959, Emigrated into Soviet Union in 1971, Academician of Academy of International energy informative sciences (Moscow) 1995, Academician of Academy of medical technical sciences 1998, Ph.D. of medical sciences 1998.
2. Name: Zheng Qian, Nationality: P.R of China, Gender: M. Bom on March. 1924,1 Professor of dept of Physiology, China Medical Univercity. Graduated from China Medical University in 1951.
3. Name: Tang Binghuan, Nationality: P.R of China, Gender: M. Bom on May.l925,iSenior engineer of Liaoning Medical Equipment Institute. Graduated from ChinaMedical University in 1949.
www. usnsr.org
RU2057808
METHOD OF ORGANISM REJUVENATION
The invention relates to biology and in particular to gerontology and may be used for rejuvenation of organisms.
It is known to use a systematic point of cauterization of longevity to achieve longevity, but not proven link between longevity and rejuvenation of the human body, and the relationship of these factors with the cautery point of longevity.
There is a method of rejuvenation with the use of xenotransplantation gonads animals to humans.
Founder of Immunology II Mechnikov believed that aging occurs due to the formation of toxins in the intestines and autointoxication them.
In order to combat this phenomenon, he suggested that lactic acid food products.
Academician of the Academy of Medical Sciences of the USSR OV Lepeshinskaia offered its own method of dealing with aging: soda baths.
However, this method is achieved by only a slight improvement in the skin.
The aim of the invention is to improve the process efficiency due to the normalization of physiological processes.
This goal is achieved by that in the known method comprises subjecting the organism, exposure is performed donor biological field, which is used as sprouted seeds and embryos of birds and animals, exposure to donor and recipient areas placed at the focus, and exposure is carried out for three months for 7-9 hours per day according to the scheme.
The drawing shows an apparatus for carrying out the method.
The method is as follows.
One of the focuses of the scope of the objects placed donor and the other anti-aging focus to the recipient.
The impact on the recipient is carried out in the three months to 7-9 hours a day.
Used as the donor germinated seeds and embryos of animals and birds, and the seeds are used as a donor for two months, two weeks change the form of seeds, and every day replace fresh.
Animal or bird embryos were used as donor in the last month.
EXAMPLE
Example 1.
For the experiment, took a two-year 300 white mice, the control group was also 300 animals. 100 animals were placed in a focus sphere diameter of 1 m
As donors have used the first two weeks germinated within three days of pea seeds, replacing them every day, in the next two weeks, three-day germinated seeds of wheat, in the next two weeks, three-day germinated seeds of soybean, in the fourth three-day germinated seeds of beans.
The mass of each portion of the donor 2 kg (up to germination).
Within the scope for germination of seeds to create the necessary conditions for life: moisture, temperature, flow of fresh air.
As a donor to the fifth couple of weeks used hatching eggs of chickens (90 pcs.).
Eggs are changed every two hours, maintaining their temperature.
In the last couple of weeks, the donor rabbit was pregnant (pregnancy 1 week).
Sessions lasted for three months to 7-9 hours a day.
The test results are shown in Table.
The experiments carried out confirmed the rejuvenation of the recipient, but for the offspring of the recipient is not harmless.
Therefore rejuvenation is recommended only after the end of their childbearing years.
Example Example 2.
The experiment was conducted on the author of the scheme outlined in Example 1.
We obtained the following results.
There was a subjective improvement in general condition, increase mental performance and efficiency.
Others showed improvement in appearance, fewer wrinkles, receding hairline covered with hair.
Thus, the proposed method leads to rejuvenation of the human and the animal.
RU2117044Abstract
WO964089
DEVICE "BIOTRON-TSZYAN I" FOR TRANSMITTING A NATURAL INFORMATION FLOW TO A BIOLOGICAL OBJECT
The proposed device comprises a modular chamber (1) comprising two compartments (2, 3), the purpose of the first compartment being to receive an information flow from a biofield source (4). The first compartment comprises a cylindrical housing and the parabolic antenna (6) of the biofield receiver, said antenna being mounted on the housing so as to be capable of opening like a door. The purpose of the second compartment (3) is to act on the biological object which is the consumer of the natural information flow. Said compartment comprises a cylindrical housing consisting of a top and a bottom half-cylinder (14, 13) fastened on one side to the housing of the first compartment and on the other to the antenna (12) which acts on the object. Slits (15) are provided at the sides to allow the introduction of a biological object into the chamber and the slits are provided with sleeves made from a material which is impermeable to the bioelectromagnetic field. Young plants or small animals can be used as the biofield source (4).
The invention relates to providing maintaining vitality biological object.
The body of his life from the external environment is constantly receiving food - proteins, fats, carbohydrates, minerals and vitamins.
The invention is based on the fact that during the life of the organism its atoms and molecules are linked bioelectromagnetic fields that are carriers of the biological information.
Restores bio object or individual organs can be achieved at the expense of the natural supply of information received from another living biological entity.
A device for transmitting information supply natural biological object containing the source of the biofield and for the placement of the source and object.
As a source of bio use the hands of the operator, committing about certain movements of the body of the object.
However, in this case the source of the information used by the power of the same species as the biological object-to-consumer.
The source is used many times to work with different objects.
But we know that aura of reciprocal acts.
Therefore, the source is from the harmful effects of the object, which can be transferred to other facilities when dealing with them.
In addition, the impact of bio inefficiently, as is done directly between two biological objects, and does not increase any instruments.
The present invention solves the technical problem: the elimination of harmful effects on biological object biofield source and increase the efficiency and impact of the consumption of natural object information supply.
This technical problem is solved by the fact that the device contains a source of bio-field and for the placement of the source and the object that contains the horizontal collecting chamber, which consists of two parts, the first of which is intended to receive the information from the source of supply and bio includes a cylindrical body and a parabolic antenna bio receiver whose diameter equals the diameter of the housing and pivotally mounted on a one side thereof with the possibility of opening and a second compartment intended for exposure to the biological object, information which the consumer natural food, and comprises a cylindrical housing secured to the housing on one side of the first compartment, and dish impacts attached to the other side thereof, wherein the second branch body is composed of two parts,the bottom of which is formed as a half-cylinder of a material that is impermeable to bioelectromagnetic field and the top - in the form of half cylinders of metal, wherein at opposite sides of the housing cutouts for introducing the object, in which a sleeve of material strengthened and impermeable bioelectromagnetic field and at the top - the window to communicate with the environment in the room with a strengthened its brass fine mesh, while for the placement of the source and object are located in the area of ??the respective foci of parabolic antennas.
As a source of bio can be used with young plants for a period of vegetation 1 - 2 weeks, or small animals aged up to half the period of their development.
Means for placing a biological object can be a bed.
Parabolic antennas are equipped with racks.
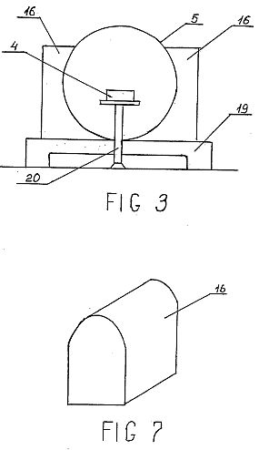
FIG. 1 shows an apparatus for transmitting information supply natural biological object, a front view.
FIG. 2 - same, top view.
FIG. 3 - the same, side view.
FIG. 4 - compartment housing for receiving the information from the source of supply bio.
FIG. 5 - 6 - respectively upper and lower part of the housing compartment impact on the biological object.
FIG. 7 - hose that is attached to the body of the second branch.
![]()
![]()
An apparatus for transmitting information supply natural biological entity comprises a horizontal collector chamber 1, which consists of two parts 2 and 3.
Branch 2 is intended to receive information supply from the source 4 and bio comprises a cylindrical housing 5 and the parabolic antenna receiver 6 bio whose diameter equals the diameter of the housing 5.
The latter is made of metal such as copper, aluminum.
On one end face of the housing 5 has a bent outwards 90otbortovku 7.
On this side of the housing 5 on the vertical joints reinforced antenna 6, which allows the door to open it.
At the edge of the parabolic antenna has a raised edge 6 also for a tight and secure contact with one end of the housing 5.
On the other end side of the upper half of the housing 5 has a similar flare 8 and the lower half of the body 5 has an edge curved in the form of channel sections 9.
Parabolic antenna 6 is curved so that its focus is located in the hollow body 5.
Outside on the side opposite the hinges, the antenna 6 has a valve.
In the cavity of the housing 5 in the area of ??focus of the parabolic antenna receiving means 6 is arranged to accommodate the source 4 in the form of bio wooden or plastic supports 10.
Enclosure 5 has a supporting stand 11, which is located vertically below the stand and adjustable by height.
The second compartment 3 Camera 1 is intended to affect the biological object, a consumer of natural nutrition information.
It comprises a cylindrical case secured to one side of the housing 5 of the first compartment 2 and a parabolic antenna 12 impacts attached to the other side thereof.
A second compartment housing 3 consists of two parts 13 and 14.
Lower portion 13 formed as a half-cylinder of a material that is impermeable to bioelectromagnetic field.
As such a material may be used a fabric with special silver thread or aluminum foil attached to a polyethylene basis.
Use of such a material ensures that the bio inside the chamber.
The material from which the body is formed of the second branch, to bond with the body 5 of the first branch is located between the shelves sill 9, fixed fastenings and a plug.
The second front edge of the chassis of the office is attached to a parabolic antenna 12 exposure.
The upper part 14 of the housing second compartment is designed as a semi-cylindrical metal, such as copper or aluminum.
At opposite sides of the housing of the second compartment 3, i.e. in the upper and lower parts 14 and 13 are recesses 15 for the administration of the bioobject, which reinforced sleeve 16 of a material that is impermeable to bioelectromagnetic field, e.g. with silver thread fabric or aluminum foil attached to a polyethylene basis.
According to the free edge of the outer sleeve 16 prodernuta rope for tying.
Width of cut 15 should be such as to freely accommodate the biological object, such as to match the thickness of an adult.
In the upper part of the body of the second compartment box holds 17 messages for the chamber to the environment of the room.
In the 17 reinforced brass fine-meshed net (mesh size of about 1 mm).
The edges of the metal housing of the second space made outward flange 18 for connection with the body 5, the antenna 12 and the bottom impact of a material that is impermeable to bioelectromagnetic field and cloth sleeve 16.
Means 19 to accommodate the biological object can be, for example, a bed, lounger, couch, sofa, etc.
It is located under the second compartment 3 and the camera is arranged so that the biological object being natural user supply information, is within the focus of the parabolic antenna 12 feedback.
The antenna is equipped with removable studs 20.
The connection portion of the first and second housings compartments 2, 3 in the assembled state rests on the bearing surface of the bed.
This device operates as follows.
Harvested cell 1 mounted horizontally in a room designated for the session, so that the compartment 3 is positioned above the bed.
Through recesses 15 and the sleeves 16 a biological object, in need of consuming information natural food introduced into the compartment 3 and is arranged so that some organs are in the focal zone of the parabolic antenna 12 feedback.
On the stand 10 located in the first part 2, through the open door of a parabolic antenna 6 is mounted biofield source.
As it can be used by the young plants with a maturity of vegetation 1 - 2 weeks, for example, grown in pots of wheat, corn, peas, soybeans, cabbage, flowers and crops without thorns.
At the same time planting seeds should be so thick that touched the grain of corn.
At the same time, you can use one pot.
During a session every 2 hours to change the pots with plants.
As a source of bio may be used in small animals under half of their period.
They must be put in a cage made of metallic material.
Length should be between 2 to 4 hours every day to make up for the biofield and 8 hours daily for rejuvenation.
It is advisable to conduct 10 sessions.
When there is a communication session natural nutrition information, the object should be placed on the bed.
The parabolic antenna 6 bio tight to the body 5.
Gate valves are closed.
When transmitting information supply natural biological entity, such separate organs of the body, it needs the following location within the chamber.
For the head or shoulder of one arm hole 16 is closed, the opening of another arms tied at the chest or armpits.
For the chest or upper extremities, located inside the 2nd branch, the opening of one sleeve 16 is fastened at the armpits, the opening of another sleeve 16 is fastened at the stomach level.
For abdominal and pelvis, located inside the 2nd compartment 3, the opening of one arm tied at the chest and abdomen, the opening of another sleeve 16 is fastened below the hip joint.
Depending on which part of the body, which is necessary to transmit natural nutrition information, choose one location of the camera relative to the means for placing the object.
The use of small animals (rabbit, turtle, bees, birds, cat, rabbit, dog, snake, etc.) is possible only if the transmission power is not made of the abdomen and hips of the body.
Transmission power information is natural due to the transfer of biological information from the source to the bio dish receiver 6, further it - by a parabolic antenna 12 and the focusing effect with the latter on a biological object.
This unit will eliminate the possible adverse effects on biological object bio power and efficiency of the impact of consumption and the object of the natural nutrition information.
This is accomplished by allowing the use of the device as a source of bio is not the person, and other living organisms to be replaced during the sessions, and the focus of this bio receptive to certain organs.
Furthermore, the device is compact, it can be used when transmitting information natural food in the home.
Also, the device can be used to transmit information of natural food not only humans but also biosamples another species.
For example, can be placed in the focus area antenna impact germinated seeds and vegetable crops, fruit, fodder grasses and medicinal plants, flowers, seeds, trees and so forth.
As a source of bio-field thus chosen so that the characteristics of the object that you wish to influence.
For example, it is planned to grow corn with multiple stems and high yield, and grain with high protein content.
In this case, used as a source of bio culture of wheat.
A result: yield 30 to 100% higher than the control group, a high specific protein content.
Or, for example, is scheduled to grow cucumbers with unique aroma and taste.
To do this as a source of bio-field, being placed in the device 10 on a stand, use a lot of green melon (stem, leaf) or the fruit of pineapple, apple, tangerine and so on.
Cucumbers are respectively received a taste of melon, pineapple, etc., that is a source of bio taste.
Duration 3 - 4 days without a break, but the source is changed in about 4 hours
Germinated seeds are stored in the session wet washed 2 - 3 times per day with pure water.
After exposure can be planted in the field.
The present invention is by transferring biological information object natural food maintains its vitality.
Implementation of the camera team, consisting of two parts, gives a compact device during transport.
Attaching the receiver to the body in the form of door provides ease of use.
The presence of parabolic antennas and receiver biofield effects on biological object allows for the selection of information from the power source and its transfer to the focused object, which intensifies the positive effects on the body.
Implementation of the camera body and sleeves of a material that is impermeable to bioelectromagnetic field, and the overlapping window mesh chicken wire and brass, ensures the safety of bio-field source inside the chamber is placed inside a biological object that increases the effectiveness and use of the information subject to natural food.
RU2055891
METHOD FOR REGULATION OF IMMUNOLOGICAL STATUS OF ORGANISM AT PATHOLOGIES
The invention relates to immunology, in particular to the regulation of the body's immunological after various pathological states.
There are known methods of non-specific active immunotherapy, including the use of vaccines and microbial agents.
Also known method of regulation of specific immunity, in which drugs are injected into the body (immunoglobulin G and M) from the blood of patients with leukemia.
However, these methods are not effective in controlling the immune status accompanying pathological processes, such as tumors, allergies, transplant.
The aim of the invention is to improve the effectiveness of regulation of immunological activity of the body pathologies.
This goal is achieved by that in the known method comprises subjecting the organism pathological material grafted donor animal, whereupon the animal donor and the recipient is placed in a device for the transmission of biological information.
The method is as follows.
In immunologically attenuated organism, e.g. in mouse tumor, the tumor material is collected and its grafted mice and rabbits.
Thus mice also developed tumors and decreased immune status of the organism, while the rabbit is not observed the formation of tumors.
After that, the mice exposed to bio rabbit, resulting in an appreciable increase in immune status of mice.
EXAMPLES
Example.
In an experiment using 300 female white mice, aged 0.5 years, the same number of mice was the control. 15 rabbits were used.
0.2 ml of the ascitic fluid from an animal with a transplantable tumor Ermeha mice injected once, and 2 ml of rabbits three times at intervals of one week.
The animals were then placed in an apparatus for directional transmission of biological information, or sphere, or a microwave lens, wherein in use as the recipient mouse, and as a donor rabbit.
Mice were constantly on the device, and the rabbits were divided into two groups and took turns alternately.
All the control mice die within 7-10 days in the test group during 7-10 days 25% of the animals die, but within 30 months in 40% of animals% normalization occurred cells (tumors are benign), the remaining
30% of animals tumor disappeared.
Thus, the proposed method can improve the immunological status in 70% of animals with cancer.
RU2044550
APPARATUS FOR RESTORING EQUILIBRIUM STATUS OF HUMAN ORGANISM
The invention relates to medical engineering and can be used in treating a wide range of pathologies, including autoimmune.
The closest to the claimed technical solution is realizing method for restoring the equilibrium state of the body, comprising a source of microwave oscillations in a living organism, in particular the hand of the operator [1] The disadvantage of the known technical solutions scattered radiation source effects on the body.
The claimed technical solution is aimed at strengthening the influence of a source of microwave oscillations.
In this known device, comprising a source of microwave oscillations in a living body, further comprises a focusing of two arranged on the same axis reflectors, reflective surface which are arranged oppositely and connected in series receiving antenna microwave oscillation ferrite valve amplifier unit and a transmitting unit adapted to move, with the source of microwave oscillation is in the focus of the first reflector and the second focus of the reflector antenna reception of microwave oscillations, all the elements of the device installed in a grounded chamber shield.
Furthermore, the transmission device is a microwave transmitting antenna and / or is provided with a coaxially installed needle and / or coaxially mounted electrode.
BRIEF graphic: Figure 1 circuit devices, 2 coaxial needle, 3 coaxial electrode.
Device for restoring the equilibrium state of the body comprises a focus of the reflectors 1, 2, located on one axis and the reflecting surface are located opposite.
Between the reflectors 1, 2 are arranged serially connected receiving antenna coaxial cable 3 microwave oscillation ferrite valve 4, the microwave transmissive electromagnetic wave in one direction, the control unit 5 and a transmission amplification unit 6 movable.
Here, the receiving antenna 3 the microwave oscillation is in the focus of the reflector 2, and all the elements of the device installed in the grounded shielding chamber 10.
The transmitting unit 6 includes a parallel-connected microwave-transmitting antenna 7, 8 coaxial needle, coaxial electrode 9.
The coaxial needle 8 (2) is made of an alloy of silver and gold with copper is a continuation-pin single wire coaxial cable inner conductor 11 (Figure 3).
The coaxial needle 8 is connected to the handle 12 as a tube which is the outer conductor of the coaxial cable 11.
The coaxial needle 8 is connected to the end of the coaxial cable 11 by a screw.
Between 8 and the needle handle 12 cap 13 is made of a dielectric material traversed by the microwave electromagnetic waves.
Coaxial electrode 9 end of the coaxial cable 11 single-wire inner conductor.
The apparatus may be used as follows.
Dog with artificially induced gastric ulcer (organism, which is in equilibrium state) is placed in the focus area and the device (see Figure 1).
Focusing apparatus amplifies microwave electromagnetic waves nonequilibrium body, while in zone B devices are enhanced aura dogs (upside down).
According to the laws of traditional Chinese medicine Yin-Yang and Wu-hsing, based on the nature of pathology (Yin-character), the body needs the stimulation of the heart and small intestine.
Microwave receiving antenna 3 in the area of ??focus in the perceived amplified microwave oscillations of the heart and the heart meridian and passes through the transmission unit 6 microwave oscillations in the affected organ (stomach) and the acupuncture meridian points patient's body.
In this area on the dog's stomach impose horn transmitting antenna 7, and on the acupuncture points coaxial needle 9 or coaxial electrode 9.
![]()
Device "biotron tszyan-2" for transmitting a natural information supply to a biological object
EP 0872549
CA 2230815
Abstract
The proposed device comprises a chamber assembly with a main housing (1) and two antenna systems mounted on opposite sides of the housing (1) and each provided with a reflector (6,8) and microwave lens mounted coaxially with the respective reflector. The device is provided with means for housing a biofield source (3) and for housing a biological object (5), located in compartments (2, 4) formed by part of the main housing (1) and antenna system mounted thereon. Young plants or animals can be used as the biofield source (3).
![]()
![]()
Field of the invention
The present invention relates to the field that ensures the maintaining of vitality of a biological object or possible change of its features, namely, to a device for transmitting a natural information supply to a biological object. This device allows to transmit to the object a genetical information which is stored in deoxynucleic acicl (DNA) of the source that is located at a distance from t:he object by means of the influence of a bioelectromagnetic field to the object's molecules. Background of the invention A method of transmitting genetical material to the cells of Actinomyces is known in the art. Also- known is generation of new species of animals by means of separation of a gene coding a specific hormone homologous to that available at the ovum. (EP, Application # 0061253, Cl. 12N 15/00, 1982). However, in these cases it is necessary to interfe- re into the cell's structure which involves some technical difficulties; there is a necessity of observance of the steritlity of the experiment, and the use of precision equipment. (PCT, Application WO 088(08026, Cl. C12]~ 15/00, 1988). Besides, these methods do not ensure the possibilities of rejuvenescent and curing effects on the biolo- gical object, especially a human being. To continue vital activity a live body constantly receives from 30 its environment an energy supply coming from air and foods which contain proteins, fats, carbohydrates, vi- tam.ns, mineral substances, and water. They contribute to its growth and metabolism. However, they can not slow down the process of aging. In the process of its vital activity the body's atoms and molecules are interconnected by bioelectromagnetic
[0003]
fields that are unitary material carriers of biological information and energy. Replenishment of the biofield of the object or its individual organs can be effected by transmitting a natural information supply received from another live object. There is known device for transmitting a natural information supply to a biological object comprising a source of biofield and a means for housing the source and the object (SU Inventor's Certificate # 1593670 Cl. A61N 5/06 1989). As a source of biofield can be used the hands of the operator who is carrying out specific movements of his hands near the body of the object. Simultaneously with this the biological object is influenced by an 15 alternating electric field and infrared radiation. The operator is a source of superhigh frequency radiation. And due to the fact t:hat any live cell is a small radiator of electromagnetic waves of a superhigh frequency band the operator transmits to the object/receiver 20 a biological information replenishes the biofield of the object/receiver and energizes it. In doing so, the curing effect takes place. However in this case is sued a source of information supply of the same species as the biological object/ 25 receiver. In doing so the source is used many times for working with various objects. But it is known that biofield exerts mutual influence. That is why the source receives from the object a pernicious influence that can be transmitted to other objects during his 30 inte]course with them. Besides the influence of the biofield is not so efficient because it takes place directly between two biological objects and is not amplified by any instruments.
[0004] Summary of the Invention
This invention is aimed at the solution of a technical task of elimination of a possible pernicious influence on a biological object of a source's biofield that has been harmfully affected during its intercourse with another object, the invention is also aimed at the raising of efficiency of the beneficial influence on -the object and its consumption of a natural information supply. The raised task of the invention is attained due to 1:he fact that the device for transmitting a natural information supply to a biological object includes a source of biofield and means for housing the source and the object and comprises a chamber assembly having a housing, two antenna systems each of which having a reflector and a microwave lens mounted coaxially with the respective reflector, the first antenna system being secured to one side of the housing in such a manner as t:o form a compartment for reception of an information supply from the source of biofield while the second antenna system is secured to the opposite side of the housing to form a compartment for influencing a biological object, means for placing a source of biofield and the biological object being located in the zone of focus 25 of the respective antenna systems while near the latter mean.s from the side opposite to the antenna system is mounted a group of microwave lenses. Implementation of the said device in the form of a chamber assembly, comprising a housing and two antenna systems as well as availability of an additional system of lenses and its location at a focus distance from a biological object, ensures the possibility of a more complete taking away of an information supply and its focused transmittance to the object. Implementation of said antenna systems in the form of a reflector and location of a microwave lens mounted coaxially with it
[0005] (or secured to it) ensures the increase of the amplification coefficient and the directional action of the systems. Said housing may have a cylindrical form with antenna systems being secured to its end sides. Implementation of said housing in this form ensures easiness of use of the device which is manifested in the possibility of easy replacement of the source of biofield and, as a result, in shortening of time needed for carrying out this operation. Said housing may have such a design that together with said antenna systems secured to its opposite sides there is formed a chamber in the form of a sphere or a chamber the section of which has the form of an ellipse. Such a form of the chamber ensures high mechanical rigidity and high percentage of a natural information supply received by the object. It is recommended to separate said compartments by partition secured inside said housing and made of such a material that the bioelectromagnetic radiation can penetrate through it. This creates more comfortable conditions in the compartment for a bioobject due to elimination of the possibility for the smell and noise from the source of a biofield to penetrate into it. In case of the necessity to transmit a natural information supply to a small object, for example, embryos, cells, it is necessary to supplement the second antenna system with a convex metal mirror located in the zone of the focus of the reflector and lens and facing with its convex side the reflector thus ensuring concentration of electromagnetic radiation of the biofield into a narrow beam for its direction onto a small object. In this case the total resulting focus of said antenna system will shift closer to said reflector. A small biological object placed into that zone will receive an electromagnetic flow of higher density
[0007] resulting in the increase of its effect. It is recommended to use as a source of biofield some young plants with the period of vegetation of 1 to 2 weeks from the beginning of vegetation or some large or small animals at the age up to the first half of their growth. At such a stage of growth cells are in an active state of division and, as a result, have more active biofields due to which the effect on the biological object/receiver is greater. Such a design of said device allows to eliminate a pernicious effect of one biological object-receiver ) on the other which may take place when the influence on objects/receivers is exerted only by one operator used as a source of biofield. With the present device in each case is used an individual, young, healthy, and strong source of biofield which has not yet interacted with another biological object. Besides, during the course of treatment the source of biofield may be easily changed to a new one several~times. This results in the raising of the degree of transmittance of a full-fledged natural information supply and, consequently, a fuller replenishment of the biofield of the object which gives positive results in treatment, rejuvenation of human being or change of features of an animal or a plant. Brief Description of the Drawings This invention will be apparent from the detailed description of the preferred embodiment of the invention with reference to the accompanying drawings in which: FIG.l shows the device for transmitting a natural information supply to a biological object having a cylindrical housing. FIG.2 is a section along A=A of FIG.1. FIG.3 is a section along B-B of FIG.1. FIG.4 is a section along C-C of FIG.l. FIG.5 shows a fastening assembly of the antenna
[0008] system's reflector. FIG.6 shows the device for transmitting a natural information supply having a chamber of a spherical form. FIG.7 shows the device for transmitting a natural information supply to a biological object having a chamber of elliptic section. FIG.8 shows the second antenna system supplemented wit:h an additional mirror. The Preferred Embodiment of the Invention The device for transmitting a natural information supply to a biological object comprises 2 chamber assembly having housing 1 made, for example, of duralumin and two antenna systems. The first antenna system is a receiver of a bioelectromagnetic radiation and is secured to one side of housing 1 forming, together with an adjacent part of housing 1, compartment 2 for reception of an information supply from source 3 of biofield. The second antenna system serves for reception and di- rectional transmittance of a bioelectromagnetic radiation and is secured to the opposite side of housing 1forming, together with an adjacent part of housing 1, compartment 4 for influencing biological object 5. The first antenna system comprises reflector 6 and microwave lens 7 mounted coaxially with it. The second antenna system comprises reflector 8 and microwave lens g mounted coaxially with it. Housing 1 may have a cylindrical form (FIG.l). Said antenna systems should be secured to its end sides. In doing so, it is recommended to use reflectors 6,8 hav:ing a parabolic form. Housing 1 may have such a design that together with said antenna systems, secured to its opposite sides, it forms a spherical chamber (Fig .6). Housing 1 may have such a design that together with said antenna systems secured to its opposite sides it forms an elliptic chamber (FIG.7).
[0009] Each reflector 6,8 is secured by its end side to mounting frame 10 (FIG.4, 5) by means of eyes 11. Said frame has a support system comprising plate 12, mounted on a foundation, and inclined columns 13. Each reflector 6, 8 at its edges has flanges to which are secured rods 14 which encompass cylindrical housing 1 to ensure its rigidity. Housing 1 has a support made in the form of bed 15. In housing 1 for compartments 2 and 4 are provided doors 16, 17 (FIG.2, 3) being a part of the surface of housing 1 and having for the cylindrical design of ) housing 1 a form of an arc. In spherical or elliptic designs of said chambers doors 16, 17 have the forms of a part of a sphere and a part of an ellipsoid respectively. Doors 16 and 17 are secured to columns 18, 19 by means of hinged joints (FIG. 2, 3). In compartment 2 in the zone of focus of the first antenna system is provided means for placing source 3 of biofield; such means may be designed in the form of movable shelf 20 (FIG.1, 2, 6, 7) having wheels 21. Shelf 20 is mounted on support platform 22 located opposite door 16. Platform 22 is secured on columns 23 passing through slots in housing 1 and is supported on said foundation. Platform 22 has side guides 24 (FIG.1, 2) for wheels 21 of shelf 20. Behind this assembly is installed a limiter of shelf movement (not illustrated,l. In compartment 4 in the zone of focus of the second antenna system is provided a means for placing of one or more biological objects 5; said means is made in the form of multiplier or single-tier bed 25 (FIG.1,6,7) supporting elements of which through said slots in housing 1 are mounted on said foundation. Housing 1 has floor 26 for people to move around. Supports 27 for said floor are located in such a way
[0010] that they through cylindrical housing 1 are supported on bed 15. Compartments 2 and 4 may be separated by means of partition 28 (FIG.l) secured in housing 1 and made of the material that. can be-penetrated by the bioelectromagnetic field, for example, of polyethylene (or coloured polyethylene) or foam plastic. Housing 1 has several apertures 29 (FIG.1) covered with a small mesh brass lattice (mesh size: up to 1 mm) for communication with the environment. Near said means for placing a biological object ) at the side opposite to the second antenna system is mounted a group of microwave lenses 30 (FIG.l, 6, 7) the number of which corresponds to the number of tiers of bed 25 used for placing bioobjects. Support 31 of lens system 30 is located on floor 26. It is possible to provide a regulated movement of said lenses horizontally and vertically. Total area of all said lenses must not exceed 10% of the cross-sectional area of housing 1. In housing 1 are installed conventional lamps 32 and quartz lamps 33. The second antenna system may be supplemented additionally with convex metal mirror 34 (FIG.8) located in the zone of reflector 8 and lens 9 and facing by its convex side said reflector to ensure the concentra- tion of the electromagnetic radiation of biofield into a narrow beam. It is recommended to use it in case of influence on a small biological object. The operation of said device for transmitting a natural information supply to a biological object shall be performed in the following way. Through door 17 biological objects, for example, several people, enter compartment 4 and are placed on tiers of bed 25 while through door 16 to compartment 2 is delivered movable shelf 20 on the shelves of which are placed sources 3 of biofields. In the capacity of
[0011] such sources may be used young plants with the period of 1 to 2 weeks from the beginning of vegetation, for example, wheat, corn, peas, soy beans, cabbage, flowers grown in flower pots and their crops without thorns. Seeding of gxains shall be done so densely that adjacent grains must contact each other. During the course of treatment the pots with-the plants must be replaced every 2 hours. As a source of biofield may also be used animals at the age of half the period of their growth (for example, mice, hares, rabbits, dogs, deer, bears, etc). They shall be put into cages made of non-metallic material. The duration of a course of treatment must be from 2 to 4 hours daily for replenishment of the biofield and 8 hours daily for rejuvenation. It is recommended to proceed 10 courses of treatment. The use of biofields of animals is allowed only for those persons who do not plan to have children further on. The first antenna system accepts the bioelectromagnetic radiation from that side of source 3 of biofield that faces that system, forms and opens a flat phase front and directs it to second antenna system 4. Then, from that system said bioelectromagnetic radiation is ) focused into the focus zone of that system where is located biological object 5 (or several objects 5). In that zone is formed a structure of said bioelectromagnetic field similar to that of the source. That biofield exerts influence on object 5 ensuring transmittance to it of a natural information supply. The bioelectromagnetic radiation from the side of source 3 of biofield that does not face the first antenna system is received by first microwave lens group 30, is focused and transmitted by those lenses to specific areas of biological object 5 that especially are in need of reception of a natural information supply. The device can also be used for transmitting a
[0012] natural information supply not only to a human being but also to bio-objects of other species. For example, one can place into compartment 4 in the zone of focus of the second antenna system germinated seeds of vegetable and grain crops, fruits, fodder grass, medicinal plants, flowers, tree seeds, etc. As source 3 of biofield shall be selected such species the features of which is necessary to transmit to the object/recipient. For example, if the objective is to grow corn with multiple stems, high yield and grains containing higher amounts cf roteiL.s. In this case s source 3 field must be used wheat crop. The result achieved: crop yield is from 30 to 100% higher than in the reference group, with a higher average content of protein. If, for example, it is planned to grow cucumbers having a specific scent and taste. For that purpose as source 3 of biofield must be used green mass of melon (stem, leaves) or fruits of pineapple, apples, mandarins, etc. The resulting cucumbers have a taste of melon, pine-apple, etc., i.e. the taste of the biofield source. The duration of the treatment course is 3 to 4 days without interruption but source 3 shall be changed to a new one approximately every 4 hours. Germinated seeds during the course of treatment shall be maintained moistened, and are washed 2 or 3 times a day with pure water.After the treatment seeding in the field may be implemented. It is also possible to exert such influence on embryos, cells, and tissues of animals. In doing so, it is expedient to use the device (FIG.8) in which the second antenna system is provided with convex metal mirror 34 located in the zone of focus of reflector 8 and lens 9. Biological object 5 is located in the zone of focus of the whole antenna system with that focus being shifted closer to reflector 8. The bioelectromagnetic radiation directed from the first antenna system
[0013] comes to reflector 8 and lens 9 and from them - to convex mirror 34. From that point the electromagnetic flow is reflected and in the form of a more dense beam is directed to the zone of focus of the second antenna S system where biological object 5 is located. Thanks to :higher concentration the degree of influence during transmitting to an object a natural information supply is increased.
Industrial Applicability
The device is easy to manufacture and use, it is recommended to use it for maintaining vitality of bodies by way of transmitting to them a natural information supply from live sources.
APPARATUS FOR RESTORING EQUILIBRIUM STATUS OF HUMAN ORGANISM
RU2044550
1

