James
MENG
Acoustic Remote Cavitation
Navy
Patents Sound Weapon
by Sharon
Weinberger
Imagine a day when a submarine could blast a target to
smithereens using nothing more than acoustic energy. That’s
the idea behind a recently granted U.S. Navy patent for a
cavitation weapon. The powerful weapon would use sonar to
generate "acoustic remote cavitation," i.e. a big pressure
bubble, that would destroy everything from torpedoes to mines.
As the patent describes:
A method is disclosed of generating a predetermined field of
cavitation around a remote target in an underwater
environment. The method includes the steps of identifying a
remote target location, generating at least two acoustic
beams, each at a high power output, from an underwater
acoustic source, and controlling the generated acoustic beams
to intersect with each other at the remote target location and
thereby create a destructive cavitation field at the
intersection of the beams. The acoustic source and target can
be located in unconfined underwater space and at a distance of
at least 100 m apart.
Underwater cavitation is being looked at for a number of
applications — including superfast sub and missiles, but this
is different; it would actually use pure acoustic energy to
destroy things, i.e. no bombs or missiles involved. The
potential applications include "mine neutralization; torpedo
self-defense, melee close-in encounter; and any sources or
communication systems that must be left behind."
The underlying physics is based on the intense heat and
high-pressure pulse from the sonar sources 12, 14, and 16 as
the damage mechanisms by virtue of the intense acoustic power
of the sonar sources. An ensuing cavitation bubble formation
and collapse and shock propagation will also inflict damages
on underwater objects 18 targeted for removal. The technical
drivers are the cavitation lethality on the undesirable
objects 18 and the acoustic power of the sonar sources versus
range and depth.
In an intriguing note on other uses, the patent says: "In view
of the above detailed description, it is anticipated that the
invention herein will have far reaching applications other
than those of underwater destruction of undesirable objects."
Any ideas what that could be?
Acoustic
remote caviation as a destruction device
US7206257
A method is disclosed of generating a predetermined field of
cavitation around a remote target in an underwater
environment. The method includes the steps of identifying a
remote target location, generating at least two acoustic
beams, each at a high power output, from an underwater
acoustic source, and controlling the generated acoustic beams
to intersect with each other at the remote target location and
thereby create a destructive cavitation field at the
intersection of the beams. The acoustic source and target can
be located in unconfined underwater space and at a distance of
at least 100 m apart.
BACKGROUND
OF THE INVENTION
(1)
Field of the Invention
This invention generally relates to an environmentally clean
device to eliminate or destroy unwanted underwater objects
remotely without using explosive materials. More particularly,
the invention uses a general-purpose active sonar array to
remotely eliminate or destroy unwanted underwater objects.
(2)
Description of the Prior Art
The current art for the underwater destruction of unwanted
objects is as varied as the devices to be destroyed.
The following patents, for example, disclose a generating a
cavitation area at a very close range and/or within an
enclosed space and at high frequencies, but do not disclose
generating a cavitation in an essentially free water space and
at relatively low frequencies in order to destroy a target
within that free space.
U.S. Pat. No. 4,244,749 to Sachs et al.;
U.S. Pat. No. 4,681,264 to Johnson, Jr.
U.S. Pat. No. 5,035,363 to Somoza;
U.S. Pat. No. 5,209,221 to Reidlinger;
U.S. Pat. No. 5,681,396 to Madanshetty; and
U.S. Pat. No. 5,827,204 to Grandia et al.
Specifically, Sachs et al. discloses removal of biofouling
from the external surfaces of spaced apart pipes of a heat
exchanger which are in contact with a liquid by positioning a
plurality of ultrasonic transducers between the pipes and
operating the transducers at sufficient power levels to cause
cavitation within the liquid to effect the desired cleaning
action. The transducers are arranged in a planar configuration
to produce bi-directional acoustic radiation. Various types of
instrumentation are provided for determining the extent of
biofouling and effectiveness of cleaning as well as for
monitoring transducer operation parameters.
The patent to Johnson, Jr. discloses a process and apparatus
for enhancing the erosive intensity of a high velocity liquid
jet when the jet is impacted against a surface for cutting,
cleaning, drilling or otherwise acting on the surface. A
preferred method comprises the steps of forming a high
velocity liquid jet, oscillating the velocity of the jet at a
preferred Strouhal number, and impinging the pulsed jet
against a solid surface to be eroded. Typically the liquid jet
is pulsed by oscillating the velocity of the jet mechanically
or by hydrodynamic and acoustic interactions. The invention
may be applied to enhance cavitation erosion in a cavitating
liquid jet, or to modulate the velocity of a liquid jet
exiting in a gas, causing it to form into discrete slugs,
thereby producing an intermittent percussive effect.
Somoza discloses reducing the particle size of energetic
explosive materials by slurrying the particulate explosive
materials in an inert liquid such as water or an aqueous
solution, and subjecting the slurry to intense acoustic
cavitation from an ultrasonic generator for a short time. The
particulate explosive materials are rapidly ground to a small
particle size while minimizing the danger of detonation.
Riedlinger discloses a device for generating sonic signal
forms for limiting, preventing or regressing the growth of
pathological tissue that comprises an ultrasonic transmission
system for transmitting sound waves, focused on the tissue to
be treated, by way of a coupling medium. An ultrasonic signal
produced at the focus of the system comprises brief pulses
having at least one rarefaction phase with a negative sonic
pressure amplitude with a value greater than 2*10<5 >
Pa. The ultrasonic signal is radiated with a carrier frequency
exceeding 20 kHz, a sonic pulse duration T of less than 100
[mu]s and a pulse recurrence rate of less than 0/(5T). The
device produces controlled cavitation in the tissue to be
treated.
The patent to Madanshetty discloses the surgical cleaning of a
semiconductor wafer through the inducement of cavitation on
the surface of the wafer at the location of an adherent
particle. Cavitation is induced by focusing two acoustic
fields on the surface of the wafer. The two acoustic fields
include a cavitation field having relatively low frequency
focused on the wafer surface from a direction perpendicular to
the wafer and a coaxing field of relatively high frequency
focused on the wafer surface from a direction between 0 and 25
degrees from the wafer surface.
Grandia et al. discloses medical noninvasive operations using
focused modulated high power ultrasound that generally
includes a transmitter for exciting a multifrequency
ultrasound wave for causing vaporous cavitation bubbles in a
small focal zone of a medical target region. Focused
ultrasound can be used for both dissolving tissues as well as
causing clots in order to destroy cancerous growths. The
multifrequency wave includes an underlying low frequency
signal for enabling optimal growth of microbubbles and at
least one high frequency signal for enabling a narrow zone of
focus of the ultrasound. A cavitation monitor may be provided
for sensing a level of cavitation as well as providing
feedback to the transmitter. In addition, an imaging system is
provided for enabling viewing of the medical target area
during the therapy.
It should be understood that the present invention would in
fact enhance the functionality of the above patents by
providing an array of intersecting acoustic beams in free
water space, the acoustic beams being generated at a frequency
and range to create a destructive cavitation field around an
undesirable remote target.
SUMMARY
OF THE INVENTION
Therefore it is an object of this invention to provide a
self-defense weapon utilizing acoustic remote cavitation.
Another object of this invention is to provide an underwater
self-defense weapon mounted on an underwater support vessel.
Still another object of this invention is to provide an
acoustic remote cavitation weapon by generating an array of
intersecting acoustic beams.
A still further object of the invention is to provide an
acoustic remote cavitation weapon deriving power from an
underwater support vessel and generating an array of
intersecting acoustic beams at a long range.
Yet another object of this invention is to provide an acoustic
remote cavitation self-defense weapon for generating a
destructive cavitation in free water space.
In accordance with one aspect of this invention, there is
provided a method of generating a predetermined field of
cavitation around a remote target in an underwater
environment. The method includes the steps of identifying a
remote target location, generating at least two acoustic
beams, each at a peak power output, from an underwater energy
source, and controlling the generated acoustic beams to
intersect with each other at the remote target location and
thereby create a destructive cavitation field at the
intersection of the beams.
BRIEF
DESCRIPTION OF THE DRAWINGS
The appended claims particularly point out and distinctly
claim the subject matter of this invention. The various
objects, advantages and novel features of this invention will
be more fully apparent from a reading of the following
detailed description in conjunction with the accompanying
drawings in which like reference numerals refer to like parts,
and in which:
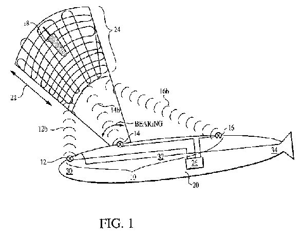
FIG. 1 is
perspective view of a self-defense weapon according to the
present invention;
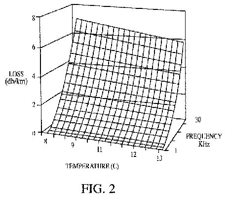
FIG.
2 is graph showing linear and non-linear absorption losses
according to a preferred embodiment of the present
invention; and
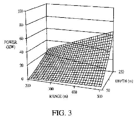
FIG.
3 is a graph showing acoustic power requirement versus range
and depth according to a preferred embodiment of the present
invention.

DESCRIPTION
OF THE PREFERRED EMBODIMENT
In
general, the present invention is directed to an
environmentally clean self-defense weapon, generally shown in
operation in FIG. 1. The weapon 10 includes an array of
selectively activated sonar devices 12, 14, 16, that will
eliminate or destroy unwanted underwater objects 18 remotely
without using explosive materials. It is a characteristic of
the present invention that the underwater environment is that
of free and open underwater space such as that found in lakes,
oceans and other large bodies of water.
The underwater object 18 targeted for destruction is shown
generically in FIG. 1 and may include mines, incoming
torpedoes, marine fouling barnacles, and emergency rescue
operations. It will be understood that the position of the
underwater object 18 is not necessarily specifically
identifiable, yet is within a range of about 100 meters to
about 1 Km from a source vessel such as a submarine 20.
The weapon 10, including the array of sonar devices 12, 14,
16, is mounted to or formed in connection with the submarine
20 or similar underwater vehicle capable of transporting and
providing power to the weapon array 10. In the subject of FIG.
1, the weapon array 10, including three sonar devices 12, 14,
16, is shown to be targeting the object 18 located a distance
22 from the submarine 20. The sonar sources 12, 14, 16 of the
weapon 10 are mounted on the submarine 20 at predetermined
intervals. For example, a first sonar source 12 may be mounted
at the nose 30 of the submarine 20, a second sonar source 14
mounted at a mid-section 32 of the submarine 20, and a third
sonar source 16 mounted at a tail 34 of the submarine 20. This
array spacing and number of sonar sources is by way of example
only and will be modified to suit the particular underwater
transport source. Regardless of the spacing of the array 10 or
number of sonar sources used, the beams 12b, 14b, 16b from the
sonar sources 12, 14, and 16, respectively, will be directed
to intersect at a cavitating focal point coinciding with the
determined location of the target 18. The intersecting beams
at the cavitating focal point of the sonar sources will create
a destructive cavitation field generally identified at 24 in
FIG. 1.
The sonar sources 12, 14, and 16 of the weapon 10 are
activated to generate a focused beam at a frequency of 10 KHz
to 15 KHz. All calculations for target 18 location, output
frequencies, intersecting focal points of the sonar sources
12, 14, 16, and required signals to control "firing" of the
sonar sources is by way of an on-board computer 26 connected
to the sonar sources.
Any general-purpose active sonar source can be used to
assemble a weapon array 10 as in the present invention. The
underlying physics is based on the intense heat and
high-pressure pulse from the sonar sources 12, 14, and 16 as
the damage mechanisms by virtue of the intense acoustic power
of the sonar sources. An ensuing cavitation bubble formation
and collapse and shock propagation will also inflict damages
on underwater objects 18 targeted for removal. The technical
drivers are the cavitation lethality on the undesirable
objects 18 and the acoustic power of the sonar sources versus
range and depth.
Any sonar array can be used in this mode. The stand off
distance is the focal length of the array as defined by the
intersection of the separate sonar sources 12, 14, 16. A
function of physical dimension of the array is that the longer
the span of the array along the support member 20, the farther
away the standoff or target distance may be.
Historically, an acoustic array is always designed to avoid
cavitation. This invention seeks to operate the acoustic array
weapon 10 at its peak power output to maximize cavitation at
the focal point of the array. The key elements of the
operation are: computation of the focal point location and
acoustic beamforming to cover the object location.
There are several advantages to the present invention
including a lack of environmentally detrimental residues that
will be generated. Further, beamforming greatly reduces
response time so that more objects can be removed in a given
time. Also, the present invention reduces cost per object
removed. This concept also enables all sonar to be used as a
device to remove undesirable objects. Furthermore, without any
explosives and the increased standoff distance from the
device, the operating platform of the underwater vessel 20
with the sonar array 10 will not suffer any damage.
FIG. 2 is a graph illustrating linear and non-linear
absorption losses over a temperature range of 0 to 13 degrees
Celsius and a frequency of 1 to 30 KHz. FIG. 3 is a graph
illustrating acoustic power requirement versus range and depth
at 30 KHz.
The potential applications are numerous, and include without
limitation thereto: mine neutralization; torpedo self-defense,
melee close-in encounter; and any sources or communication
systems that must be left behind.
In view of the above detailed description, it is anticipated
that the invention herein will have far reaching applications
other than those of underwater destruction of undesirable
objects.
This invention has been disclosed in terms of certain
embodiments. It will be apparent that many modifications can
be made to the disclosed apparatus without departing from the
invention. Therefore, it is the intent of the appended claims
to cover all such variations and modifications as come within
the true spirit and scope of this invention.