rexresearch
rexresearch1
ESTEVES,
Catarina, et al.
Fog
Collector
PNIPAAm
polymer on cotton absorbs 3.4 liter water per kilogram of
fabric
http://www.scidev.net/global/desert-science/news/fog-catching-fabric-could-improve-water-collection-in-deserts-.html
Fog-catching
fabric could improve water collection in deserts
A novel and affordable fabric may improve the efficiency of
water collection from fog, helping to provide freshwater in
desert areas.
Researchers from the Eindhoven University of Technology (EUT),
in the Netherlands, and Hong Kong Polytechnic University, China,
turned a cotton fabric into a water-collecting material by
coating it with a polymer called PNIPAAm.
The fabric switches between absorbing moisture directly from the
air when it is foggy and cold, and releasing it as water at
warmer temperatures, according to a paper to be published on 21
February in Advanced Materials.
Every kilogramme of the sponge-like fabric can absorb around 3.4
litres of water from the air. When the ambient temperature
rises, the material's microstructure changes and the water is
released. These processes are repeatable, raising hopes the
fabric could act as an autonomous water-collecting device.
The team hopes the material could be used to harvest water in
dry coastal areas, such as the Namib Desert, in Namibia, where
rainfall is scarce but ocean air currents frequently bring
vapour-carrying fogs.
The temperature range within which the fabric collects, and then
releases, water is similar to the typical daytime highs and
night-time lows seen in deserts.
http://www.tue.nl/en/university/news-and-press/news/cotton-with-special-coating-collects-water-from-fogs-in-desert/
21 January 2013
Cotton
with special coating collects water from fogs in desert

Photo: TU Eindhoven/Bart van Overbeeke
Researchers TU/e together with researchers at the Hong Kong
Polytechnic University (PolyU), have developed a special
treatment for cotton fabric that allows the cotton to absorb
exceptional amounts of water from misty air: 340 % of its own
weight. What makes this 'coated cotton' so interesting is that
the cotton releases the collected water by itself, as it gets
warmer. This property makes of the coated cotton materials a
potential solution to provide water to the desert regions, for
example for agricultural purposes. The results of this research
will be published next month in the scientific journal Advanced
Materials.
The researchers applied a coating of PNIPAAm, a polymer, to the
cotton fabric. At lower temperatures, this cotton has a
sponge-like structure at microscopic level. Up to a temperature
of 34°C it is highly hydrophilic, in other words it absorbs
water strongly. Through this property the cotton can absorb 340
% of its own weight of water from misty air – compared with only
18% without the PNIPAAm coating.
Totally
pure water
In contrast, once the temperature raises the material becomes
hydrophobic or water-repellant, and above 34°C the structure of
the PNIPAAm-coated cotton is completely closed. When these high
temperatures are reached the cotton has released all the
absorbed water, which is totally pure. The research shows that
this cycle can be repeated many times.
Inspiration
from Nature
Beetles in desert areas can collect and drink water from fogs,
by capturing water droplets on their bodies, which roll into
their mouths. Similarly, some spiders capture humidity on their
silk network. This was the inspiration for this new
coated-cotton material, which collects and releases water from
misty environments simply as the temperature changes throughout
the day.
Low-cost
material
This property implies that the material may potentially be
suitable for providing water in deserts or mountain regions,
where the air is often misty at night. According to TU/e
researcher dr. Catarina Esteves a further advantage is that the
basic material – cotton fabric – is cheap and can be easily and
locally produced. The polymer coating increases the cost
slightly, but with the current conditions the amount required is
only about 12%. In addition, the polymer used is not
particularly costly.
Placed
directly on the soil
Fine-mesh ‘fog harvesting nets’ are already being used in some
mountains and dry coastal areas, but these use a different
principle: they collect water from misty air, by droplets that
gradually form on the nets and fall to the ground or a suitable
recipient. But this system depends on a strong air flow, wind.
The coated cotton developed the research team can also work
without wind. In addition, cotton fibers coated with this
polymer can be laid directly where the water is needed, for
example on cultivated soil. The researchers are also considering
completely different applications such as camping tents that
collect water at night, or sportswear that keeps perspiring
athletes dry.
Further
optimization
The research was led by professor John Xin at PolyU and dr.
Catarina Esteves at TU/e. They now intend to investigate further
how they can optimize the quality of the new material. For
example they hope to increase the amount of water absorbed by
the coated-cotton. Moreover they also expect to be able to
adjust the temperature at which the material changes from
water-collecting to the water-releasing state, towards lower
temperatures.
http://onlinelibrary.wiley.com/doi/10.1002/adma.201204278/abstract
9 JAN 2013
DOI: 10.1002/adma.201204278
Advanced Materials, Volume 25, Issue 8, pages 1150–1154,
February 25, 2013
Temperature-Triggered
Collection and Release of Water from Fogs by a Sponge-Like
Cotton FabricHelen Yang, Haijin Zhu, Marco M. R. M.
Hendrix, Niek J. H. G. M. Lousberg, Gijsbertus de
With, A. Catarina C. Esteves, and John H. Xin
A sponge-like cotton fabric autonomously collects and releases
water from fogs triggered by typical day-and-night temperature
variations. The reversible switching between
absorbing-superhydrophilic/releasing-superhydrophobic states
results from structural changes of a temperature-responsive
polymer grafted on the very rough fabric-surface. This material
and concept presents a breakthrough into simple and versatile
solutions for collection, uni-directional flow, and purification
of water captured from the atmosphere.
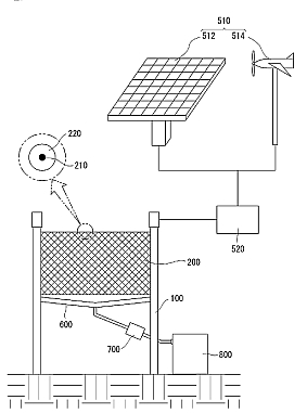
Inventor:CHE JU HEE
The present invention relates to a water obtaining apparatus
and, more specifically, to a water obtaining apparatus capable
of easily obtaining water and being used even in a place
difficult to receive electricity by collecting fog with a simple
configuration and absorbing, storing, and discharging water.
According to the present invention, the water obtaining
apparatus includes: a support means; a fog collecting means
connected to the support means to be supported and having a mesh
body woven from cotton fabrics coated with a heating wire and
poly-N- isopropyl acrylamide (PNIPAAm); a weight sensor
measuring the weight of the fog collecting means; a temperature
sensor measuring the temperature of the fog collecting means; a
power supply means supplying power to the heating wire; a water
collecting means arranged under the fog collecting means and
collecting water discharged and falling from the fog collecting
means; a filter means filtering the water collected in the water
collecting means; a storing means storing the water passing
through the filter means; and a control means changing the
temperature of the fog collecting means by controlling the
operation of the power supply means according to the weight of
the fog collecting means measured by the weight sensor. The fog
collecting means absorbs and stores the water of the fog passing
through the fog collecting means, and power is supplied to the
heating wire according to the control of the control means. If
the temperature of the fog collecting means excesses the
determined temperature, the fog collecting means discharges the
stored water.

