
rexresearch
rexresearch1
Gyorgy EGELY
Energy Amplifier
https://www.youtube.com/watch?v=VGibSwysBMo
Dr. George Egely's energy amplifier //
Martin Fleischmann Memorial Project
Testing of a device based on creation and deshevelment of
Shoulders EVOs by Dr. George Egely
https://www.youtube.com/watch?v=IrYt-AkhnU0
https://www.youtube.com/watch?app=desktop&v=SiZO3R1SAtI&t=1s
ICCF24 Presents: George Egely - Direct Electric
Energy Production by LENR
https://www.lenr-forum.com/forum/thread/6824-george-egely-s-magic-wand/
This thread is to contain discussions about George Egely's
newly announced energy amplification device that apparently uses
plasma discharges containing condensed plasmoids (aka EVOs?) to
produce multiple kilowatts of electricity directly, without
appreciable thermalization or optical conversion as an
intermediate step.
https://e-catworld.com/2022/08/03/george-egelys-dusty-plasma-system-at-iccf24/
George Egely’s “Dusty Plasma System” at ICCF24
(Gaia Energy)
Thanks to Axil Axil for posting the following comment regarding
the “dusty plasma” invention of George Egely which is being
developed by Gaia Energy Limited (http://gaiaenergynz.com/).
The company describes their process as the “catalytic
transmutation of hydrogen.”
George Egely made a fairly amazing announcement today, talking
about the dusty plasma system he has created that uses the
catalytic fusion of polaritons in hydrogen (I presume the
catalyst is in the dust) that is to be prototyped to produce a
30kW energy amplifier. I am not sure what the COP of his system
is claimed to be, but it did occur to me that Egely’s polariton
‘necklaces’ are EVO’s. A word he never used....
https://e-catworld.com/2022/08/17/george-egelys-condensed-plasmoid-evo-catalyzed-fusion-device-the-highlight-of-iccf-24/
George Egely’s Condensed Plasmoid (EVO) Catalyzed
Fusion Device: The Highlight of ICCF-24
by Bob Hicksdale Lakes
The field of cold fusion or LENR is far broader than most people
realize. It goes far beyond the standard electrolytic or gas
loading systems. No one knows this better than George Egely who
has decades worth of hands-on experience with virtually every
category of anomalous energy device. This year at ICCF-24 he
provided a short version (although info packed) of a longer
presentation that shared his latest and perhaps most significant
breakthrough so far: a plasma based “catalytic fusion” device
utilizing “condensed plasmoids” which he describes as the
quantum mechanical catalysts of his system — allowing for
nuclear fusion reactions.
For those who may not be aware, “condensed plasmoid” is one of
many terms researchers have used to describe self-organized
structures of electrons and positive ions that have many unique
properties. They can be created in many far “out of equilibrium”
or “non-linear” conditions, including a spark discharge from a
sharp tip where the electric field is amplified. Most
importantly, they seem to exist as coherent structures, meaning
their individual constituents behave more like a singular
macro-particle. This is thought to give them properties more
similar to an exotic state of matter like a superconducting Bose
Einstein Condensate. Without going into an extended history of
these structures, which Egely explains have been discovered and
forgotten (going all the way back to Nikola Tesla’s work) at
least a dozen times, a few important facts should be noted
before this essay continues.
– Kenneth Radford Shoulders conducted extensive experiments over
a period of several years investigating these structures, which
he called EVOs (Exotic Vacuum Objects).
– Although they can be created in an abrupt spark discharge,
different varieties of them – of various sizes, geometric
complexities, and elemental compositions – can be produced in
various environments and scientific apparatuses. A short list
would include liquid sono-cavitation devices (when the bubbles
collapse); cases of fracto-emission (when a brittle structure
fractures inducing charge separation); coherent resonant phonon
oscillations in metal (Ni, Pd, Cu, etc) vacancies, cracks, or
defects; plasma discharges in low pressure gases (creating
coherent structures around electrodes or free floating between
them); RF or microwave emission into quartz resonance cavities
(providing the benefit of utilizing higher pressures); and in
nature as the phenomenon referred to as ball lightning.
– They are meta-stable structures that exist due to the constant
intake of energy and matter from their environment. At both the
small scale and large scale they feed off not only
electromagnetic radiation and thermal energy, but also
electrons. This is one of their primary inputs and a means of
controlling their development. Micron scale and several
centimeter scale structures can be induced into an “excited
state” (or “white state” as Ken Shoulders described it). in
which they emit more energy than is provided by the input source
and are highly interactive with matter — inducing nuclear
reactions, transmutations, isotopic shifts, and even more exotic
effects that are beyond the scope of this essay.
George Egely’s system has many similarities with those of others
he has investigated in the past, including Nikola Tesla, Thomas
Henry Moray, Paulo and Alexandria Correa, and Alexander
Chernetsky. In addition, he has utilized knowledge from a
plethora of older scientific papers and patents in which similar
anomalies, including transmutations, were observed. In simplest
terms, his device consists of tubular stainless steel
(unspecified alloy) electrodes that are fed high voltage
electricity that induces electrical discharges in the small
(millimeters) gap between them. In several short videos during
his ICCF24 presentation, he shows a multitude of tiny blue and
purple discharges (the color changes between video segments) in
a mixed hydrogen and deuterium atmosphere of unspecified
pressure. Instead of precisely tuning and controlling each
discharge, dozens can be seen during each frame of his videos.
These discharges containing EVOs seem to emerge from the
roughened end of a tubular cathode, sometimes create stationary
ball shaped plasma formations, and other times leap off
(creating plasma channels) to strike the anode. He describes
each of these discharges as being catalytic fusion events,
triggered by a condensed plasmoid (EVO). Energy released from
each fusion event is collected by the anode and goes to the
output portion of his device to be measured and/or power various
loads.
In the ICCF24 presentation, the entire circuit diagram is
visible on the white board behind him, and there are close up
examinations of two different versions of his device: a handheld
unit powering a neon bulb rated at four watts, and a desktop
experimental test rig. He describes the circuit diagram as
having three main parts: the input where the three AA batteries
feed a relaxation oscillator that charges a capacitor (it’s a
bit more complicated than this with a high voltage transformer,
inductive choke, and other components), the hydrogen-deuterium
reactor itself in the middle, and the output which can be fed
into resistors, a second plasma tube, or other loads. One method
by which they measure the output is to allow the directly
generated electricity to flow through a small resistor which
rests in an oil filled glass calorimeter whose temperature can
be monitored. Since they have calibrated the calorimeter with a
direct current power supply, they claim their output
measurements are precise.
Without providing their exact calculations, Egely states that
the output can be 200% plus or minus 50% of the input when the
load is an ohmic resistance. However, he claims this figure can
go up to 500% when the load has a matched impedance and even
1000% percent when the load consists of both a matched impedance
and a neon tube. How exactly he calculates these outputs is
unclear, and he doesn’t provide absolute values from
experiments. It’s refreshing, however, that he does show the
input and output waveforms on an oscilloscope screen while
explaining the different lines and the values involved.
Seemingly absolutely confident that his system is producing
significant net excess energy, he provides a few conjectures
about power to weight ratios and projected system costs. They
are world-changing if accurate, even allowing for the
possibility of the technology powering electric aircraft.
He drops in various other details throughout the presentation.
At least twice he mentions how scaled up systems would be
capable of producing high levels of direct electricity without
significant heat production. Each individual discharge is also
stated to be in the mega-watt range over an extremely brief time
period of nanoseconds. He also explains how one unwanted side
effect that has been observed (he showed pictures) is the
production of the transmutation product carbon on the surface of
the stainless-steel cathode when the current is allowed to go
beyond a certain threshold value. These discharges also
originate from certain locations on the cathode while discharges
never take place at other sites. He describes the Leopard Spot
like surface patterns on the cathode as well as showing the
carbon deposits. Perhaps one of his most interesting revelations
is that helium is produced in his system along with possibly
neon.
After watching his presentation twice, it’s clear that it’s
short on experimental test data and hard evidence of his claims.
Nowhere near enough evidence is given to prove any of them. Yet
two truths should make everyone pay attention and seek more
information about his new system. First, George Egely is a
well-respected researcher who has been many places, built/tested
a wide variety of systems, collaborated with many parties over
the years, and has an absolutely brilliant mind. Anyone who
doubts this should read his articles published in Infinite
Energy Magazine! He wouldn’t be making claims like those in his
presentation unless he was certain his system worked. Secondly,
his apparatus and the results he has obtained matches well with
what we know about the long history of systems that generated
self-organized structures in out of equilibrium conditions. He
hasn’t come up with this device completely on his own: he is
standing on the shoulders of giants. The anomalies he’s
producing have been seen many times before. They haven’t
appeared out of nowhere. Instead, they’ve been seen in the past
and are currently being witnessed in modern systems: both on the
smallest of scales and in larger ball lightning generators.
Despite how important — if validated — his device could be even
in its current state of development, I suspect it’s far from
optimized. Here are a few of my lines of thinking on this issue:
1) Plain hydrogen or even a mixture of hydrogen and deuterium is
not optimal for the formation of condensed plasmoids (Exotic
Vacuum Objects). It’s well known that both in Kenneth Shoulder’s
experiments and modern systems that produce larger scale
self-organized plasmas that the addition of other gases —
especially “noble” and heavy ones such as argon, krypton, xenon,
etc — to the gaseous environment is extremely beneficial.
Because of the color of his plasma, I suspect he may already be
testing various gas combinations: perhaps with certain
percentages of N2 (nitrogen which SAFIRE utilizes) in addition
to noble gases.
2) Certain additive gases other than the ones mentioned above
can either extract or sequester electrons from the plasma
(hindering EVO development) or make them more available
(enhancing development).
[Bob Greenyer of the Martin Fleischman Memorial Project has
discussed this and many other related issues on his YouTube
channel. He deserves a great deal of credit for helping
enlighten the LENR community to the EVO phenomenon over the past
several years.]
3) Pre-ionizing the gaseous environment (which has been done by
many inventors and experimenters in the past) can dramatically
aid EVO formation. This can be accomplished with the application
of radio or microwaves to the environment, ultra-violent light,
the addition of ionizing materials, or other methods.
Ezoic
4) Instead of haphazardly producing dozens of simultaneous
plasma discharges that cannot each be fine tuned and optimized,
he could generate a single, much larger EVO at a time, it’s
growth and development more precisely controlled. Perhaps, for
example, he could generate the self-organized plasma in a hollow
cathode combined with a method of pre-ionization, allow it to
grow, and then slam it against the anode.
5) Instead of producing transient EVOs that only exist for
micro-seconds or less, he could produce a setup with a free
floating, continually existing self organized plasma. This way
less damage (unwanted transmutations that contaminate emitter
sites) would be induced while energy would still be generated in
a multitude of forms.
6) Many cold fusion-based systems emit what has been called,
“strange radiation”, which is thought to be self organized
coherent plasma structures in a vary unexcited or “dark” state
which is only minimally interactive with matter. However, these
structures, with a more neutral charge, seem to induce reactions
with certain elements having a large “thermal neutron cross
section.” Three examples are lithium, boron, and gadolinium,
among several others. Including element(s) with such cross
sections in the stainless-steel alloy that composes the
electrodes could potentially increase the output.
Ezoic
7) Although heat production is not the goal of his device,
higher temperatures can aid ionization and help drive the
formation of self-organized structures. The SAFIRE Project, for
example, in one of their older videos, have shown data
indicating that in addition to pressure and electrical current,
temperature is a significant factor involved in their system.
George Egely’s latest system is yet another marvelous example of
how plasma based cold fusion reactors have a myraid of benefits,
one being the direct production of significant electrical
output. With a rare combination of vast experience and knowledge
in multiple subject areas, he has moved past classical
electrolytic or gas loading LENR systems to build a plasma based
fusion device. In the process, he is showing the world a path
forward that bypasses the endless material science-based
challenges of classical systems. But, most importantly, he is
showing off the potential of nature’s most elegant
self-organized machine, the Condensed Plasmoid or Exotic Vacuum
Object.
Beyond the initiation of novel nuclear reactions, they hold the
key to a future beyond our imagination, where every aspect of
our reality is engineerable.
https://remoteview.substack.com/p/energy-amplifier?publication_id=184573&post_id=170948653&isFreemail=true&r=1r6t62&triedRedirect=true&utm_source=substack&utm_medium=email
"Energy Amplifier" -- Dr. George Egely's 'Exotic Vacuum
Object' based device // Bob Greenyer // Aug 14
I had an opportunity to see one of Dr. George
Egely's 'Exotic Vacuum Object' based devices under test by
former MFMP volunteer Bob Higgins. Moments after switching on,
the output thermal energy, shown in a calibrated
resistor/thermometer, exceeded that on the equivalent input
side. Whilst crude it is indicative of something going on.

Optical
Overview
The power regulator (blue board) in the bottom left
takes input voltage (in this case 4V) and regulates it to the
necessary 1.5V to power the HV generator board (under the
perspex apparatus support. On could presumably run it of any
stable 1.5V supply - like a Lithium battery for instance.

Thermal
Imaging
NOTE: This thermal image allocates only one
emissivity for the whole frame so temperatures should not be
taken as exact. The power regulator is clearly very wasteful
thought as one can see. The actual reactor zone - indicated at
27ºC, is actually warmer on the anode side, indicating the
charge carriers are negative.
Detail
Gallery

https://egely.hu/wp-content/uploads/2018/04/IE102NanoDusFusion.pdf
NANO DUST FUSION
George Egely
[ PDF ]
https://www.lenr-canr.org/acrobat/NagelDJdirectelec.pdf
Direct Electrical Production from LENR
David J. Nagel
[ PDF ]
Abstract — This paper reviews various
approaches to the direct production of electrical power by using
excitations from Low Energy Nuclear Reactions (LENR). Some of
the methods only provide low voltages, currents and powers.
Efforts are underway to understand and improve the outputs of
those techniques. One recent report by Egely describes a device
that magnifies electrical energy by as much as a factor of 10.
That technology requires both independent testing and
commercialization.
https://catalyticfusion.com/Infinite%20Energy%20Magazin/8%20r%C3%A9szes%20cikksorozat/Egely%20-%20Faces%20of%20LENR%20Part1%20(IE151-152).pdf
F A C E S O F L E N R
Part 1: From Alchemy to Biological Transmutations
George Egely
[ PDF ]
https://egely.hu/wp-content/uploads/2018/04/IE107FusionByPseudoParticlesPart1.pdf
18 INFINITE ENERGY • ISSUE 107 • JANUARY/FEBRUARY
2013
The Past
Martin Fleischmann and fellow researchers P.J. Hendra and
A.J. McQuillan discovered “surface enhanced Raman scattering” in
1974. It is a strange and powerful amplification, a resonant
process due to the collective oscillations of surface electrons.
They behave like particles in a self-organized, “emergent”
manner.
This phenomenon is somewhat similar to turbulence, when a
collection of particles acquire new, unexpected properties which
cannot be derived from their single-particle properties. Thus
came the word “emergence.”
Fleischmann realized the value of the collective oscillation,
changing his view toward natural phenomena. In fact, he stumbled
onto one member of a populous family of quasi-particles. His
perception about a collective surface oscillation guided his
research towards LENR phenomena in the area of electrolysis. He
was not aware of its predecessors (the subject of this paper),
who found and lost similar processes. Fleischmann made history
by calling attention to a group of different nuclear phenomena.
Tesla – Carbon Nanodust There is a persistent urban legend about
Nikola Tesla, the prolific Serbian inventor. According to some
contemporaries, he developed an electric car in the 1930s. He
converted a Pierce Arrow car removing its tailpipe. He claimed
that his greatest achievement was not alternating current or the
radio, but a high voltage tube which could produce energy and
transmute materials. This story has usually been dismissed as
nonsense. Now in the light of emerging LENR experience, this
could have been true after all. He claimed “nature has stored up
in the universe infinite energy” (Columbia College Lecture, New
York, May 20, 1891). Tesla demonstrated “carbon button lamps,”
spherical gas discharge devices in public lectures (London 1892,
Philadelphia 1893, U.S. Patent 4,546,22/1891). These plasma
devices were driven by high voltage polarization currents, which
emitted suspiciously large amounts of light (U.S. Patent
593,138/1897, shown in Figure 1).
Carborundum (carbosilicate dust and/or carbon nanotubes) in a
resonant plasma is a possible source of the LENR phenomena
(discussed in Part 2). Some poor quality photographs of Tesla’s
spherical tubes were published in his legal records. Today the
single-wire polarization current technology, which is required
to resonate the plasma, has practically been forgotten, revived
only by some amateur researchers. But our understanding of the
principles of dusty plasma has been steadily growing in the last
decade, and institutional science is finally catching up. Tesla
became an outcast in science by the 1930s.
Faces of LENR ( 5B ) -- Design and Operation of LENR Reactors
G. Egely
[ PDF ]
Infinite Energy 107
Physics Fusion by Pseudo-Particles, Part 1
Past, Present and Future // George Egely*
[ PDF ]
Abstract
There are urban legends and documented facts about
mysterious fuel-free energy production devices witnessed during
the last cen-
tury. In Part 1 of this three-part series, a dozen of them are
described along with their salient technical features, and about
their known,
and suspected, features. It seems that more low-energy nuclear
devices in various forms have been demonstrated than previously
thought.
Thus the missing pieces in the puzzle are completed. Electrical
energy-producing LENR devices were demonstrated by Tesla and
Moray
as early as in the 1920s. Papp demonstrated his noble gas plasma
device in 1968. New technical solutions have emerged since then
based
on phonons, polaritons and charged nanodust particles, as
pseudo-particles.
Part 2, forthcoming in Issue 108, will show the importance of
charge screening by real and quasi-particle emergent
properties...
https://catalyticfusion.com/Infinite%20Energy%20Magazin/8%20r%C3%A9szes%20cikksorozat/Egely%20-%20Faces%20of%20LENR%20Part5B%20(IE157).pdf
JULY/AUGUST 2021 • ISSUE 157 • INFINITE ENERGY 23
Extraction of Electrical, Mechanical and Chemical Energy
from LENR Reactions
Heat generation is a relatively simple LENR process, and so is
chemical (oxygas) energy generation. Other processes, like
electrical energy generation, require additional steps to
extract the generated excess energy.
Let’s start with oxygas. The most widely known solution is that
of Stanley Meyer’s resonant, underwater coaxial oxy-gas cells
and Stephen Horvath’s similar solution. This latter invention
has two useful features. An external solenoid and a star-shaped
cathode are needed to enhance the local electric field for spark
generation. There is no hint of how the eddy currents were
eliminated on the electrodes. Otherwise it makes no sense. (See
U.S. Patent 3,980,053; 1976.) See Figures 1a and 1b. The device
was driven with sharp electric pulses. No yield data are
available.
The fact that there is excess energy when sparking under water
was already known by several arcing inventors, including Neal
Graneau and Peter Graneau, who wanted to extract the excess
momentum of water droplets after an underwater sparking, or
arcing. They assumed that excess energy is hidden in the
chemical bonds of water molecules previously irradiated by the
Sun.1
Underwater sparking is theoretically a difficult, frustrating
area due to its nonlinearity. There has been no attempt at
theoretical description so far. No wonder. It is a transient
four-phase effect: liquid, vapor, superheated steam and
non-equilibrium plasma. Even if we disregard the theoretical
problems of describing the formation of condensed plasmoids or
dusty plasma, the far from equilibrium treatment of four phases
and acoustic shock waves, this system is so complicated that
computation-based science can’t handle it.
Science as a method may deal with each phase individually, but
it is unable to couple them due to the lack of constitutive
relations. That is, to determine how energy and momentum are
exchanged between boiling water droplets and saturated vapor.
(This unsolved puzzle brought the safety calculations to a
standstill for pressurized water nuclear reactors. It was not
the lack of funding or effort, but the lack of test methods to
measure the most important processes for dynamic cases.)
The experimental side of underwater arc and sparking is also
hopelessly complicated due to the possible number of free
parameters, like overpotential, pulse rise time and current
evolution, etc. Sparking and arcing in saturated vapor (e.g.,
H2O) was barely studied, as it is easy to observe only for
steady state. The transient regime has been an unexplored area
so far. We are hopelessly lost, if we add the energy generation
of LENR to this process, too.
Only cavitation was experimentally investigated to a small
degree, endorsed by Julian Schwinger. In terms of Casimir
forces, they demonstrate the extraction of vacuum fluctuation
energy. The excess energy, or unusual chemical reactions
(sonochemistry), were already noted in the 1930s, but ignored.
Schwinger assumed the excess energy comes from the vacuum
energy, which may be correct to a degree. Meyer or Horvath’s
coaxial, resonant water splitter (using an electric circuit
coupled to acoustic resonance) is a system where arcing and
cavitation bubbles collapse during the same process. Its
geometry is similar to the Pons-Fleischmann (P-F) cell, and its
coaxial symmetry is not farfetched, though the physics is quite
different. The formation and catalytic action of condensed
plasmoids are the dominant processes for the sparking, while for
the P-F type cells the lattice vibration occurs. In the case of
underwater sparking inventions, the surface...
https://www.slideshare.net/exopolitika/egely-gyrgy-nano-dust-fusion-40pages
https://auth.scribd.com/u/signup?state=hKFo2SB3R3E3ejJnTFlwV3l3LTlYMU05MnNkV2VxQlk3ZThQQ6Fur3VuaXZlcnNhbC1sb2dpbqN0aWTZIENHeGllQS1pU0hwVHQtdFlYWFFPZ3R2dmp0cWFHVDd4o2NpZNkgZ3ljN3lyZnpzdkpmaXd5bHNlYXU4Y3g5dVZhb2FOU1A&ui_locales=en
Nano Dust Fusion // George Egely
[ PDF ]
After about 60 years of multibillion dollar efforts, the
“official” versions of controlled nuclear fusion could not yield
any results, despite all the efforts. Cold fusion did reach the
overunity stage, though usually not in a reliable manner, except
for the efforts of A. Rossi and Focardi, or Zhang and Arata. The
Italian device seems to be ready for mass production. It looks
like the original Pons?Fleischmann solution stumbled into the
periphery of the right technical approach, like flapping wing
type airplanes at the dawn of aviation. The “gold mine” of
controlled nuclear fusion parameters are to be sought at even
higher temperatures, and by a different technical setup. The
main arena of this effort is transient, dusty plasma of
nano?size carbon particles supported by ion?acoustic resonances
with hundreds of resonance peaks. The result is a reliable
process having multiple nuclear transmutations.
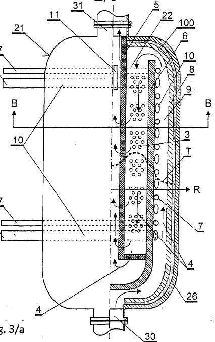
US2025056706
-- APPARATUS AND METHODS FOR GENERATING CONDENSED
PLASMOIDS
Inventor: EGELY GYORGY?[HU]
// Applicant: GAIA SECURITIES LTD
[ PDF ]
pparatus (1) for generating condensed plasmoids. The apparatus
(1) includes a reactor (4) with a chamber (15) for containing a
reactant gas. A cathode (17) and an anode (18) extend into the
chamber (15) with an interelectrode gap formed between the
electrodes (17,18). The electrodes (17, 18) are connectable to
an electrical circuit (13) having a power supply (12) for
applying an electric potential difference between the electrodes
(17, 18) to form a plasma of the reactant gas in the
interelectrode gap (19). An interelectrode discharge (21)
traverses the interelectrode gap (19). The cathode (17) has an
electron discharge material (22) from which clusters (63) of
electrons emit, thereby generating condensed plasmoids (62) in
the interelectrode discharge (21). The electron discharge
material (22) includes a semiconductor material.
US2014126679
-- RENEWABLE ENERGY PRODUCTION PROCESS WITH A DEVICE FEATURING
RESONANT NANO-DUST PLASMA, A CAVITY RESONATOR AND AN ACOUSTIC
RESONATOR
Inventor: EGELY GYORGY
[ PDF ]
The invention is a renewable energy production process with
resonant nano-dust plasma, with the application of a cavity
resonator and an acoustic resonator. During the process the
acoustic resonator is placed inside the cavity resonator, and
create a series of acoustic resonances with a complex plasma
made of sub-micron sized carbon dust, hydrogen isotopes and
other gases between 10 Pa and 500 kPa at about 2.000 C.,
thus creating oscillations and thus plasmon polaritons on the
surface of carbon dust particles oscillating between 10 kHz-5
GHz and in the terahertz range, which in turn produces heat or
electric energy, or creates a series of nuclear transmutations.
The invention is an embodiment producing renewable heat, formed
by a cavity resonator (30) excited by electromagnetic fields,
and an acoustic resonator (10). In the acoustic resonator (10)
operated with a number of acoustic resonances, there are
nano-sized dust particles (1). The electromagnetic cavity
resonator (30) is cylindrical, spherical or rectangular with
mirror-like internal walls (31), inside of which the cylindrical
or spherical acoustic resonator (10) suitably made of heat
resistant and electrically insulating material is mounted.
WO2012164323
-- Method for Production of Renewable Heat Energy
[ PDF ]
Abstract -- The subject of the invention is a process for
heat production with nuclear interactions. During the process
the gas is pumped through a stack of nanoparticles in a device
featuring an internal and an external chamber via an inlet and
an outlet opening, and the process is initiated by heating the
device. Further, the subject of the invention is a device
accomplishing said process. The device has an interconnected
internal chamber, and surrounding said chamber there is an
external chamber having at least one inlet and one exit opening.
There are nanoparticles in the internal chamber. There is an
impermeable wall between the two said chambers. The internal
chamber is separated from the exit opening by a heat resistant,
porous ceramic wall. There is a heating element on the internal
side wall.
US2014098920
-- METHOD FOR THE PRODUCTION OF RENEWABLE HEAT ENERGY
[ PDF ]
Abstract -- The subject of the invention is a process for
heat production with nuclear interactions. During the process
the gas is pumped through a stack of nanoparticles in a device
featuring an internal and an external chamber via an inlet and
an outlet opening, and the process is initiated by heating the
device. Further, the subject of the invention is a device
accomplishing said process. The device has an interconnected
internal chamber, and surrounding said chamber there is an
external chamber having at least one inlet and one exit opening.
There are nanoparticles in the internal chamber. There is an
impermeable wall between the two said chambers. The internal
chamber is separated from the exit opening by a heat resistant,
porous ceramic wall. There is a heating element on the internal
side wall.
WO9108703 -- APPARATUS
AND METHOD FOR MEASURING EFFECTS REFERENCING TO HUMAN GENERAL
CONDITION AND FORM:
[ PDF ]
An apparatus for demonstrating and measuring physical effects
being in connection with the general state of health and fitness
of human beings, comprising a rotor (3) arranged rotatably on a
frame (11), of the mass of 0.1 and 2.0 g, more accurately 0.3 to
0.8 g, with at least one marking (19) on the edge being suitable
for reading number of turns, wherein magnetic permeability is
less than 50, further on optionally the rotor (3) and the frame
(11) are connected to each other by a spring means.
HU180354 (B) - SAFETY DEVICE FOR FLUID COOLED
REACTORS
Inventor(s):
EGELY GYOERGY +
[ PDF ]
HU73224 -- METHOD AND APPARATUS
FOR PRODUCING MAGNETIC CURRENT
[ N/A ]
HUT73699
-- METHOD AND DEVICE FOR MAGNETIC TREATING LIQUIDS
[ N/A ]
Experimental Investigation of Biologically Induced
Magnetic Anomalies
The Story of the Egely Wheel (Vitality Meter)
by George Egely, Ph.D.
[ PDF ]
This
device should have been developed at least one hundred years
ago, even if not in this electronic form. Everything was
available at that time to do so and to know this phenomenon
well. Naturally, it did not happen and many other things went
about the same course. For example, the liquid crystals have
been forgotten for over eighty years, as was penicillin for
ten years.
It was by chance that I started to work in
this field of strange phenomena. I graduated as a mechanical
engineer specialising in heat engines, at the Technical
University of Budapest. I had studied energy transfer for
years. Then I started to do research on energy transfer
problems and hipothetical accidents of nuclear power plants in
a research laboratory of the Hungarian Academy of Sciences.
There are many complex energy and momentum transfer processes
to be studied here, so researchers must know the
characteristics of the movements and transfer of all kinds of
energy. I later received a Ph.D. degree in this subject. With
a proper research carrier in front of me, I won a scholarship
to the International Atomic Energy Agency at the beginning of
the 1980's. I then worked in the Brookhaven National
Laboratory, in the United States, for one and a half years.
It happened there, during an evening chat,
that the subject of paranormal phenomena came up. Like every
scientists I only believed in facts that my own eyes could see
or that were written in scientific records. I did not believe
in the so-called paranormal phenomena. I said that it was just
a hallucination. I was surprised when my wife, who was a newly
graduated mathematician and was just writing her Ph. D.
thesis, told me that she saw a table tipping during her years
at the university. Her fellow students had tried it several
times at a student's hostel. She claimed that nobody was
cheating, the phenomenon seemed to be real. So I had the
choice not to believe my wife or not to accept the laws of
natural science. I was not sure which one to choose. I was a
bit confused because both choices would have painful and
unpleasant consequences in the long run. Still I could not
accept the existence of heretic things like those. My
colleague H. Bruce Stewart, an American mathematician said
something really important once: "A real scientist should
never reject something till he is one hundred per cent sure
that the subject in question is true or false. He personally
has to take the trouble of objectively controlling the facts,
doing scientific experiments, collecting data."
As most scientists I also refused to accept
the existence of paranormal phenomena, although I considered
myself to be open-minded. Probably due to the fact that at the
university you were pressurized into not believing in things
like these. Being confused and wanting to find out the truth I
started to do some research by collecting experimental data,
and descriptions of observations available in this subject. I
thought I would find numerous contradictions among them, so I
could reject the existence of these phenomena without bad
feelings. To my surprise I found out that experimental data
and observations of the different phenomena from different
times and places were the same or similar to each other,
researchers and collectors of experiences met the same
phenomena in similar circumstances and came to the same
conclusions, although they did not know about each other's
work. This captured my interest, I began to think that there
must be some truth behind this. The data proved that the
phenomenon could be true. But of course, if there was a
phenomenon like this then there is now and there will be in
the future, too. So, I have worked out a simple model on the
basis of the collected observations to make things more
understandable. According to this model this energy is very
similar to electricity, but of course, it is not at all the
same. There are many fundamental differences between
electricity and this energy. All materials conduct this energy
while from the viewpoint of electricity some materials are
good conductors and others are insulators. That's why a glass
or a plastic bell functions as a Faraday cage, i.e. if we
place the objects under a closed bell of any material, it is
extremely difficult to make them move, because all of our
energy flows on the surface of the bell, it can not get
inside.
From this simple model, I constructed an
experiment that no one has ever done before. I discovered that
a rotating movement in liquid would cut down friction, thus
smaller power would be needed to move something. Naturally
financial concerns also played a role in designing this
experiment, it had to be inexpensive enough to carry out with
many people. The most simple experiment to do was with a cup
of water and a shallow dish. According to my simplified
physical model, I thought that if I filled the dish with water
it would start to rotate as we put one of our hands around it.
I placed small objects, or thin aluminium foils on the surface
of the water that would show its movement. It worked, the
water rotated. But being uncertain if it was due to the heat
radiating from my hand, I put on gloves, first a thin one then
thicker ones, which would considerably reduce any heat
transmission. Being an expert in the field of heat transfer I
knew this could be caused by heat transmission, but this way
there was almost no temperature difference between the surface
of the glove and the air. The experiment was perfect, the
water rotated without the possibility of any heat
transmission.
In the mid-80's I started an intensive
research and tried out this energy flow measurement on dozens
of friends with more or less success. Most of them were able
to rotate the water. The speed of the rotation depended on how
tired or fit they were and how much they could or could not
concentrate. The temperature and size of their hand did not
influence the speed considerably. Then I made hundreds of
control experiments with hand-shaped metal tanks. I could fill
them with warm water and see if these warm tanks placed around
the dish could make the fluid move. With these hand-shaped
tanks, I could only experience an angular speed at most 10% of
the good results with men. Even if the temperature of the
water inside the tank reached 113 F, the body temperature of
113 F is not possible. The temperature on the surface of the
hand is very seldom more than 95 F but usually it is around 90
F. So, the effect of heat transfer could be excluded.
Later on, I designed an even more exact
experiment. I placed very thin platinum wires above each other
in a small glass dish then led short electric impulses through
them. In this case, I used a special liquid instead of pure
water, a coulourless compound that turns brown when
electricity flows through it. Due to the electric impulses led
through the platinum wires, the water turned brown around the
wires. When the liquid started to rotate the coloured parts of
the water moved away from the wires showing us the exact
movement inside the liquid. The evaluation of the results
showed that this phenomenon could not have been caused by wind
or heat. I also discovered something else which science does
not have an answer for. The resistance of the liquid suddendly
changed when the rotation took place. This was always a
decrease in the resistance which could not be explained with
known effects. Here is gap in modern day science.
These few measurements were not enough for
me to be all sure, I needed more. I made glass boxes and put
the dish with the liquid inside so that wind could not effect
my findings. I made experiments in several highschools and
also shot films on it with about 500 students. It could be
seen that the liquid rotated very fast with one third of the
students, another third of them could rotate it with a speed
of only 2 to 3 times of the speed that could be the error
limit of the measurement. And with the last third it did not
rotate at all, or just inside the error limit.
Experiments with more people showed that
the ones who could once rotate the water exceptionally well,
after a weather front or when worries and problems affected
them, could not move it at all. When their problems were
solved or the front passed, they could rotate the water again.
Good weather conditions, sunshine, and good moods made the
rotation quicker. The device showed, in a way, how they felt
and how their general state of health was. It was an
interesting experience, after the rain and clouds passed by
and the sun began to shine, everybody's moods changed for the
better and it showed immediately in the results. Although, in
such a short time the temperature and humidity of the air, or
the temperature of the hands, could not change at a measurable
extent. This proved clearly that there is something in the
human mind that basically effects the results.
After all these experiments the real nature
and cause of the rotation still remained a puzzle, I just
could not decide what kind of an energy transfer might be the
reason for it. I made calculations, but for the liquid to
reach an angular speed of one revolution per minute, which is
a good result, it would have to be very salty. The magnetic
field would have to be a hundred times stronger than that of
the Earth, or the person must have submerged his/her hand in
the water, and a direct current of lethal power would have had
to flow between his/her fingers. But, none of these four
conditions were met during experiments. So, to find the answer
to this problem some hypothesis had to be drawn about things
unknown so far.
I have shown this phenomenon to a number of
fellow physicist. All of them had some ideas, but the control
experiments proved that none of the known interactions can
explain the fact of this rotation. So, the
question remained unanswered, while the phenomenon continued
to exist. To find the answer I needed to change course and do
the experiments officially with a larger backing. I did not
have the financial support or the equipment to continue to try
and solve the unknown. I turned to my director who sent me to
an old friend of his, an academician who had been advanced to
biophysicist from a nuclear physicist at about that time. I
trusted that the documented results of the 500 experiments on
films, videos and fotos, the numerous control experiments, and
the experimental disproving of the arguments of opponents
would be enough to get the permission to continue the
experiments. But, he was not interested in my results, after
two minutes he ordered me to stop doing this work at once and
to do something else that earns good money and not to show my
work and findings to anyone, which had already been published
as a research report. (G. Egely: Experimental Investigation of
Biologically Induced Energy Transport Anomalies, KFKI report,
1986-94/K) His opinion was in short: "I don't believe this
even if I see it with my own eyes, this phenomenon does not
exist because it can not, and it cannot exist because it does
not."
With suppressing the research report, thus
suppressing the existence of the phenomenon, of course, it was
extremely difficult to continue to work, but I did not give up
because my scientific curiosity did not allow me to do so.
This phenomenon cannot be researched, officially, even today.
I also got all the punishment a scientist could get because of
my "oppositional" behaviour.
As basic research is very expensive, I
tried to find another way that I could utilize it in practice.
I assumed that there would be a businessman interested in
sponsoring this kind of research. I ceased doing experiments
with liquids as these were difficult and troublesome to carry
out and needed to be highly precise. I went into the study of
the rotation of solid objects, which is more simple and easier
to do. My friends and good acquaintances helped me because I
just could not have tried the hundreds of different wheels and
bearings all by myself. After many years of experimenting
starting from the first awkward primitive model finally I made
the device that you are holding in your hands today.
All new bearings, shapes for the wheel, and
materials had to be tested with at least a hundred people to
see if it was better than the other one, and to find out what
changes needed to be made. In addition, I was successful in
making a much more sensitive device, where the wheel does not
touch anything, but simply flotates in the air. But, this
version of the device is quite expensive, so it will be used
as a medical equipment. (In short distances, though, right
next to you, your own portable device has the same
sensitivity.)
I handed in my patent application in 1989.
It is still present in a few offices causing a headache for
officemen. One of them refused to grant a patent in the first
run saying that this device has been already known as a
compass. He was not especially disturbed by the fact that the
wheel was made of plastic and it did not contain any
ferromagnetic material.
Other researchers and inventors have also
met this phenomenon but they thought it was thermal movement
or other known phenomena were behind it. Not an original one
in itself, undiscovered and unexplained so far. Because this
effect is very weak, and extremely difficult to separate from
other environmental effects, people who do not know the laws
of energy and heat transfer might think it to be a simple heat
flow phenomenon. But for me, being a researcher specialized in
the field of energy transfer, seemingly slight differences of
theoretical importance have shown undoubtedly that this was
something new for science. Only a few experts are interested
in biological anomalies, so it's not by chance that nobody
studied this phenomenon. Although, about one hundred year ago
already everything was there to start the research in this
field, but this did not happen mainly because of prejudices.
I've tried to understand the physics of the
phenomenon as deeply as I could. From the beginning I was
curious about what would happen if the wheel rotated around a
horizontal shaft instead of a vertical one. After three years
of trial and error, I succeded in solving this problem with
magnetic floating. This device had a horizontal shaft with
minor friction, still nobody could rotate it, although it had
the same fine magnetic bearing as the vertical one.
This device represents modern high
technology. Declaring this, I do not only mean the miniature
computer built in the device, as this phenomenon still occurs
without electronics. But, high technology is also present in
the needle of the bearing. Because there is such great
pressure at the top of the steel needle, the needle top melts
and the wheel rotates on this melted steel. In spite of the
simplicity at first glance, many technical problems had to be
solved and we succeded in solving them. All I wanted was to
prove to as many people as possible how important the energy
of life, or our vitality is. This is mans greatest treasure,
the pawn of our health. So take care of it, save it, and
appreciate it. The power can be with us.
Experiences
From thousands of tests a lot of experience
was gained. It is important that this ability improves. With
excercises, meditational techniques and by changing our
lifestyles, within a short time it is possible to increase it
considerably. It's a pity that children in schools do not get
to know these relaxation and meditaion methods. Today's school
teaches children to develop their physical abilities, lexical
knowledge, or combinational skills, but they hear nothing
about other valuable functions of their minds. Though these
are as important in life as the above-mentioned abilities.
It's true, though, that even among adults there are only a few
who know about these possibilities. Luck or experience teaches
them by chance.
Many experiments carried out in large
groups have shown that personality signs are important.
Extrovert, positive thinking, active, leading-type students
had much higher vitality levels, and could maintain this level
for a longer period than their quiet, restrained, silent,
negative thinking, shy classmates. Experience showed the
interesting fact that good-looking teenage girls were
influenced by their beauty. Probably, they got more
encouragement, or positive signs than their less lucky mates,
so they had higher scores.
In a strange way, vitality did not strongly
depend on grades. Although students with good grades had
vitality values generally above the average and this tended to
be even higher if they were playing sports, the most
outstanding results were achieved not by the good pupils.
As I said we have carried out tests on
thousands of people, although we have made written records in
only about 1100 cases. Our unanimous experience was that
seriously ill people could barely rotate the wheel (even if
they had high fever - showing that it's not the heat radiating
from their hand that moves the wheel), while healers or
successful businesmen had a high revolution number, and there
were no exceptions to this: no sick person could reach a high
revolution number, if they could make it move at all; while
vibrant personalities who were in good shape always had a high
revolution number. Many-many experiences, and many thousands
of measurements finally convinced me that this is an original
phenomenon in itself and not some kind of an accidental
coincidence.
I experienced the highest vitality values,
above 100%, with students who could not always fit in with the
tight school regulations, but showed great interest towards
the different forms of meditations and had close relation to
their friends, took care of them, and had charism. If they
were a few meters from the one who just measured, the results
were definitely better. To tell the truth, they could also
make it worse if I asked them to do so. In this case, the
vitality value of the one measuring himself/herself decreased
to a great extent. To produce this result they did not have to
touch the other person, it was enough to use their willpower.
This was again an important reason for me to accept the
reality of this phenomenon. It showed also that many people
have known and all of us used this energy, even without
knowing it, for a long time, still it has remained
unexplained. We have also tried to see if two, three or more
people together could reach a higher score than separately,
i.e. if their vitality sums up. To some extent the resulting
vitality level was really higher, but not significantly. As if
discharged batteries were connected parallel. In some cases
two or three people together reached a lower level of vitality
than separately, when they did not know or did not like each
other. Interpersonal relation, the shere fact of somebody
standing beside or behind us, may influence results
considerably.
At the end, just for the sake of curiosity,
let me mention that the highest score was reached by Erno
Rubik, inventor of Rubik's Cube with a former version of this
device, which had a scale also above 24 revolutions per
minute. His best result was 35 revolutions/minute which is a
VQ value of about 600%.
At last but not at least I thank all the
people who, for a long time, have helped me in the
experiments, in the development of the device and also I thank
those who made it possible to start up the mass production of
the vitality meter with their investment and advance.
George Egely, Ph.D.
Budakeszi, Hungary, 1994.