rexresearch
rexresearch1
Hodowanec Index

Gregory HODOWANEC
Rhysmonic Cosmology


Experiments with Gravity Wave Signals

Abstract:

Present-day communications systems largely make use of vector type radiation fields, i.e., electromagnetic waves, to convey information between distant points at the speed of light. Scalar type radiation fields, such as the gravitational field, however, might eventually be useful to convey information essentially ‘instantly’ according to the author’s theories. With the development of very sensitive scalar type field detectors by the author, it is now possible to demonstrate some effects which appear to be attributable to such scalar fields. Several simple experiments which illustrate some of these points are described. These should provide a starting point for further experiments and investigations into these effects by the inquisitive experimenter and the open-minded private researcher.

Introduction:

A field in physics may be defined as a region in space which is under the influence of some ‘effect’, typically an electric, magnetic, or gravitational field. This field consists of interlocking closed loops of electric and magnetic lines of flux, and thus are vector type fields, as whirlpool fields. Such fields must therefore be described in terms of vectors, since a magnitude and direction is necessary to fully describe such fields. The theory of electromagnetism has been highly developed along these lines and thus is now useful in many aspects of high technology.

Less understood is the theory of fields which are conservative in nature and thus can be described in terms of magnitude alone. Such fields are called scalar fields. A common example of such a field is temperature, even though the gradient of such a scalar field will be vectorial. The gravitational field is also a scalar field and the gradients in this field are also vectorial. Less well-known are the conservative or scalar aspects of electric and magnetic fields. A scalar electric field is realized when the field is generated by the application of a voltage between two parallel plates, i.e., atypical parallel plate capacitor. An example of a ‘curl-free’ or scalar field (conservative) in magnetism is seen in the H-fields which emanate from the end of a bar magnet into the space just beyond it. Such a field is scalar for only a short distance, however,

Scalar fields of the electric, magnetic and gravitational type have interesting properties compared to their vector field counterparts. For example, scalar fields easily penetrate ordinary matter, while the gradients of such fields can also interact with matter. The scalar fields emanating from the end of the bar magnet, for example, can easily penetrate a thick material mass, provided the mass is non-magnetic and thus cannot support induced fields which can counter the penetrating field components. Therefore, while these properties of scalar fields could provide a basis for a new communication system, proper methodology will have to be developed for the generation and detection of such signals before the system cold become viable. Effort and progress in these aspects are being made.

Background:

A major step forward in the possibility of effecting scalar signal communications has been made with the development of very sensitive scalar field detectors by the author (Ref. 1) These detectors are presently being used in a wide range of applications by the author, including such facets as gravitational signal astronomy, gravity field measurements, l/f noise cancellation, Hooke’s Law type scale error-corrections, esoteric energy detection, and many other used. Discussed in this brief article will be the potential for using scalar fields, e.g., gravitational fields, in possible methods for communication or signaling purposes.

Scalar Field Detector:

The scalar field detector used by the author in the experiments described in this article is very simple and is shown in Figure (1). It is  l/f noise type detector and uses a Cmos op-amp which operates with a 1.5 volt supply. The unit is assembled in an aluminum box with self-contained batteries and the output is brought out with a filter type feedthrough in order to eliminate possible response to RF type ambient signals.

Shown in Figure (2) is a simple audio amplifier which may be used with this detector. The readily available 386 IC has a gain of 200 times and provisions are made for headphone use also. Small telephone amplifiers or mini-amplifiers are commercially available which make suitable ready-built audio amplifiers. The author used a mini-amplifier available from Radio Shack (#277-1008) for these tests with good results. The headphone jack is desirable for headphone listening to the many scalar signal sounds generated naturally in the universe and/or by man. Headphone listening also facilitates the detection of some of the weaker scalar field effects to be noted in these experiments.

Figure 1: Scalar Field Detector used in the Author's Experiments 

Figure 2: Simple Audio Amplifier useful with the Scalar Field Detector 

Scalar Field Generation

Scalar fields of the gravitational type are generated profusely in the universe and are detectable with the simple circuit of Figure (1). The unit will respond to the individual impulses of gravity gradients as a ‘noise spectrum’ which can be heard with the audio amplifier or displayed as ‘grass’ on the oscilloscope. Careful listening to the audio signal response will also reveal, not only ‘noise’, but also some coherent response and ‘musical’ tones as well. These will be considered later.

Man-made scalar gravitational signals are largely due to oscillating masses or rotating asymmetric masses. A translation of mass will also generate ‘signal’ which are due to perturbations of an apparent standing-wave pattern in the universe’s background radiation which is believed to have been created by the various processes in the universe. (Ref. 2)

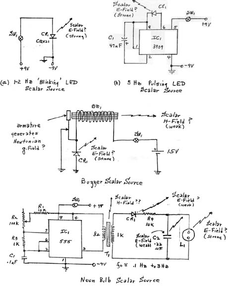
Local weak scalar signals of the ‘pure’ electric type or the ‘curl-free’ magnetic type may be generated with the circuits shown in Figure (3). These signals have been detected at about 75 feet, the maximum lab distance available. However, they are at about the same level as the background radiation and thus are somewhat difficult to ascertain within the general background responses. The use of different pulse rates for these generators helps to properly identify the correct scalar signal. In general, low pulse rates must be used with these signals.

Scalar signals of the pure electric field type are generated mainly by charge impulses which are divorced from any accompanying magnetic components. The curl-free magnetic modes utilize parallel magnetic fields (H-fields) generated near the pole of a magnetic source field (in loose terms, a magnetic monopole). Scalar fields o the electric type can also be generated by special coil configurations in which the magnetic component (but not the electric components) is cancelled. These configurations are under consideration by the author.

Figure 3: Some simle circuits which give indication of being scalar sources. Note: all circuits are constructed in shielded boxes 

Experimental Tests

Listening to the sounds of scalar signals being detected by the detector of Figure (1) on headphones can be quite impressive. Adjust the amplifier sound level for best response to the particular sound being studied. Of particular interest are some of the ‘musical’ sounds which appear to come from the same points in our Galaxy on a daily basis. At the author’s location at about 42o N. latitude, these sounds seem to originate in the Perseus and Auriga regions of our galaxy. Perhaps some of these signals might be extraterrestrial intelligence signals, thus those experimenters interested in SETI (Search for Extraterrestrial Intelligence) may want to investigate this aspect of this detector.

The detector is also extremely sensitive to modulations of the ambient gravitational field by local mass translations (Ref. 2). The so-called microwave background radiation (MBR) appears to have a standing-wave pattern structure in the universe which has a ‘wavelength’ of about 0.25 centimeter, corresponding to the 3o K black-body temperature for this radiation. The local translation of mass affects this structure as a rather intense perturbation which appears as a strong ‘rushing’ sound in the detector audio output. The experimenter may best observe this effect by slowly waving his arm back and forth at about a 1-2 Hz rate so as to establish a strong ‘resonance’ effect and then stops this movement at some peak swing. He will then note that this resonance effect will continue for many minutes, even hours, or until the coherent effect is destroyed by some other gravitational effect, such as your own beating heart, or by oscillating a mass, starting with large excursion which are then tapered down to a standstill. That these modulations are truly due to mass in motion, can be seen by oscillating a pendulum, or rolling a mass. These devices will disturb the vacuum, i.e., the gravitational background, independently of any human action. This effect will drop off with the square of the distance as with all scalar signals. The author has detected the oscillation of a pendulum 150 feet away which appeared to have the same response in detected intensity as when the pendulum was only 5 feet away.  Therefore, such signals could have very extended ranges.

An interesting experiment can be performed with this pendulum, which is a two pound weight suspended from a six foot height with a light weight string. Set the pendulum in motion with about a five foot arc length. Adjust the detector volume for a good response to this swinging disturbance of the vacuum, i.e., the universe. Now take the detector along in your car. Notice that the response remains about the same intensity even when the detector is inside the car. Now drive slowly to a distance of about one mile from the site of the pendulum. You will notice that the pendulum response will fall off with the distance (probably at the l/r2 rate), but will still be noticeable at the one mile distance. As you return, you will notice that the response will continually increase in level and will have the original amplitude when you have returned to the site. However, most likely, the pendulum has stopped its oscillations by this time, but the disturbance in the universe remained! This effect appears to be typical of scalar signals or gravitational perturbations in this universe.

There is one drawback, however. Scalar signals, once generated, tend to propagate continually until dissipated or over-ridden in some way. However, the perturbations can be encoded, e.g., if a gravity signal is pulsed at some rate, the pulse rate will be maintained. For example, if the 5 Hz LED scalar signal generator shown in Figure (3) is pulsed on every 5 seconds, the gravitational field will be excited with 5 Hz pulses every 5 seconds even if the original excitation has ceased. It appears that gravitational communications will probably require some sort of pulse-code modulation which can defeat the continuing propagation characteristics of the vacuum. The buzzer scalar source of the type shown in Figure (3c) can apparently do this to some extent. The strong desired scalar signals from the diode CR1 appear to be followed by a ‘cancellation’ pulse, either from the scalar H-field shown, the g-field generated by the armature, or possibly some remaining E-field pulse at the breaker points. These fields may act in such a way that the desired ‘buzzing’ scalar signals are strongly transmitted, but they are not strongly repeated, i.e., the repeating pulses appear to be way, way down in level. Therefore, it was possible to transmit low speed Morse Code signals by these means. While some brief tests were made a ta distance of about 200 feet, the range is probably much greater than that, even though a very low level (1.5 volt) buzzer source was used. Perhaps the early radio experimenters with their ‘spark gap’ induction coil transmitters were really using scalar ‘waves’ in addition to EM waves in their systems.

It is also interesting to note that it seems that maximum energy excitation takes place at about the 1-2 Hz rate. This appears to be a natural resonance frequency either as an earth resonance or as a universe resonance effect. Lightning stroke induced HV scalar signals also appear to be a good source for these very low frequency excitations (Ref. 3). There is room for much research here.

Psychic effects?

There are many sources for gravitational perturbation excitations at the local level. For example, a good 1-2 Hz resonance can be established by simply pressing the thumb and first finger together at this rate. When a good rate is established, cease the excitation with the fingers. The modulation will now continue at this same rate. Now think hard to slow down this rate: the rate will slow down! Relax and the rate will return to the original excitation! Are these psychic effects or are they a control of time? Or are they related to unconscious heart beats of muscle tensions as if nerve impulses are scalar in nature? I will leave it to the reader to perform the experiment and decide for himself. That these effects are apparently real is seen in that the experiment can be recorded on tape and stored.

Conclusions

A new area of scalar field research has been opened up due to the development of very sensitive field detectors by the author. The brief notes on some experiments given here are but the tip of the iceberg. There is room for much research and development in this area. The author hopes that dedicated experimenters and open-minded private researchers will enter this new field and contribute to the ‘new science’ now being investigated by just a few ‘pioneers’ in a potentially promising vast new field of endeavors.

Parts Lists

Figure (1):

R1 ~ 1.5 megaohm, 1/4 W, resistor

C1 ~ 1600 uF, 4 V, electrolytic capacitor

C2 ~ 5000 pF, feedthru, filter type preferred

IC1 ~ Cmos, ICL7611

Figure (2):

R1 ~ 10 Kohm potentiometer

C1, C3 ~ 0.05 uF ceramic capacitor

C2 ~ 10uF, 10 V, electrolytic capacitor

C4 ~ 220 uF, 15 V, electrolytic capacitor

SW1 ~ SPST miniature switch

J1 ~ miniature closed circuit jack

IC1 ~ 386

SP1 ~ 8-16 ohm miniature speaker

Figure (3):

Circuit a:

CR1 ~ CQx21 blinking LED

SW1 ~ SPST miniature switch

Circuit b:

C1 ~ 47 uF, 15 V, electrolytic capacitor

CR1 ~ high output LED

SW1 ~ SPST miniature switch

IC1 ~ 3909

Circuit c:

BZ1 ~ small 3-6 V buzzer unit

CR1 ~ 1000 V diode

SW1 ~ SPST miniature switch

Circuit d:

R1, R4 ~ 10k, 1/4 W, resistor

R2 ~ 100 K potentiometer

R3 ~ 1 K, 1/4 watt, resistor

C1 ~ 0.1 uF, 50 V, capacitor

C2 ~ 0.22 uF, 200 V, capacitor

SW1 ~ SPST miniature switch

CR1 ~ 1N914 type diode

T1 ~ 1k to 8 ohm miniature transformer

L1 ~ NE-2 neon bulb

References ~

(1) G. Hodowanec: "Gravitational Waves?"; Radio-Electronics, April 1986.

(2) G.Hodowanec: Rhysmonic Cosmology, August 1985.

(3) G. Hodowanec: "Simple Detection of Tesla’s Earth Resonances?", unpublished, 1986