rexresearch
rexresearch1


Stephan AUGUSTIN
Watercone

http://www.caledonenterprise.com/printArticle/50267  (Friday June 6 2008 )
Caledon Enterprse (Bolton, Ontario, Canada )

BMW Designer Invents Watercone

It may not exactly fall under the usual automotive news but a BMW Group employee was honoured for his solution for a cheap, mobile device for producing drinking water.

On May 26 in Brussels, an international jury presented the National Energy Globe Award 2007 to BMW Group designer Stephan Augustin for his invention of the so called Watercone, a device for generating clean drinking water.

Guests at the awards ceremony included Mikhail Gorbachev, Jose Manuel Barroso, and Kofi Annan.
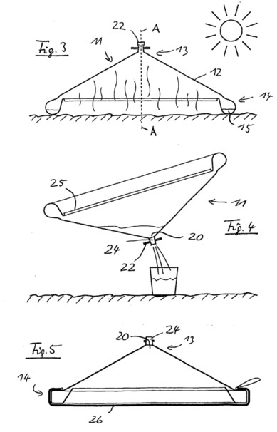
The Watercone is a solar-powered cone-shaped desalinator that generates fresh drinking water from salt or brackish water.

With its rigid outer skin, this plastic cone can be used floating on water or on damp ground.

The sunrays shining on the Watercone cause the water to evaporate under the cone and condense on the inside of the cone. The droplets of water then accumulate in a collector trough. The water can be poured out of the opening at the tip of the Watercone into a container or drunk directly. The water is purified through the condensation as if it were undergoing a single-stage distillation process.

Around 1.6 litres of drinking water a day can be obtained by using this invention. This means that the Watercone could play a major part in solving a number of problems.

UNICEF experts estimate that 5,000 children still die each day from diarrheal diseases caused by dirty drinking water. Using the Watercone, people living in coastal regions in Africa, Asia, and South America can also obtain drinking water from sea water. In addition, this device also eliminates heavy metals and other pollutants when used near rivers.

The Watercone is made from hard-wearing, unbreakable Bayer Makrolon polycarbonate with an anti-UV coating and has a guaranteed working life of at least five years.

The Watercone was even tested in the BMW wind tunnel showing it could cope with wind speeds of up to 55 km/h without any problems. This means that it is largely unaffected by weather.

CARE Deutschland carried out a pilot project in the coastal town of Zinjibar in Yemen, where it generally rains only three times a year.

Consequently, the fishermen have to travel into the interior, sometimes up to 15 km, to find clean drinking water even though they live right by the sea. CARE handed out 100 Watercones to ten fishermen's families. The water quality produced was analyzed and found to be perfect. The people in the village went one further: they said the drinking water from the Watercone tasted better than bottled water.

Augustin, an industrial designer, came up with the idea of the Watercone on holiday on the Canaries. As he looked across the sea, he brooded about how to convert the rich stocks of sea water in the oceans into a daily ration of drinking water.

"I wanted to use my professional knowledge and my experience to offer people who suffer from water shortage a humanitarian service in the form of a practical design", says Augustin.
 


US7534327 -- Device for Recovering Drinking Water from Condensate..

Abstract -- A device for recovering drinking water from condensate consists of a self-supporting moulded part 11 consisting of a transparent synthetic resin such as PET or PC, which is resistant to UV radiation. The moulded part 11 presents an open bottom area 16 with a collecting channel 15 on the edge side, with the collecting channel 15 presenting an inner wall 18 oriented towards the circumferential surface 12 and serving, at the same time, as floating aid, and with the moulded part 11 being provided with a pouring opening in its upper section 13. For the manufacture of this device, a vacuum is created in a special deep-drawing tool not only in the region of the circumferential surface to be produced but also in the region of the collecting channel to be formed, and the moulded part is separated from a separated deep-drawing tool element outside the zone of the collecting channel

[0027] FIG. 1 is a perspective side view of a first embodiment of an inventive device;

[0028] FIG. 2 is a schematic illustration of 4 devices according to FIG. 1, which are stacked on top of each other;

[0029] FIG. 3 shows another embodiment of the invention for explaining the principle of operation;

[0030] FIG. 4 illustrates the embodiment according to FIG. 3 in a schematic section in a condition in which the condensate is poured out;

[0031] FIG. 5 is a view of another embodiment of an inventive device in which a black cloth permeable to water is stretched over the bottom area to provide protection from the washing of the waves and for achieving a greater evaporation heat;

[0032] FIG. 6 shows a schematic view of a further embodiment of the invention;

[0033] FIG. 7 is a view of the device according to FIG. 6 from below;

[0034] FIG. 8 is an illustration of the assembly of the device according to FIG. 6;

[0035] FIGS. 9 to 12 show various embodiments of devices presenting different geometries of the outside wall;


[0036] FIGS. 13 to 15 illustrate a schematic perspective side view, a view from below and a sectional view along the line XIII-XIII in FIG. 13;

[0037] FIGS. 16 to 18 show various geometries of collecting channels adapted to be stacked;

[0038] FIGS. 19 and 20 are schematic views of steps for the manufacture of an embodiment of an inventive device;

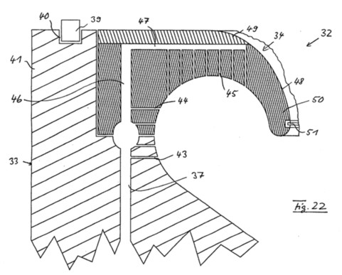
[0039] FIG. 21 shows a schematic sectional view taken through an embodiment of an inventive deep-drawing tool for the manufacture of a device presenting rotational symmetry;

[0040] FIG. 22 is a partial sectional view at an enlarged scale in the upper left area in FIG. 21 for the illustration of air suction bores; and

[0041] FIGS. 23 to 27 illustrate individual steps in the manufacture of one embodiment of the inventive device, using an inventive deep-drawing tool.