rexresearch
rexresearch1

Michael ELLSWORTH
Atmospheric Water Generator


http://www.a2wh.com
http://www.correctenergysolutions.com


A2WH ( Air to Water Harvest )



(AWG) Atmospheric Water Generator using solar energy

A2WH ( Air to Water Harvest ) technology extracts the humidity in air and converts it into liquid water.   A2WH is a new generation of solar powered atmospheric water generator device (AWG) which are also known as water maker devices (WM) and Water Air Extraction Devices (WAED).    A2WH uses a revolutionary patent pending solar heat design which does not require refrigeration.   This allows A2WH to operate cost effectively directly from renewable energy and makes A2WH ideal for off grid deployment, remote cabins, islands and other locations where electricity is abnormally expensive.

... A2WH has designed a patent pending solar thermal powered system which is fundementally different than common refrigeration based units. The A2WH design allows allow us to absorb moisture from relatively dry air with a much lower energy cost.  We use solar heat which keeps the energy costs low.   A major difference is that we can condense at ambient which eliminates the need for refrigeration which is the big electricity consumer in most other WAED units.

This allows A2WH to be deployed in large scale and to provide much lower operational costs. These combine to make A2WH scalable from a few liters per day through millions of gallons.

A2WH requires full sun exposure. This means it must be installed outside in areas without significant shade.

With a single acre of land the A2WH A2WH units can produce in the range 1,000 to 2,500 gallons per day of water without having any impact on the local water company or drawing any power from the local utility company...

...The A2WH A2WH units do not impact the local ground water and they are using a resource that is completely renewable so there is no risk of running out in the future...

A2WH Product Overview

The A2WH system produces pure potable water from air using only solar energy.  It operates with a much lower operating cost than other AWG systems because it does not require large amounts of electricity.

The A2WH system absorbs moisture at night when humidity is relatively high and converts what it absorbed the prior night into liquid water the following day using solar thermal heat. Well over 90% of the energy used in the system is solar heat. 

In this system all condensing occurs at near ambient and it does not require any refrigeration. High quality filters are used to filter the air before the absorption at night which keeps the interior of the system very clean. 

A HEPPA grade filter is used for the gas entering the condenser chamber which keeps the water quality near surgical grade. The system includes an automatic mode where it sterilizes the condensing area on days when there is sufficient solar energy to reach pasteurization temperatures.

A small amount of energy is delivered by Photo Voltaic panels which operate a microcomputer control system, sensors, blowers, pumps, etc...

How does A2WH work?

The A2WH system uses a desiccant to absorb moisture from the air.   The higher the humidity the more water our desiccant can absorb per pass which increases production.  

We use solar heat to drive both the airflow for the absorption process and to provide heat during the regeneration process which extracts the moisture from the desiccant and allows us to capture the water in liquid form.

A sophisticated micro controller based sensor system determines when to switch between absorption and regeneration modes.   We use different types and amounts of desiccants depending on the local conditions to optimize the performance of the system.      A small Photo Voltaic solar panel provides power for the micro controller, sensors, various valves, etc.      

We have an optional enhancement that uses wind energy (wind over 4.5 MPH) to drive circulation at night when the relative humidity is higher.    To make this work best we increase the weight of the desiccant used in the system.   In some areas with good nightly wind this allows the unit to work in areas with daytime humidity as low as 10%  We have optional enhancements which allow electric fans and heaters to augment or replace the solar heat.

The input air is filtered before it enters the absorption chamber where the desiccant absorbs water out of it.  The air is re-filtered when heated for regeneration.  A final stage of filtering is used as the air enters the condensation phase where the H2O is turned into liquid water.  As a result the output water is very pure.   We still recommend treatment  using a NSF 54 grade filter prior to consumption because we do not have any control over the cleanliness of the storage tank....

Our difference from common market units.

Most Air to water systems use refrigeration to chill air to the dew point that means that as the dew point drops the more the unit must do more work to sufficiently chill the air.    This causes them to use large amounts of electricity.  It is fairly common for electric units to consume of 2.2Kwh per gallon produced which gives them a high variable operating costs which can exceed 40 cents per gallon.

We designed A2WH units to operate entirely from solar energy.  This is mostly solar heat with a small amount of solar electricity used to operate valves,  sensors and the electronic control system.  This allows our system to operate much more efficiently which is especially important in areas where electricity is expensive such as islands where electricity is generated using imported fuels.  

Most AWG systems are built around a refrigeration system which is very similar to that used in small electric air conditioners.  The best units consume 600 to over 3,000 watt hours per gallon of water they produce.     The industry average trends  show  consumption over 2,2000 watt hours per gallon which rise rapidly as humidity drops.    

A2WH functions with no external electricity.  This saves 3,000 watts per gallon. Our novel design and control system allows it to efficiently extract water in a wide range of conditions including conditions where electric AWG units become inefficient or do not work at all.

Our units can reduce carbon emissions by over 5 pounds of carbon per gallon produced as compared to grid powered electric systems.  (2.2 pounds carbon per KWh saved *  3000 watts per gallon = 6.4 pounds of carbon per gallon  of water).   Even a small 6 gallon per day system this adds up to nearly 11,000 pounds reduced carbon emissions per year.

Our system uses solar thermal heat to harvest water from air even when the air has low humidity.   Unlike radiant condensation systems this system actually produces during the dry months even when there is no dew and it's production can go up in windy locations which can prevent radiant chilling systems from working at all.   Our technology can work in conditions where the dew point is far below the chilling level delivered by radiant chilling panels.

Our most important difference is the compatibility of the core design for scaling efficiently into millions of gallons per day at a reasonable cost.   It's other major benefit is compatibility with remote areas where grid power is either unavailable or expensive.   In some areas our units can be installed in mountains outside of towns and provide both water pressure and electricity for the town.  Rather than exaggerate summer power shortages our system can actually help reduce these shortages.



http://www.sciencedirect.com
Absorption/regeneration non-conventional system for water extraction from atmospheric air
Ahmed Sultan, et al.

Abstract -- The present work suggests a non-conventional method of water production from atmospheric air, on a 24-h basis using a compact system. The operation of the system is described and its efficiency is defined. The system performs under forced convection absorption and regeneration through a packed tower. The packed tower consists of two identical columns, each of them is packed with an identical bed. Each bed consists of vertical multi-layers of cloth material impregnated with calcium chloride solution of different concentrations. A numerical model, based on the experimental results, has been developed to predict the performance of the system under various operating conditions. The system efficiency is found to have peak values at certain cycle times, desiccant final concentration, regeneration temperature and absorption air stream velocity. It is also found that the maximum efficiency increases with initial concentration and decreases with the increase of the regeneration air stream velocity and absorption temperature.



US6490874 -- Recuperative Environmental Conditioning Unit

Abstract -- A method and apparatus for removing moisture from within an electronics enclosure is provided. In particular, dehumidification is accomplished by removing air from the enclosure, cooling the air thereby causing condensation of water vapor from the air, then heating the dehumidified air and returning the heated and dehumidified air to the enclosure. A single heat pump provides cooling and heating functions, effectively recouping heat extracted from the air to be cooled, and transferring the extracted heat to the air prior to its return to the enclosure. In this manner, electronics within the enclosure may be operated at temperatures below the dew point of ambient air surrounding the enclosure, without requiring a thermally insulated enclosure. Devices are provided to collect and purge condensate from the system, either in a continuous or periodic manner.; Embodiments employing conventional vapor compression cycle heat pumps and thermoelectric heat pumps are described. A defrost cycle is provided to eliminate frost that may accumulate on the heat exchanger associated with the heat pump normally cold element. Defrost is accomplished by reversing heat pump polarity, heating the normally cold element. Control mechanisms and logic are provided to automate system operation. In preferred embodiments, dehumidification and defrost modes are activated by a controller monitoring the dew point within the enclosure, and the air pressure at the normally cold element. Dehumidification is performed intermittently, when the enclosure dew point exceeds a set point. Substantially sealing the enclosure against ingress of ambient air reduces the system's operational duty cycle.

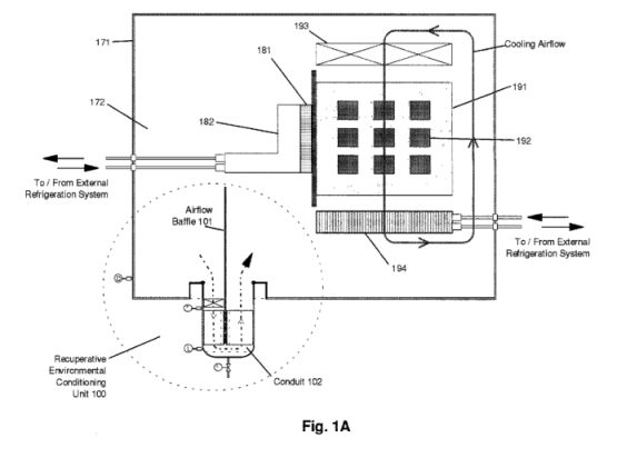
FIG. 1A shows a side view of an electronics enclosure with an external recuperative environmental conditioning unit (RECU) according to one embodiment of the present invention;


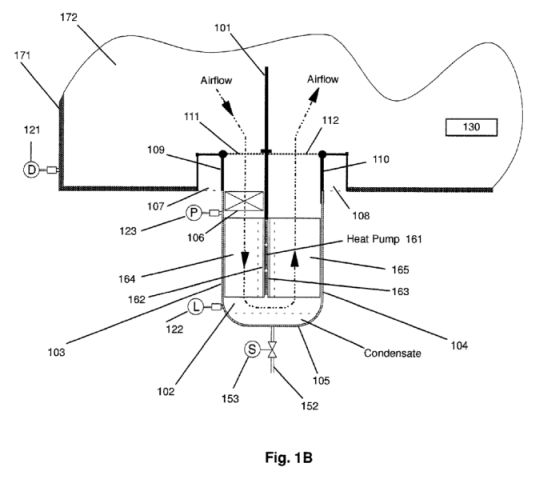
FIG. 1B shows a side detail view of the RECU of FIG. 1A in normal operation;



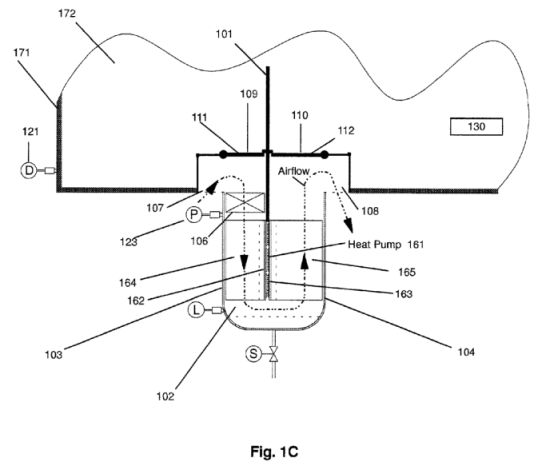
FIG. 1C shows a side detail view of the RECU of FIG. 1A, in defrost mode;



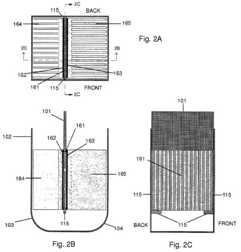
FIG. 2A shows a plan view of the thermoelectric heat pump and heat exchangers according to one embodiment of the present invention;



FIG. 2B shows a cutaway view of the thermoelectric device depicted in FIG. 2A, taken along lines B--B;

FIG. 2C shows a cutaway view of the thermoelectric device depicted in FIG. 2A, taken along lines C--C;

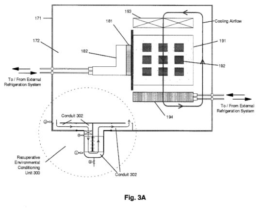
FIG. 3A shows a side view of an electronics enclosure with an external RECU, according to an alternative embodiment of the present invention;



FIG. 3B shows a side detail view of the RECU of FIG. 3A in normal operation;



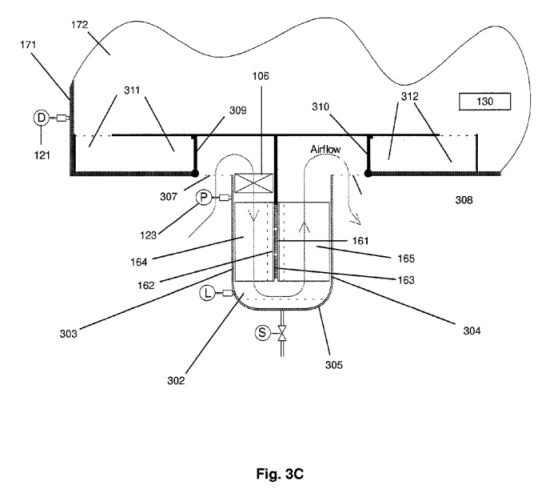
FIG. 3C shows a side detail view of the RECU of FIG. 3A, in defrost mode;



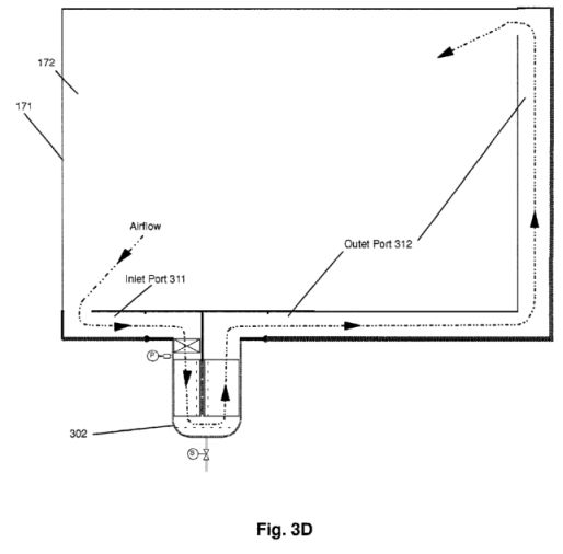
FIG. 3D shows a side detail view of an RECU employing an extended outlet port;



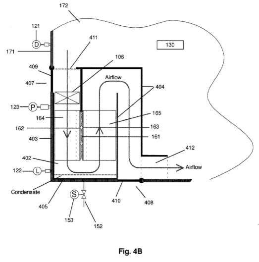
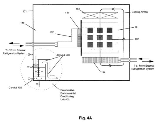
FIG. 4A shows a side view of an electronics enclosure with an internal RECU according to one embodiment of the present invention;



FIG. 4B shows a side detail view of the RECU of FIG. 4A in normal operation;



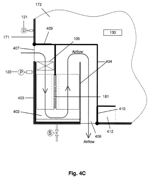
FIG. 4C shows a side detail view of the RECU of FIG. 4A, in defrost mode;



FIG. 5 shows a schematic view of the control devices of one embodiment of the present invention;



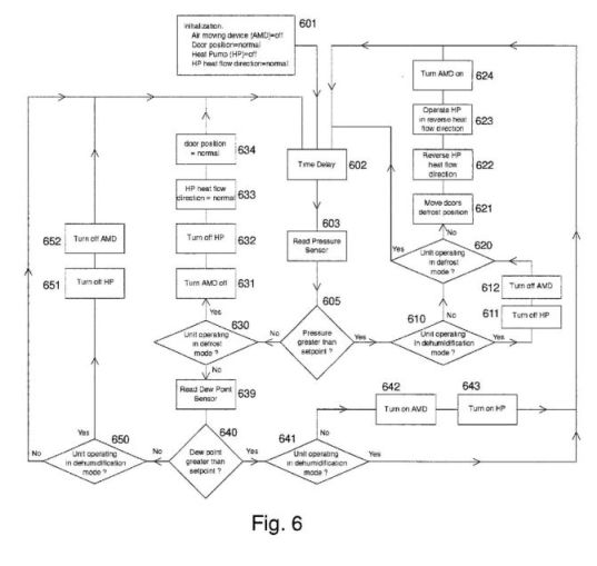
FIG. 6 shows a flow diagram depicting the RECU control flow, for both the dehumidification and the defrost operations according to one embodiment of the present invention;



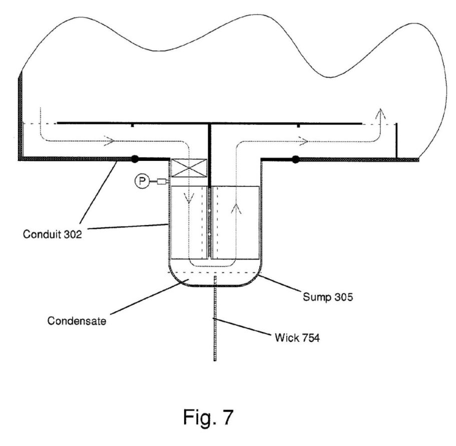
FIG. 7 shows the RECU of FIG. 3A, using a wick to remove condensate.



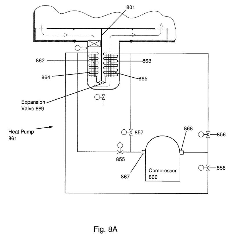
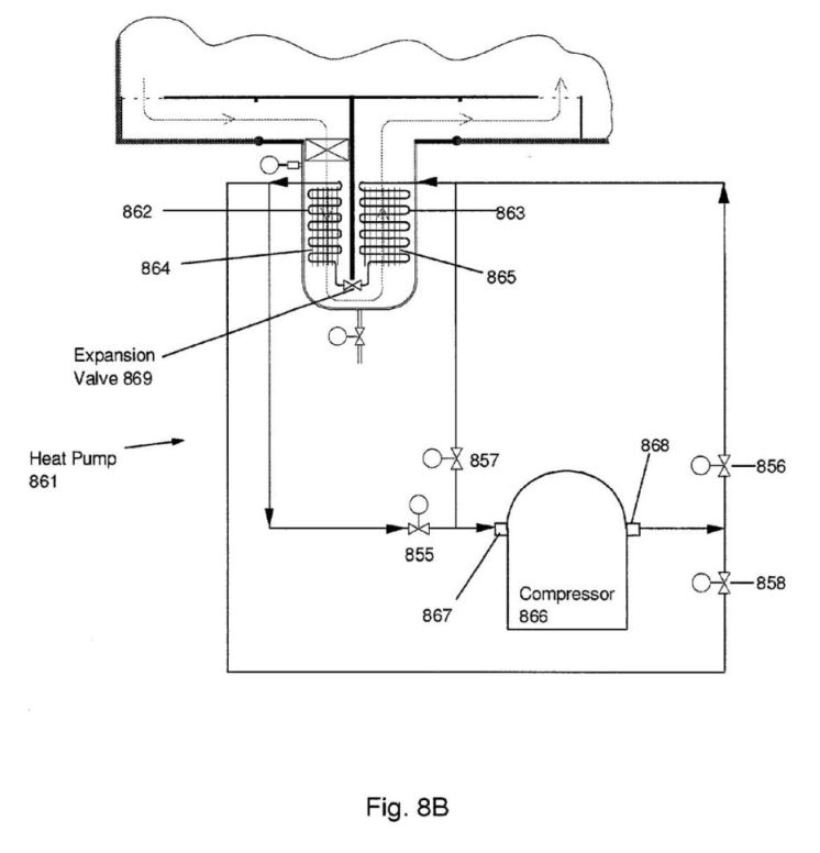
FIG. 8A shows an RECU using a vapor compression cycle heat pump according to one embodiment of the present invention;



FIG. 8B shows the operation of the embodiment of FIG. 8A during normal operation;



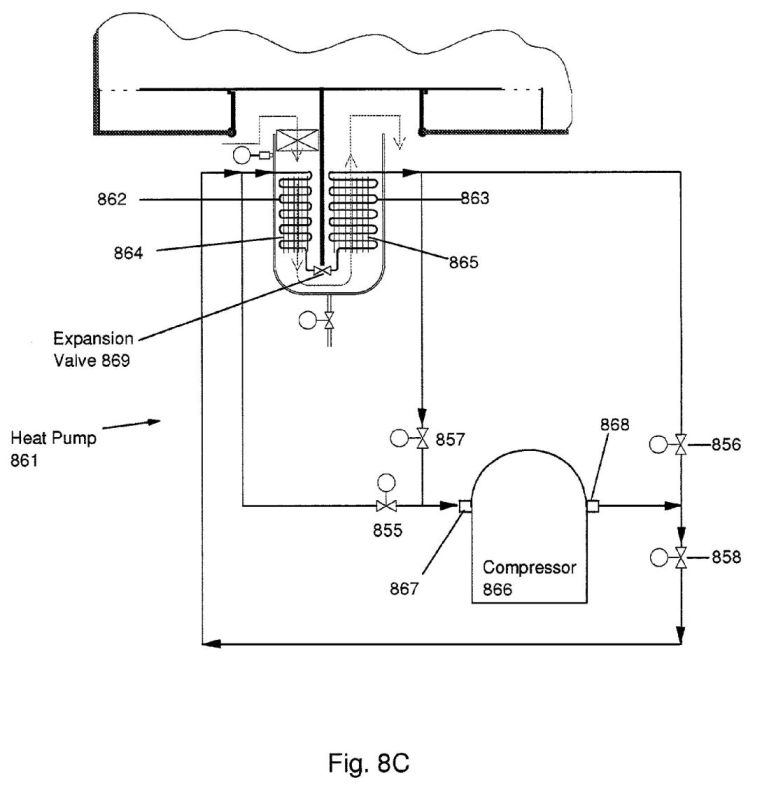
FIG. 8C shows the operation of the embodiment of FIG. 8A during defrost mode;



FIG. 8D shows a control schematic for the embodiment of FIGS. 8A through 8C.





US6144013 -- Local humidity control system for low temperature electronic module 

Abstract -- A local humidity control system and method are provided for a low temperature electronic device assembly wherein a surface of the low temperature electronic device assembly is maintained above an ambient dew point. The local humidity control system includes a first layer of thermal insulation at least partially surrounding and contacting the cooled electronic device, and a second layer of thermal insulation surrounding the first layer of thermal insulation and the cooled electronic device in which a volume is defined between the first and second layers of insulation. A heater assembly interfaces with the volume to heat the volume to a temperature sufficient to maintain the surface of the cooled electronic device above the ambient dew point. The heater assembly includes a thin film heater attached to the first layer of thermal insulation to maintain temperature of the surface above the ambient dew point, and a wire mesh heater suspended within the volume to lower relative humidity in the volume and inhibit the ingress of water vapor.