
rexresearch
rexresearch1
Theo
OLMO / Ricardo GIL
Fog Collector
http://revolution-green.com/fog-catchers/
[ Excerpt ]
The
Fog Catchers
... Developed over the past 5 years on the Canary Islands by
Hernando Theo Olmo and Ricardo Gil, the “Water Gardens” are
groupings of water-extracting towers for high volume and high
quality water. Some of the planned uses are for forests,
camping, fire suppression, agriculture, livestock, and human
consumption.
According to the website; After years of experimentation and
improvement, our NRP 3.0 fog collectors are currently the most
technically advanced and productive in the world in the last 50
years in this sector, with a maximum collection of 1,074 liters
/ day and a life of more than 10 years.
The NRP 3.0 fog collector, have a huge collecting surface of 56
m2 into minimum space, only 1.6 m2, thus reducing the area
occupied by 90% and minimizing the visual impact. Its
three-dimensional structure gives great stability and prevents
the loss of water out of the structure and also minimizes the
influence of the wind direction in production of water. It also
has a base designed to decant and filter the water before it
passes to the tube system.
The materials used give the NRP 3.0 high strength, low weight
and high durability.
Due to the rate cost-production, this system allows us to
consider definitely the mists as another water resource,
complementary to the existing resources, and this, in a
practical, cost-effective, sustainable and innovative. Water
from the mist can be used for qualitative and quantitative
improvement of the waters from another origin, which can also
help to reduce transportation costs, pumping or treatment
of these, saving energy and minimizing pollution.
The
World's First Water Farm !
http://eng.aguadeniebla.com/index
Fog
Collectors NRP 3.0
The revolution in fog water collection
After years of experimentation and improvement, our NRP 3.0 fog
collectors are currently the most technically advanced and
productive in the world in the last 50 years in this sector,
with a maximum collection of 1,074 liters / day and a life of
more than 10 years.
The NRP 3.0 fog collector, have a huge collecting surface of 56
m2 into minimum space, only 1.6 m2, thus reducing the area
occupied by 90% and minimizing the visual impact.
Its three-dimensional structure gives great stability and
prevents the loss of water out of the structure and also
minimizes the influence of the wind direction in production of
water.
It also has a base designed to decant and filter the water
before it passes to the tube system.
The materials used give the NRP 3.0 high strength, low weight
and high durability.
Due to the rate cost-production, this system allows us to
consider definitely the mists as another water resource,
complementary to the existing resources, and this, in a
practical, cost-effective, sustainable and innovative.
Water from the mist can be used for qualitative and quantitative
improvement of the waters from another origin, which can also
help to reduce transportation costs, pumping or treatment
of these, saving energy and minimizing pollution.
Design
Bases
Development of fog collectors NRP 3.0
As we have been working for some years in a scientific and
in a professional way with the flat collectors or Chilean
type, we realiced its complications and shortcomings. For this
reason, in 2008 we began to design some collectors based on the
following design bases:
A fog collector very stable against wind and with no need of
tensioners, which occupies little space, easy to transport and
to install, it does not need constant maintenance, it avoids
constant loosing of water, (collected by the meshes) outside the
structure, and therefore, the loss of production, which will
increase the rate of precipitation of drops already captured,
not been influenced by changes in the direction of the mist , so
therefore, is is able to get more than 100 liters per day.
With all these data, we design our NRP 3.0 fog collectors in
different models depending on their size, whose name refers to
plants of the Canarian forest: Erica, Pinea and Garoé.
What is fog
water collection?
The fog, produced normaly by low clouds impacting against a
rugged terrain, can be captured by special mesh placed pn a
support structure. These meshes retain the tiny water drops
floating in the air, imitating the process made ??by the
treetops and giving the name to the phenomenon known as
"horizontal precipitation".
This technique is studied for over 50 years in many parts of the
world and allows the use of this water resource.
It was in Chile, particularly in the Atacama Desert, where it
began to research and develop collection instruments primarily
between the years 1960-1980, with the help of distinguished
researchers from the Catholic University of the North.
This is how the Chilean type "catchers" appeard, which have been
used up to now. Although cheap and easy, these fog collectors
have certain drawbacks such as low production, occupied area,
water leaks out of the structure, stability problems and
breakage.
In order to solve these problems, we have designed the NRP 3.0
fog collectors, which represent the most advanced technology and
higher production worldwide today.
Girja
SHARAN : Dew Yield from Passive Condensers in a Coastal
Arid Area [ PDF ]
ES1068289 -- CAPTADOR
TRIDIMENSIONAL DE AGUA DE NIEBLAS, ROCIO Y PRECIPITACIONES
C ON SUPERPOSICION DE CAPAS INTERIORES
ABSTRACT
1. Shutter dimensional water mist, dew and rain with overlapping
interior layers characterized by being configured by a three
dimensional structure, prism-shaped, preferably coated insect
screen (60% shade), whose base is preferably square and
containing a series of vertical inner layers of mesh
individualized scavenger and supported by cables, increasing the
scavenging exposed surface without taking up space, which
guarantees a water intercepted multiplication (with respect to
planes equipment) and generating a turbulent wind maze charged
drops passing through the structure.
2.
Water scavenger dimensional mist, dew and rain with overlapping
inner layers according to claim 1, wherein the base of the
three-dimensional structure has a box whose bottom is inclined
for collecting and solids settling level of the water collected
integrating well strainer at the start and a stopcock on one end
for easy cleanup.
Also it includes in its outer corners of seat plates to allow
anchoring the structure to any kind of surface.
3.
Water scavenger dimensional mist, dew and rain with overlapping
interior layers, according to claims 1 and 2, characterized in
that has a shoe designed to ensure the sensor ground anchor
without the need for works, the easier and cheaper installation,
reducing work times and minimizing the cost of materials.
the weight of the land is exploited, allowing turn the sensor
location can be changed if so desired, still remains at the
first settlement.
DESCRIPTION
Dimensional sensor water fog, dew and rain with overlapping
inner layers.
Technical
Field
Collection, settling and filtering water mists, dew and rain,
forest, agricultural and livestock and human use.
BACKGROUND
ART
Since ancient times man has taken advantage of alternative water
resource that nature offered, such as using the mists captured
by vegetation and rocks waters.
The best known case in the Canary Islands this type of
exploitation is to Garoé Tree, a sacred tree in the Iron and
that mentions the sixteenth century in which he recounted how
their branches there flowed the precious liquid.
Another example is the use of water mist captured by branches of
heather or woolen blankets (in the Chilean desert Atiquipa) plus
vine crops Lanzarote, in holes dug into gravel (lapilli) (which
holds the condensation overnight due to its porosity).
In the 60s a group of Chilean researchers (UCN) began
investigating in capturing the Camanchacas water (sea fog), with
such illustrious names as A. Acosta Baladon and C. Espinosa.
The latter obtained a patent (not 18,424) for a device for
capturing water in mist or camanchacas.
The collected water ranged between 1.5 liters per day to a
maximum of over 15 liters / day.
The annual average was 3.9 captured liters a day between 1961
and 1963).
In the late 80s and early 90s, the research group led by
Canadian Schemenauer R. and P. Cereceda, continued to work in
the same region of Chile (Proyecto El Tofo), jumping to fame by
supplying meshes flat trunks supported by 5 meters high
(equipment Stándar Fog Collector or SFC) to Chungungo populated
fisherman, who had 440 permanent residents.
After that they continued implementing this technique, CFS 0.5 x
0.5 meters pickup surface worldwide (Namibia, Oman, Peru, etc.).
In the Canaries, researchers and L. Pérez Santana, began to
perform experiments in the archipelago in the early 80s
(1983-1985).
In the 90s, the professor of the Faculty of Geography,
University of La Laguna, MV Marzol Jaen, began to implement the
techniques of the Canadian group, with the use of SFC 0.5 x 0.5
meters, in Tenerife (Teno, Anaga, etc.).
In the late 90's and early 2000, a private investigator, C.
Sánchez Recio recorded in Canarias (in 2000) planes sensors
(such as Chile) but slant auxiliary trays (and other models
tapered trunk which have not materialized).
These teams represent the only record as a utility model in
Spain of equipment to capture fog water (reference U9901838).
Begins to realize, through his private company (Natural Aqua
Canarias SL), projects the government majority for the
implementation and use of these equipment (Aquair optimizer).
They consist of a vertical frame of 5 x 2 meters, supported by
guy and concrete footings, with 7 trays placed inclined 50 deg
in order to reduce the effects of wind on the grid central
catch.
Water is collected in a gutter of PVC placed 1 m from the
ground.
Total pickup area is 8 m2 vertically.
The sensor along with its tension, occupies 16 m2 of land and 5
m in height.
Due to its size usually they have breakage due to wind effects
on the structure, along with a laborious task of transport,
assembly, installation and maintenance.
He is having worked with both research groups Marzol Jaen
(Geography ULL), the Hydrology Group ICIA (Canarian Institute of
Agrarian Research) ETSIA the University of La Laguna, having had
knowledge of Santana Perez (from 1998), momentum and deal with
Baladon Acosta and others, like Alain Gioda (IRD French
Institute of Research for Development) and the work done in
Natural Aqua Canarias SL, with Sánchez Recio, for 3 years, Theo
Hernando Olmo, inventor of the water trap of fog, dew and
rainfall, wants to step forward both in the world of technology
capture water from fog and dew, as in their application,
implementation and dissemination to society.
Already submitted the application for the utility model
200800661, sensor with self-generated turbulence.
DESCRIPTION
OF THE INVENTION
The gauge of water mists, dew and precipitation is a three
dimensional structure, prism-shaped, with a square base of 0.7
m. side and 2 m in height, preferably. newpage
It consists of a metal base for anchoring the computer, the
vertical support structures, decanting and filtering the
collected water, upstanding structures formed by tubes 2 m.
length, an upper part and a crown or inner layers of mesh
supported by steel cables.
For the collation of the team on earth metal shoe that, being
buried at 30 cm it is used. Depth can take advantage of the
weight of the earth to support the team extracted without the
need to pour concrete and the possibility of their removal and
reuse without leaving residues on the ground.
The shoe has four floored rods at each end that fit the anchor
pieces on the ends of the computer base.
For installation on concrete, just place about 4 wall plugs and
screws 8 mm in the same anchoring parts.
This layering an exhibition of nearly 11 m2 of surface
scavenging without taking up space on the ground (only 0.5 m2)
is achieved.
Being cubic need not direct it toward a particular wind
direction, but preferably its orientation towards the dominant
wind direction at each location is recommended.
This prismatic structure peripherally coated with plastic insect
screen (5.6 m2 in total) and internally by a second layer of
metal mesh screened 1 m. high (covering three faces of the
gauge, 2.1 m2 in total).
In the center of this structure (interior) are installed between
3-5 successive layers vertical mesh (as curtains) by creating an
opposition in the path drops laden air passes through the
sensor.
They are supported by frames made with steel cables that are
attached to the base and the top or crown piece by small
carabiners and rings.
The cables provide flexibility, stability and light weight.
Thus, increase harvest levels (greater exposed surface pickup)
without taking up space and resisting conditions of moderate to
strong wind.
The drops retained in the mesh aggregate to form larger diameter
droplets that slide towards the base where the solids are
retained possible present before departure by decantation.
Water leakage occurs by overflow, through a small strainer,
preventing the floating materials such as plant debris or
insects, pass the conduction system.
Because the inner layer is coated with metal insect screen and
the structure of the sensor is also metal, night condensation of
the circulating air, dew (clear skies at night hours), as well
as the utility model unsolicited 200 800 661 is promoted .
Description
of the enclosed figures
Figure 1 shows a perspective view of the shoe used for
placing the equipment on the ground.
2 shows a perspective view of the square base of the
gauge.
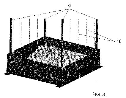
Figure 3 shows a sectional view of the placement at the
base of the vertical structures on their supports and anchors
the wire frames of the inner layers of mesh curtains.
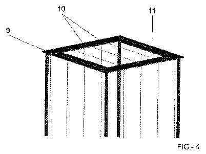
Figure 4 shows a sectional view of top sensor, by placing
the upper part or corona bonding and vertical structures
therein.
Figure 5 shows a general perspective view showing the
sensor assembly of all the parts described in Figures 1
through 4.

Preferred
embodiment mode of the invention
As described in the figures, it is shown how the sensor is
constituted of:
- A shoe on the placement of equipment grounding Figure 1,
consisting of a structure made of galvanized iron plates, (2),
as a cage with four threaded rods welded at the ends, (1) to the
union with spare anchor the computer base.
- A square base, according to Figure 2, of 0.7 m. side and 0.2 m
high, preferably with four sockets of 20 cm. in length and 25 mm
in diameter, for the sustenance of the vertical structures at
the corners, (3), two shelves on two sides, (4), 5 cm. the upper
edge of the base, to secure these caps and in which some rings
that secure the cable frames are placed curtains.
Also it has the inclined bottom, (5), for the collection and
decanting of the water obtained, anchoring pieces (binding or
shoe heels) punched and welded at the corners on the outside
(6), an outlet for overflow 6 cm from the bottom (7) of 25 mm
diameter in which a small metal filter, through the interior,
and a universal hose connector is placed and finally, an
auxiliary output on one side, (8) with a stopcock, to facilitate
the cleanup of the team. newpage
- The vertical structures, according to Figure 3, consisting
of:. First, four tubes of galvanized iron 20 mm in diameter and
a maximum length of 2 m, preferably, (9), which join the base
embutiéndolos caps it, serving as support to the outer layer of
plastic mesh and the second metallic mesh layer and on the other
hand, the frames carried by braided steel cable (10) anchored to
the base and the top piece or crown by small carabiners.
About this internal structure layers were fixed insect screen
like a curtain.
- The upper part or crown (11), according to Figure 4, is a
square frame with a hollow core and multiple perforations.
It serves to give consistency, allowing entry to the rain and
keep the prism of the team.
Vertical tubes (9) are joined to this piece with nuts, because
they have a small screw welded at its upper end.
The central space is covered with plastic mesh to keep out
leaves and other items carried by the wind.
- All scavenging meshes bind to their corresponding structures
(pipes or cables) through plastic cable ties.
Applications and uses
- Water supply in remote areas or expensive supplies.
- Supply of agricultural farms of mediocrities.
- Supply tanks or cisterns of forestry and fire trucks normally
filled by Cuba.
- Use of preventing and fighting forest fires, reforestation and
environmental monitoring.
- Improving by mixing low quality water from another source
Industrial (underground, etc.
)
- Supply of forest recreation areas and sources of walkers (on
purification).
- Human supply, housing or quarters of tools (on purification).
vskip 1.000000 ester
Advantage
- Especially suitable in conditions of moderate to high winds.
- Obtaining high quality water height (height between 800-1500
meters, in the Canary Islands).
- Drives gravity (energy saving).
- No energy consumption and waste generation.
- Easy assembly and installation (savings in storage,
transportation and installation).
- Very low maintenance (cleaning and replacement occasionally
mesh).
- Supply in situ (saving water transport and pipelines).
- Fully renewable materials.
- Mobile facilities, leaving no residue or shoes on location.
- Exploitation of dew and precipitation without taking up space
on the ground.
- Decanting and filtering water obtained integrated.
- Major pickup surface in less space.
- It occupies only 0.5 m2 of land with respect to other sensors
that take between 3 and 18 m2, with a volume of water collected
similar to these.
- Overlapping inner layers of mesh capture increasing levels of
catch (to possess greater exposed surface pickup) without taking
up space on the ground and creating a turbulent wind to the path
of charged droplets to traverse the maze sensor.
Individualized inner layers and can easily swap or replaced
without dismantling the entire structure (layers as curtains).
Supported by cables, providing flexibility, stability and light
weight.
- The anchor base or seat is designed PRG for nothing so much
his installation over existing slabs, through wall plugs and for
placement on land, in this case using a shoe designs PRG nothing
in order to secure the anchor down the sensor without the need
for works or pouring concrete, installation easier and cheaper
by reducing work times.
The weight of the land is exploited, allowing turn the sensor
location can be changed if so desired, still remains at the
first settlement.