Windmills of Your Mind
PROGRAM TRANSCRIPT: Monday, 21 May , 2007
JAMES O'LOUGHLIN:
Hello, I'm James O'Loughlin from "The New Inventors".
Australia has a long tradition of innovation, from the Hills
Hoist to the black box flight recorder, and our home grown
ideas have often found international markets.
Well, Perth inventor Max Whisson believes he may have come
up with a solution to the world's water problems and he has
some influential supporters. This is Max Whisson's story.
MAX WHISSON: The state of the world at the moment is, I think, the most dangerous in the evolution of Homo sapiens, for two main reasons. Power is almost entirely in the hands of those who gained power by exercising commercial advantage, and at the same time the ability of modern technology to destroy the world is unprecedented. The destruction of vast ecosystems is happening as we speak: forests being destroyed, catchment areas being destroyed, rivers being destroyed. We are a highly developed species, can fly to the moon and do all sorts of clever things, and we destroy the rivers all over the planet. I think it’s utterly absurd, outrageous. Grassroots action is the only hope to get a healthy world community.
PROFESSOR ROGER DAWKINS, SCIENCE CENTRE DIRECTOR: I know that some people think that Max is a crackpot but he’s a very engaging one and he’s certainly a very productive one.
MARCUS WHISSON, SON: He can be a bit of a handful, he’s an eccentric old bugger, he’d probably say that himself.
PHILLIP ADAMS, FRIEND: I think Max is a reincarnation of an ancient Roman, the Romans were wonderful at water.
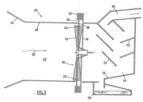
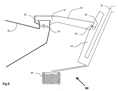
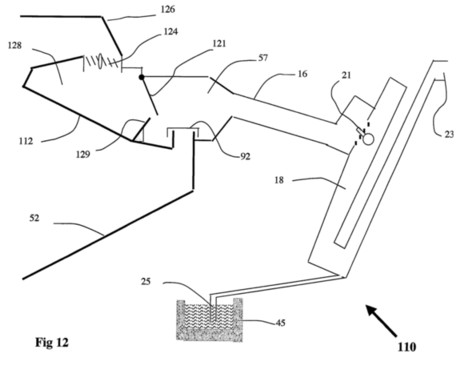
MAX WHISSON: It took me a little while to realise that the expanding population of the world cannot rely on surface water which accumulates from rain. We have to find unlimited sources of water and the sea seemed to me to be the obvious source of vast quantities of water. Seventy-one per cent of the Earth’s surface at an average depth of four or five kilometres, and I thought, how can you purify that water without fossil fuels or big machines or high technology? And sunlight seemed to be the obvious way. I came up with the idea of the Water Road in about 2002 in a sort of Eureka moment. Most places in need of water are far inland and it would seem so logical to just run the sea water inland over a long distance, producing pure water as it goes. The Water Road is a very simple design. It’s just a series of parallel black pipes, preferably to a width of about 10 metres, covered in a transparent cover such as perspex or polycarbonate, and maybe a thousand kilometres long. The sea water heats to 70 or 80 degrees, by my calculation, in about three to four days, heated by the sun, and at intervals the sea water is run into big swimming pools that I call evaporation ponds. The hot, wet air in the evaporation ponds is ducted up to a hilltop where it just condenses in a special condensation shed. So you’ve got pure water produced at a high point and that greatly assists the distribution to irrigation or to households along the way. A pipeline of that size would produce about 200,000 litres per kilometre per day. The salt from the returning sea water goes back to the sea where it’s diluted within minutes to normal sea water. But it could be sent to a salt manufacturer.
COLIN BARBOUTIS, BUSINESS PARTNER: When Max first mentioned the Water Road to me, I thought, this could be an answer for the water problem that we’re going to have in Perth in the very near future. Max’s mind works very differently to most people. And Max told me this himself, he said, “Colin all my life, I’ve seen things differently to most people.” He said, “You see a glass of water on the table, I see a mathematical calculation for a vessel that holds liquid.”
ANNEMARIE WHISSON, WIFE: When he comes to invention he’s very, very obsessive and quite stubborn, but in a good way.
MAX WHISSON: I graduated as a doctor in '55. I met Annemarie whilst I was working on cancer research in London.
ANNEMARIE WHISSON: I trained as a medical technologist in Switzerland and I was his research assistant. Oh goodness me, after two weeks, I just fell in love with this man and, and after a while, you know, I could see, he said he liked me too and so we had a little bit lunch together or coffee and, you know from then on it started, you know, I was just completely besotted with him.
MAX WHISSON: Annemarie and I have two sons and there are four sons from my first marriage.
ALEX WHISSON, SON: I think in many ways my mum’s sacrificed her own life to support my dad’s inventions and his scientific research work. If it wasn’t for my mum, my dad would be a disorganised brain in the ether somewhere. I mean she actually roots him in the earth, she actually grounds him in reality and he’d be completely lost without her.
MARCUS WHISSON, SON: He is an eccentric, the quintessential nutty professor. For a long time I know in the 1980s he had a fairly healthy obsession with solar power from cooling someone’s head with a solar-powered hat to allowing a bicycle to be used not by pedal power but by solar power.
MAX WHISSON: I worked for many years as a haematologist at the Red Cross Blood Bank in Western Australia.
PHILLIP ADAMS, FRIEND: By the late '80s the magnitude of the AIDS epidemic was becoming well known and I was concerned about my daughter, the doctor, getting needle stick injuries where she was working in an ER hospital in New York. And I was expressing these concerns to Max, who miraculously was working on a retractable needle.
To any project he examines Max brings a very fresh intelligence and so he looked at the needle again and again and he then came up with a Mark II, a completely different way of solving the issue involving a sleeve rather than a retreating needle.
PROFESSOR ROGER DAWKINS, SCIENCE CENTRE DIRECTOR: It was 1982 in the early days of HIV that I really got to know Max Whisson. He does have some weird and wonderful ideas, there’s no doubt about it.
The Needlesleeve seems to be a very good idea and it seems to work very well. I’d like to see it in use.
Max has always been very limited by funds. The country really needs to support people like Max without pressing them to early commercialisation because there are hazards in early commercialisation and many a good project has really been destroyed by the commercial partners.
ALEX WHISSON, SON: There was a very nasty and prolonged court case involving my dad’s Needlesleeve invention which basically involved some of his former business associates laying claim to his inventions. And even though he won that case actually on three separate occasions, it has left him a bit bitter.
PHILLIP ADAMS, FRIEND: The saddest thing for Max is that his needle, his wonderful hypodermic that prevents needlestick injury, isn’t being manufactured to this day because of the problems he’s had in an out of courts. Great shame.
ANNEMARIE WHISSON, WIFE: I think Max is actually a renaissance man. He’s so interested in so many things. He’s interested in physics, biology, cancer, politics nature, birds. He loves reading poetry and he writes poetry himself and short stories. He plays the violin in the Fremantle Symphony Orchestra. He enjoys it immensely. Even when he’s very, very tired he always goes to rehearsal.
MAX WHISSON: For the last nine years Annemarie and I have lived in separate places. I think at a certain stage of life there is some sense in having a wife down the road. There were quite a lot of conflicts.
ALEX WHISSON, SON: My dad was always a workaholic and he’d often go on extended trips to haematology conferences, medical conferences, and never invite my mother on those trips. She felt excluded, I think, from more and more aspects of his life. And as well, truth be told, he had a wandering eye for other women. My dad’s inventions have cost a fortune in patents and that’s led to financial difficulties for the family, which has been tough, especially on my mum.
MARCUS WHISSON, SON: It has taken enormous emotional toll and it can be up and down with my parents’ relationship, but at the end of the day they’re most in love and really support one another.
ANNEMARIE WHISSON, WIFE: We see each other every day. He actually has got less difficult now. I think it makes all sense now in hindsight. ’94, ’95 he started to get sometimes quite aggressive, verbally, and short-tempered and then it developed even in a kind of paranoia as well. I was really very puzzled about it and I thought, what is going on? And sometimes you know he accused us of things which was completely irrational which he never had done before. And Marcus just said, “I think dad is going senile.”
ALEX WHISSON, SON: Strange things started happening with my dad’s brain. He’d be able to read the start of a paragraph but not the end of it. He couldn’t distinguish left from right, he’d get lost driving from Subiaco to Nedlands on a route that he’d travelled a thousand times before.
ANNEMARIE WHISSON, WIFE: And then again we said, “Please go to the doctor. We can’t do anything.” And he said very aggressively, “I don’t need your advice.”
MARCUS WHISSON, SON: It was August the 17th 2000, the day after my mother’s birthday. It was a blessing in disguise for him. My father was involved in an accident where he hit a parked ute and he was given a scan and they found a tumour the size of my fist, a huge tumour in the back of his head, pressing against his visual cortex.
ALEX WHISSON, SON: And suddenly it was like a revelation for all of us because we all realised sort of what had been happening with his brain over these past few years.
MARCUS WHISSON, SON: It was a benign tumour but they realised that they had to operate immediately because there was every chance that it would break through his skull.
MAX WHISSON: An incredibly, I tell you, extraordinarily skilful set of surgeons, got this whole thing out intact. And my whole brain kind of went, "Ah, now I can work again." It was quite amazing.
ALEX WHISSON, SON: The amount of energy my dad has is phenomenal. He’s 76 now, he still works probably 12, 14 hours a day. I have tremendous admiration for my dad’s inventions. It’s never just something trivial. It's the fact that they’re inventions that are all geared towards actually improving human welfare, improving the standards of life, the conditions of life. It’s never something like, I don’t know, a faster car or something that is just economically viable.
MAX WHISSON: I
suppose it’s occurred to me a little bit that I haven’t got
much time to do all the things that I really want to do. Do
I feel like an old man in a hurry? Yeah. My grandfather was
an irrigation controller in the little town of Dingee, just
not far from Bendigo in Victoria. So that I suppose gave me
an interest in water.
(Outdoors, standing near a dried up lake)
This was quite a lovely lake, a little lake, and I used to
visit it quite a lot, lots of birds came here, walk around
and see these beautiful things. It’s really tragic to see it
like this. You can’t look at this without being dreadfully
upset, especially knowing that it’s not just a one off and
it’s not really accidental. It’s because we’ve not taken
care of these things. The water table has gone down so that
the lake is worse because of that because everyone’s sucking
up water to keep their lawns healthy. The bores have gone
down deeper in Perth as in almost every city in the world.
I don’t really know where I get my ideas but I do read widely in scientific books and in things like "New Scientist". I do look very carefully at what has gone before. I’m not an expert on anything, but I throw things around and I sometimes kind of turn ideas upside down and you suddenly find you’ve got a really interesting answer that’s been staring people in the face for centuries, you know? After working on the Water Road for some time, I did some calculations which showed that there’s heaps of water in the air. And so I began to think, why bother with the sea water? So why not just collect water from the air and you can collect the water anywhere, in any small community or out in the desert or on the coast, wherever you want.
PHILLIP ADAMS, FRIEND: The water that’s in the air goes up for about a hundred miles, constantly replenished by evaporation from the ocean. Water is constantly extracted from the air in the form of dew. The technology of extracting it is known. The American army, for example, uses great thundering diesel machines to pull it out of the air, but that’s not very appropriate technology for a world suffering climate change. Max thinks, no, no, no, I can use the air to produce the power to produce the water.
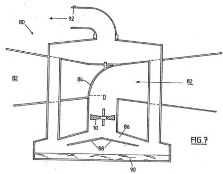
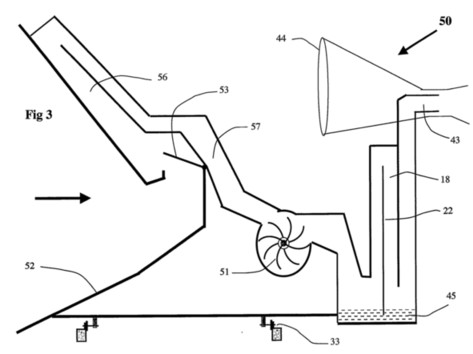
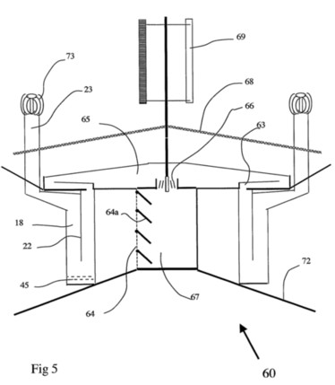
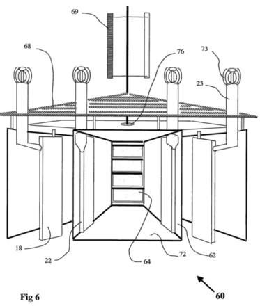
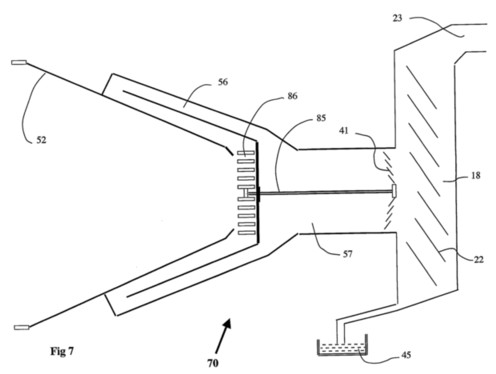
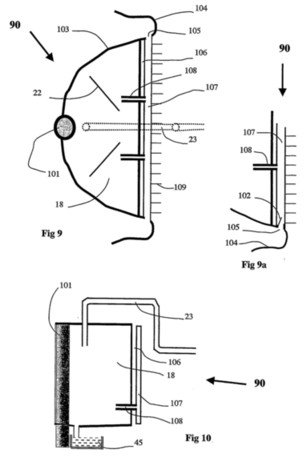
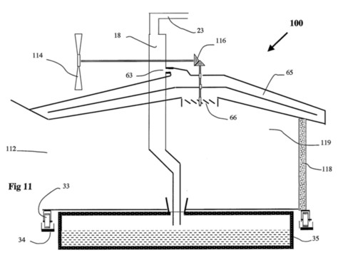
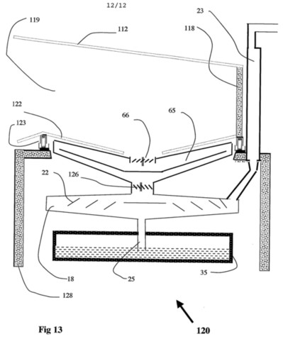
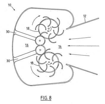
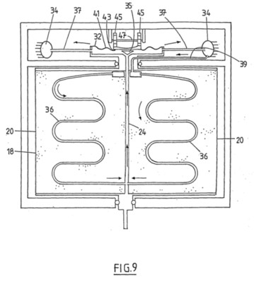
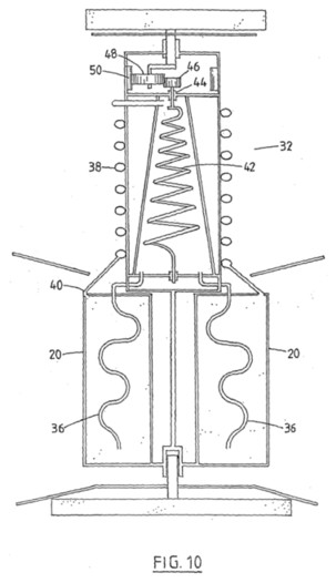
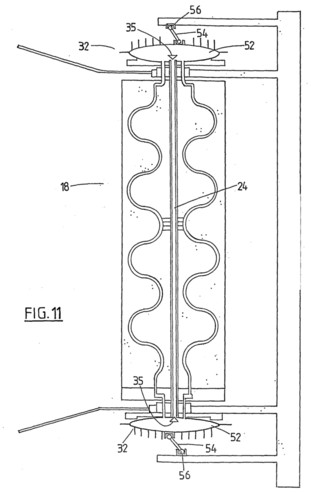
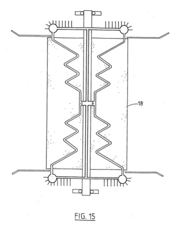
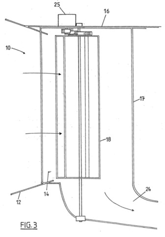
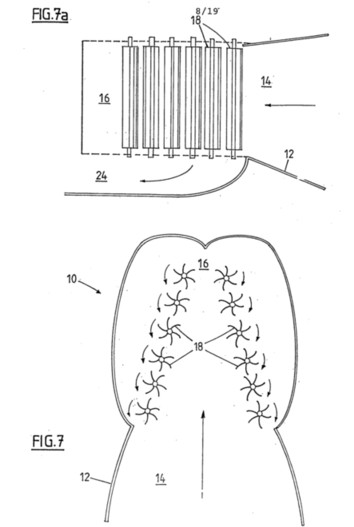
MAX WHISSON: The key to the process is to refrigerate the air as quickly as possible so that water separates from the air and condenses as drops which will run down into a collection tank.
The best place to remove heat quickly is as the air hits a windmill. Now existing windmills did not work out at all well so I invented a new one and I’ve arranged to have it refrigerated so that as soon as the wind hits that windmill it gets cooled.
PHILLIP ADAMS, FRIEND: The astonishing thing is if you even breathe near one of Max’s windmills, the windmill starts spinning furiously. And the theory is, the more air you can pass through that windmill, the more air is available for cooling and for dispensing the water within it. So it’s a very elegant, very simple but tricky idea.
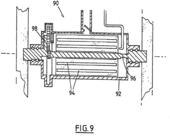
MAX WHISSON: There was a point where I had a bit of a hitch. I could achieve fairly rapid condensation of water on a cold plate but it would just stick as little droplets and not run off the plate quickly so that water could be collected. And then I came across this little chap, the little beetle called Stenocara. It’s quite amazing how creatures over millions of years evolve clever techniques which are ahead of us.
COLIN BARBOUTIS, BUSINESS PARTNER: I was at Max’s house one day, and Max said, "Well, if I tell you, you’re going to think I’m completely mad." And we had the discussion about the little African beetle that pops out of the sand in the early morning, does a headstand, faces his tummy into the breeze, sits there most of the day and a little droplet of water collects on the fibres on his tummy, runs down his nose and into his mouth and he’s back into his burrow. So, he’s self sufficient in water. And he said, “See, I told you you’d think I was mad.” And I said, “Well I actually don’t know that you’re mad, tell me a little bit more.” And he went into more detail about how he’d been thinking about this for a little while and that it was do-able. He said, "Often the simplest things in this world are the hardest to invent."
MAX WHISSON: Observing nature has taught me a lot. Now I have a surface on the plates which is very like the surface on this little beetle, the water touches the plates and just runs quickly off. And so the little beetle has helped a great deal and I’d like to thank him.
COLIN BARBOUTIS, BUSINESS PARTNER: I believe it will take us another 12 months to fully develop this unit, to test it, to see if the working prototypes do work. I guess Max is a bit of a crackpot but then again, you'd have to be to come up with some of these wonderful inventions. I’ve put my money on that one out there. I think this water project is something that's very unique. I absolutely believe in Max’s abilities and have blind faith that he can do this and he'll get it right. I may be wrong but that’s my thought.
PHILLIP ADAMS, FRIEND: I’m a great enthusiast for the theory of the windmill, and I write a newspaper column about my old friend’s bright new idea. And in all my born days in over 50 years of writing columns, rarely seen a response like it - a couple of thousand, a couple of thousand rapturous emails, some sceptical, but mostly thrilled to the back teeth, from every nook and cranny on the planet. From the Middle East, from Venezuela, from Russia, from India, everyone thinks this is it.
SEAN BLOCKSIDGE, WINE COMPANY MANAGER: Sustainable farming’s something that we’re looking at more and more. It’s an imperative, particularly as a wine business. Certainly we do have some fairly good, consistent rainfall but we’re certainly seeing decreases. We’ve looked at the more traditional sources of water in the past. One thing Margaret River doesn’t have a shortage of is wind and certainly Max Whisson’s invention is something worth investigating. We’re also regenerating large tracts of land around the estate and we don’t necessarily have the capacity to irrigate re-vegetation projects, so to be able to put one of these windmills out there and have it producing water would be fantastic.
PHILLIP ADAMS, FRIEND: I’ve got a feeling there are many Max Whissons around. At the moment of course he’s tilting at his windmills, a bit like Don Quixote, because governments are remarkably uninterested, but everyone else is.
MAX WHISSON: The question whether the Water Road idea is now redundant because of the Water Windmill is one that several people have asked. I see the Water Road as a much more practical national or large-scale water producing system.
PHILLIP ADAMS, FRIEND: And provided Max can live another 10 years and work out a few little minor details, it’s going to be fantastic. A freeway, not just a Water Road, a freeway of fresh water - wouldn’t that be fantastic? And Max wouldn’t even want to charge toll, so it would be a freeway not a tollway.
ANNEMARIE WHISSON, WIFE: I think I would quite like to live with Max again and I think he probably would like to live with me. I still love him. It’s just, it’s a different love, after, my goodness, forty years. You know, we were incredibly passionately in love but it’s, it has become a very comfortable love.
MAX WHISSON:
Certainly I feel bad that I haven’t provided a secure life.
I suppose, yeah, I probably haven’t been a perfect husband
or father. But I think it’s important to follow your geist,
your spirit, what you think you’re good at.





















































